TOP
|
特許
|
意匠
|
商標
特許ウォッチ
Twitter
他の特許を見る
10個以上の画像は省略されています。
公開番号
2025095555
公報種別
公開特許公報(A)
公開日
2025-06-26
出願番号
2023211636
出願日
2023-12-15
発明の名称
熱交換器
出願人
マレリ株式会社
代理人
弁理士法人後藤特許事務所
主分類
F28F
3/08 20060101AFI20250619BHJP(熱交換一般)
要約
【課題】小型化と耐久性とを両立させる熱交換器を提供する。
【解決手段】熱交換器は、平行に積層される、第1流体が流れる第1流路10Aと第2流体が流れる第2流路10Bとを交互に形成するプレート(第1プレート11、第2プレート12)と、プレートの上部に固定され、プレートよりも厚さが大きいサポートプレート20と、を備える。サポートプレート20には、第1流路10Aに連通する第1流体入口及び第1流体出口、並びに、第2流路10Bに連通する第2流体入口25及び第2流体出口が備えられ、プレートは平面部と、平面部の周囲に立設する壁部とを有し、サポートプレート20はプレートの壁部に内接する周囲部211を有し、周囲部211は壁部に積層方向に線で接し、当該接する箇所から離間する方向に湾曲する面取部213を有する。
【選択図】図3
特許請求の範囲
【請求項1】
第1流体と第2流体との間で熱交換を行う熱交換器であって、
間隔をあけて平行に積層され、前記第1流体が流れる第1流路と前記第2流体が流れる第2流路とを交互に形成する複数のプレートと、
積層方向の端部にて前記プレートに固定され、前記第1流路に連通する第1流体入口及び第1流体出口、並びに、前記第2流路に連通する第2流体入口及び第2流体出口を有し、前記プレートよりも厚さが大きいサポートプレートと、
を備え、
前記プレートは、平面部と、前記平面部の周囲に立設する壁部とを有し、
前記サポートプレートは、前記プレートの前記壁部に内接する周囲部を有し、
前記周囲部は、前記壁部に線接触する接触部と、前記接触部から離間するように設けられる面取部と、を有する、
熱交換器。
続きを表示(約 540 文字)
【請求項2】
請求項1に記載の熱交換器であって、
前記サポートプレートは、前記積層方向で同一の厚さに形成される、
熱交換器。
【請求項3】
請求項1に記載の熱交換器であって、
前記周囲部は、前記プレートの前記壁部に液密にろう付けされる、
熱交換器。
【請求項4】
請求項3に記載の熱交換器であって、
前記サポートプレートと前記プレートとの間に前記第1流路又は前記第2流路が形成される、
熱交換器。
【請求項5】
請求項1に記載の熱交換器であって、
前記プレートは、
前記第1流体入口、前記第1流体出口、前記第2流体入口及び前記第2流体出口にそれぞれ連通する連通孔を備え、
前記連通孔は、
隣り合う前記プレートとの間に形成される前記第1流路又は前記第2流路に連通しない場合に、隣り合う前記プレートの前記連通孔に接合する円環部と、
隣り合う前記プレートとの間に形成される前記第1流路又は前記第2流路に連通する場合に、隣り合う前記プレートの前記連通孔の外周側で当該プレートに接合するオフセット部と、
を備える、
熱交換器。
発明の詳細な説明
【技術分野】
【0001】
本発明は、熱交換器に関する。
続きを表示(約 1,500 文字)
【背景技術】
【0002】
特許文献1には、伝熱プレートが交互に積層されて、それらの間に第1流体が流れる第1流路と第2流体が流れる第2流路とが交互に配置される熱交換器において、上部に補強プレートが固定され、この補強プレートに流体の出入口となる配管が固定される構成が開示されている。
【先行技術文献】
【特許文献】
【0003】
特許第6949250号公報
【発明の概要】
【発明が解決しようとする課題】
【0004】
熱交換器を小型化しつつ熱交換効率を向上させるためには、流体の出入り口となる配管を、できるだけ熱交換器の四隅に配置することが望ましい。一方で、特許文献1に記載のように、伝熱プレートの上部に補強プレートを固定する構造では、配管が固定される四隅にまで補強プレートを配置することが難しいため、配管が固定される伝熱プレートが構造的に弱くなり、耐久性に問題が発生する可能性がある。
【0005】
本発明は、上記の点に鑑みてなされたものであり、小型化と耐久性とを両立させることができる熱交換器を提供することを目的とする。
【課題を解決するための手段】
【0006】
本発明のある態様によれば、第1流体と第2流体との間で熱交換を行う熱交換器であって、間隔をあけて平行に積層され、第1流体が流れる第1流路と第2流体が流れる第2流路とを交互に形成する複数のプレートと、積層方向の端部にてプレートに固定され、第1流路に連通する第1流体入口及び第1流体出口、並びに、第2流路に連通する第2流体入口及び第2流体出口を有し、プレートよりも厚さが大きいサポートプレートと、備え、プレートは、平面部と、平面部の周囲に立設する壁部とを有し、サポートプレートは、プレートの壁部に内接する周囲部を有し、周囲部は、壁部に線接触する接触部と、接触部から離間するように設けられる面取部と、を有する。
【発明の効果】
【0007】
上記態様では、積層されるプレートの上部に、厚さが大きいサポートプレートを備え、接触部が壁部に対して線接触する。これにより、ろう付け時に面取部においてプレートの壁部に対して適切にフィレットが生成されることで、確実にろう付けを行うことが可能となる。従って、配管をサポートプレートの四隅に配置することで熱交換器を小型化できると共に、厚さが大きいサポートプレートをプレートの上部に確実に固定させることができるので、熱交換器の耐久性を向上できる。
【図面の簡単な説明】
【0008】
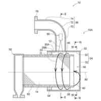
図1は、本発明の実施形態に係る熱交換器の正面図である。
図2は、熱交換器の速面図である。
図3は、図2におけるIII-III断面図である。
図4は、第1プレート及び第2プレートの説明図である。
図5は、サポートプレートの説明図である。
図6Aは、サポートプレートの周囲部の説明図である。
図6Bは、サポートプレートの周囲部の説明図である。
図7Aは、サポートプレートの周囲部の説明図である。
図7Bは、サポートプレートの周囲部の説明図である。
【発明を実施するための形態】
【0009】
以下、図面を参照して、本発明の実施形態に係る熱交換器1について説明する。
【0010】
まず、図1及び図2を参照して、熱交換器1の全体構成について説明する。図1は、本発明の実施形態に係る熱交換器1の正面図であり、図2は、熱交換器1の平面図である。
(【0011】以降は省略されています)
この特許をJ-PlatPat(特許庁公式サイト)で参照する
関連特許
マレリ株式会社
消音器
2日前
マレリ株式会社
流路切換弁
2日前
マレリ株式会社
排気ガス処理装置
1か月前
マレリ株式会社
排気ガス処理装置及び混合装置
2日前
マレリ株式会社
熱交換器
11日前
個人
排熱回収装置
2か月前
個人
熱交換装置
1日前
個人
熱交換装置
4か月前
ホーコス株式会社
熱交換ユニット
8か月前
三恵技研工業株式会社
熱交換器
6か月前
三恵技研工業株式会社
熱交換器
6か月前
住友精密工業株式会社
熱交換器
12か月前
株式会社パイオラックス
熱交換器
8か月前
アンリツ株式会社
検査装置
5か月前
アンリツ株式会社
検査装置
5か月前
日産自動車株式会社
熱交換器
7か月前
株式会社ティラド
ラジエータ
8か月前
スズキ株式会社
熱交換器
11か月前
株式会社アイシン
水噴射冷却システム
8か月前
新光電気工業株式会社
蓄熱装置
1か月前
個人
熱交換器
11か月前
株式会社アイシン
熱交換器
4か月前
栗田工業株式会社
冷却塔システム
3か月前
株式会社デンソー
熱交換器
5か月前
サンデン株式会社
熱交換器
6か月前
栗田工業株式会社
冷却塔システム
8か月前
株式会社デンソー
熱交換器
4か月前
サンデン株式会社
熱交換器
8か月前
サンデン株式会社
熱交換器
8か月前
サンデン株式会社
熱交換器
6か月前
株式会社デンソー
熱交換器
4か月前
株式会社デンソー
熱交換器
3か月前
サンデン株式会社
熱交換器
8か月前
ZACROS株式会社
熱交換装置
6か月前
日新電機株式会社
化学蓄熱反応器
9か月前
株式会社デンソー
熱交換器
11か月前
続きを見る
他の特許を見る