TOP
|
特許
|
意匠
|
商標
特許ウォッチ
Twitter
他の特許を見る
10個以上の画像は省略されています。
公開番号
2025095361
公報種別
公開特許公報(A)
公開日
2025-06-26
出願番号
2023211303
出願日
2023-12-14
発明の名称
デバイス、デバイスの制御方法およびプログラム
出願人
キヤノン株式会社
代理人
個人
,
個人
,
個人
主分類
G06K
7/10 20060101AFI20250619BHJP(計算;計数)
要約
【課題】デバイスが対応品のNFCタグから情報を読み取った場合、適切な処理を行うことができる技術を提供する。
【解決手段】デバイス101は、対応品201と組み合わせて使用され得るデバイスである。デバイスは、デバイスと対応品とが組み合わされたことを検知し、対応品が有するNFC(Near Field Communication)タグの検出を行い、検出されたNFCタグから1以上のタグ情報を読み取る。そしてデバイスは、所定の条件を満たすか否かに応じて、読み取られた前記1以上のタグ情報に関する処理方法を切り換えて処理を実行する。
【選択図】図7
特許請求の範囲
【請求項1】
対応品と組み合わせて使用され得るデバイスであって、
前記デバイスと前記対応品とが組み合わされたことを検知する検知手段と、
前記対応品が有するNFC(Near Field Communication)タグの検出を行い、検出された前記NFCタグから1以上のタグ情報を読み取る読取手段と、
所定の条件を満たすか否かに応じて、読み取られた前記1以上のタグ情報に関する処理方法を切り換えて処理を実行する処理手段と、を有する
ことを特徴とするデバイス。
続きを表示(約 1,100 文字)
【請求項2】
前記1以上のタグ情報は、前記デバイスが前記対応品を認証するための認証情報を含み、
前記処理手段は、前記認証情報に基づいて前記対応品の認証処理を実行する
ことを特徴とする請求項1に記載のデバイス。
【請求項3】
前記所定の条件は、
前記検知手段により前記デバイスと前記対応品との組み合わせが検知されている第1の条件と、
前記認証処理により前記対応品が認証されている状態である第2の条件と、を含む
ことを特徴とする請求項2に記載のデバイス。
【請求項4】
前記処理手段は、
前記第1の条件および前記第2の条件を満たす場合、または前記第1の条件を満たさない場合、前記認証処理を実行せず、
前記第1の条件を満たし、かつ前記第2の条件を満たさない場合、前記認証処理を実行する
ことを特徴とする請求項3に記載のデバイス。
【請求項5】
前記処理手段は、前記第2の条件を満たしている場合に、前記第1の条件を満たさない場合、前記対応品の認証を取り消す
ことを特徴とする請求項3に記載のデバイス。
【請求項6】
送電装置から無線で受電する受電手段と、
前記デバイスが前記送電装置から受電可能である状態を検出する状態検出手段と、をさらに有し、
前記所定の条件は、前記デバイスが前記送電装置から受電可能な状態である第3の条件をさらに含む
ことを特徴とする請求項3に記載のデバイス。
【請求項7】
前記処理手段は、
前記第1の条件、前記第2の条件、および前記第3の条件を満たす場合、または前記第3の条件を満たさない場合、前記認証処理を実行せず、
前記第1の条件および前記第3の条件を満たし、かつ前記第2の条件を満たさない場合、前記認証処理を実行する
ことを特徴とする請求項6に記載のデバイス。
【請求項8】
前記処理手段は、前記第2の条件および前記第3の条件を満たしている場合に、前記第1の条件を満たさない場合、前記対応品の認証を取り消す
ことを特徴とする請求項7に記載のデバイス。
【請求項9】
前記処理手段は、前記送電装置との間の無線電力伝送処理に関する設定を行う
ことを特徴とする請求項6に記載のデバイス。
【請求項10】
前記処理手段は、前記第1の条件および前記第2の条件に応じて、WPC(Wireless Power Consortium)規格におけるパワープロファイルを設定する
ことを特徴とする請求項6に記載のデバイス。
(【請求項11】以降は省略されています)
発明の詳細な説明
【技術分野】
【0001】
本開示は、近距離無線通信に利用されるタグを持つ対応品と組み合わされて使用され得るデバイスの技術に関する。
続きを表示(約 2,400 文字)
【背景技術】
【0002】
近距離無線通信のための規格として、NFC(Near Field Communication)規格が知られている。NFC規格において、搬送波を送電し当該搬送波に変調をかけることで、通信相手となる機器を検出するためのメッセージを送信することをポーリング(polling)と言う。ポーリングは、NFC規格のリーダライタという機能を有する装置により送信される。また、リーダライタが送信するポーリングを受信し、リーダライタが送電する搬送波に負荷変調をかけてこのポーリングに応答する機能を有する機器をNFCタグと言う。NFC規格でやり取りされる情報は、NDEF(NFC Data Exchange Format)と呼ばれるデータ形式に従う。複数のNDEF情報が単一のタグに設定されることも可能であり、読取機器は、一回のNFC通信でNFCタグに設定された複数のNDEF情報をNFCタグから読み取ることができる。読み取ったNDEF情報をどう処理するかは機器に任されている。
【0003】
近年、NFCを物品の認証に使用する技術が普及している。特に、デバイスに取り付けられたり組み合わせて使用されたりするアクセサリや部品などが、そのデバイスに対応したものであるかを確認するために、NFCによる認証技術が開発されている。
【0004】
特許文献1には、RFID(Radio Frequency IDentification)タグを備える携帯電話の構造に関する技術が開示されている。具体的には、RFID規格に基づくリーダライタのアンテナが、携帯電話本体の電池パックカバーに設けられる。そして、携帯電話の本体内に配置された、当該リーダライタの回路基板が、電池パックに取り付けられたRFIDタグから、電池パックの真贋(純正品か否か)を判定するためのIDを読み取る。
【先行技術文献】
【特許文献】
【0005】
特開2012-134796号公報
【発明の概要】
【発明が解決しようとする課題】
【0006】
デバイスと組み合わされて使用され得るアクセサリ品などの、デバイスに対応した対応品がNFCタグを有する場合、デバイスは単にNFCタグが持つ情報を読み取るだけでなく、状況に応じてNFCタグに対して適切な処理を実行することが望まれる。
【0007】
本開示は、対応品のNFCタグから情報を読み取った場合、適切な処理を行うことができる技術を提供する。
【課題を解決するための手段】
【0008】
本開示の一形態に係るデバイスは、対応品と組み合わせて使用され得るデバイスである。前記デバイスは、前記デバイスと前記対応品とが組み合わされたことを検知する検知手段と、前記対応品が有するNFC(Near Field Communication)タグの検出を行い、検出された前記NFCタグから1以上のタグ情報を読み取る読取手段と、所定の条件を満たすか否かに応じて、読み取られた前記1以上のタグ情報に関する処理方法を切り換えて処理を実行する処理手段と、を有することを特徴とする。
【発明の効果】
【0009】
本開示によれば、デバイスが対応品のNFCタグから情報を読み取った場合、適切な処理を行うことができる。
【図面の簡単な説明】
【0010】
第1実施形態におけるシステムの構成例を示す図である。
デバイスに対応品が取り付けられた状態のシステムの構成例を示す図である。
デバイスの構成例を示す図である。
対応品の構成例を示す図である。
第1実施形態におけるデバイスによる処理の概略を示すフローチャートである。
図5のNFCタグ検出/認証フローの処理の詳細を示すフローチャートである。
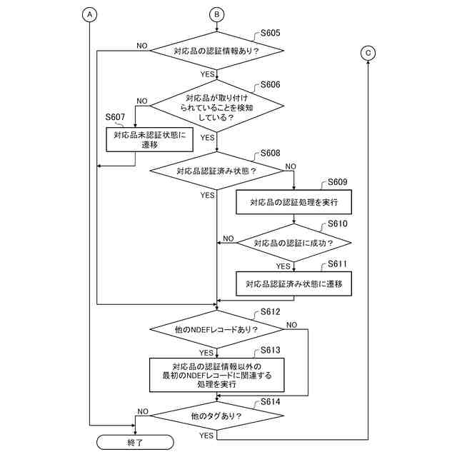
図6の続きを示すフローチャートである。
図6におけるNFCタグ検出処理の詳細を示すフローチャートである。
NFCタグに記録されたNDEF情報を示す図である。
第1実施形態のシステム全体の処理を示すシーケンス図である。
第2実施形態におけるシステムの構成例を示す図である。
受電装置に対応品が取り付けられた状態のシステムの構成例を示す図である。
送電装置に受電装置が載置された状態におけるシステムの構成例を示す図である。
受電装置の構成例を示す図である。
送電装置の構成例を示す図である。
第2実施形態における、受電装置の処理の概略を示すフローチャートである。
受電装置の無線電力伝送の処理の詳細を示すフローチャートである。
無線電力伝送事前設定処理を示すフローチャートである。
第2実施形態のシステム全体の処理を示すシーケンス図である。
図19の続きを示すシーケンス図である。
第3実施形態におけるNFCタグ検出/認証フローの処理の詳細を示すフローチャートである。
受電装置の無線電力伝送の処理の詳細を示すフローチャートである。
第3実施形態のシステム全体の処理を示すシーケンス図である。
第4実施形態における、受電装置の無線電力伝送の処理の詳細を示すフローチャートである。
要求電力選定処理を示すフローチャートである。
システム全体の処理を示すシーケンス図である。
図6、7に示すNFCタグ検出/認証フローの処理の変形例を示すフローチャートである。
図21に示すNFCタグ検出/認証フローの処理の詳細を示すフローチャートである。
【発明を実施するための形態】
(【0011】以降は省略されています)
この特許をJ-PlatPat(特許庁公式サイト)で参照する
関連特許
他の特許を見る