TOP
|
特許
|
意匠
|
商標
特許ウォッチ
Twitter
他の特許を見る
10個以上の画像は省略されています。
公開番号
2025095243
公報種別
公開特許公報(A)
公開日
2025-06-26
出願番号
2023211136
出願日
2023-12-14
発明の名称
素子基板、及び液体吐出ヘッド
出願人
キヤノン株式会社
代理人
弁理士法人秀和特許事務所
主分類
B41J
2/14 20060101AFI20250619BHJP(印刷;線画機;タイプライター;スタンプ)
要約
【課題】エネルギ発生効率の低下を抑制する液体吐出ヘッド用の素子基板を提供する。
【解決手段】液体を吐出する液体吐出ヘッド用の素子基板1は、発熱により液体を吐出するためのエネルギを発生させる発熱抵抗素子2と、発熱抵抗素子2に電力を供給するための配線層7と、発熱抵抗素子2に接続される第1接続部8Atと、配線層7に接続される第2接続部8Abとを有し、発熱抵抗素子2と配線層7とを電気的に接続する接続部材8と、を備え、接続部材8は、配線層7側の先端部が枝分かれして延びており、複数の第2接続部8Abで配線層7に接続される。
【選択図】図6
特許請求の範囲
【請求項1】
液体を吐出する液体吐出ヘッド用の素子基板であって、
発熱により液体を吐出するためのエネルギを発生させる発熱抵抗素子と、
前記発熱抵抗素子に電力を供給するための配線層と、
前記発熱抵抗素子に接続される第1接続部と、前記配線層に接続される第2接続部とを有し、前記発熱抵抗素子と前記配線層とを電気的に接続する接続部材と、
を備え、
前記接続部材は、前記配線層側の先端部が枝分かれして延びており、複数の前記第2接続部で前記配線層に接続されることを特徴とする素子基板。
続きを表示(約 850 文字)
【請求項2】
前記接続部材の前記第2接続部の数は、前記第1接続部の数より多いことを特徴とする請求項1に記載の素子基板。
【請求項3】
前記接続部材は、複数の前記第2接続部のそれぞれから前記発熱抵抗素子に向かうにつれて徐々に断面積が大きくなるテーパー形状を有することを特徴とする請求項1に記載の素子基板。
【請求項4】
前記第1接続部の面積は、前記第2接続部の面積より大きいことを特徴とする請求項1に記載の素子基板。
【請求項5】
前記第1接続部の面積は、複数の前記第2接続部の面積の和より大きいことを特徴とする請求項1に記載の素子基板。
【請求項6】
前記第2接続部は、前記素子基板の平面視において、その全域が前記第1接続部と重なる位置に配置されていることを特徴とする請求項1に記載の素子基板。
【請求項7】
前記接続部材は、前記素子基板の平面視において、前記発熱抵抗素子の第1方向の第1端部と第2端部にそれぞれ設けられ、
前記第1端部と前記第2端部のそれぞれにおいて、複数の前記第2接続部は、前記第1方向と交差する第2方向に並んで配置されていることを特徴とする請求項1に記載の素子基板。
【請求項8】
前記第1端部と前記第2端部のそれぞれにおいて、複数の前記接続部材が前記第2方向に並んで設けられていることを特徴とする請求項7に記載の素子基板。
【請求項9】
前記第2方向に並んで設けられる複数の前記接続部材の前記第2接続部の総数は、前記第1接続部の総数より多いことを特徴とする請求項8に記載の素子基板。
【請求項10】
前記第2方向に並んで設けられる複数の前記接続部材において、それぞれの前記第1接続部の面積の和は、それぞれの前記第2接続部の面積の和より大きいことを特徴とする請求項8に記載の素子基板。
(【請求項11】以降は省略されています)
発明の詳細な説明
【技術分野】
【0001】
本発明は、液体吐出ヘッド用の素子基板に関する。
続きを表示(約 1,700 文字)
【背景技術】
【0002】
液体を吐出する液体吐出ヘッドを備えた装置として、記録媒体にインクを吐出して記録を行う記録装置が知られている。こうした記録装置における液体吐出方式の1つとしてサーマル方式が知られている。サーマル方式では、例えば、液体吐出ヘッドの素子基板に設けられる発熱抵抗素子が発生する熱エネルギにより液体の発泡現象を誘発し、これを液体の吐出に利用する。
【0003】
液体吐出ヘッドの素子基板としては、発熱抵抗素子に加えて、発熱抵抗素子に電流を供給するための配線層と、発熱抵抗素子と配線層を電気的に接続する接続部材とを備える構成が知られている。特許文献1には、接続部材としてタングステン等で形成されたプラグを利用する構成が開示されている。
【先行技術文献】
【特許文献】
【0004】
特開2016-137705号公報
【発明の概要】
【発明が解決しようとする課題】
【0005】
しかし、上述の構成においては、複数の接続部材が互いに間隔を置いて位置しているため、発熱抵抗素子における接続部材近傍の電流密度が疎となり、エネルギ発生効率が低下するおそれがある。
【0006】
上述の課題を鑑みて、本発明は、エネルギ発生効率の低下を抑制する液体吐出ヘッド用の素子基板を提供することを目的とする。
【課題を解決するための手段】
【0007】
上述の目的を達成するため、本発明の素子基板は、
液体を吐出する液体吐出ヘッド用の素子基板であって、
発熱により液体を吐出するためのエネルギを発生させる発熱抵抗素子と、
前記発熱抵抗素子に電力を供給するための配線層と、
前記発熱抵抗素子に接続される第1接続部と、前記配線層に接続される第2接続部とを有し、前記発熱抵抗素子と前記配線層とを電気的に接続する接続部材と、
を備え、
前記接続部材は、前記配線層側の先端部が枝分かれして延びており、複数の前記第2接続部で前記配線層に接続されることを特徴とする。
また、上述の目的を達成するため、本発明の素子基板は、
液体を吐出する液体吐出ヘッド用の素子基板であって、
発熱により液体を吐出するためのエネルギを発生させる発熱抵抗素子と、
前記発熱抵抗素子に電力を供給するための配線層と、
前記発熱抵抗素子に接続される第1接続部と、前記配線層に接続される第2接続部とを有し、前記発熱抵抗素子と前記配線層とを電気的に接続する接続部材と、
を備え、
前記第1接続部の面積は、前記第2接続部の面積より大きいことを特徴とする。
【発明の効果】
【0008】
本発明によれば、エネルギ発生効率の低下を抑制する液体吐出ヘッド用の素子基板を提供できる。
【図面の簡単な説明】
【0009】
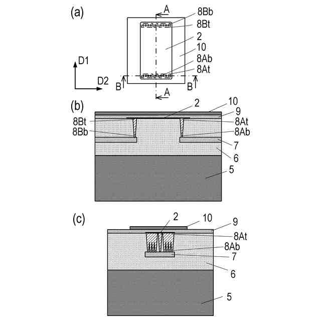
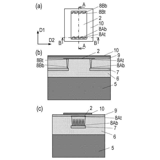
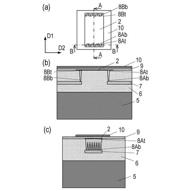
記録装置の外観斜視図である。
記録ヘッドの説明図である。
素子基板の平面図と部分拡大図である。
比較例1に係る素子基板の構成を示す図である。
比較例2に係る素子基板の構成を示す図である。
実施例1に係る素子基板の構成を示す図である。
実施例2に係る素子基板の構成を示す図である。
実施例3に係る素子基板の構成を示す図である。
プラグの製造方法の説明図である。
【発明を実施するための形態】
【0010】
以下に図面を参照して、この発明を実施するための形態を、実施例に基づいて例示的に詳しく説明する。なお、この実施の形態に記載されている構成部品の寸法、材質、形状それらの相対配置等は、発明が適用される装置の構成や各種条件により適宜変更されるべきものである。すなわち、この発明の範囲を以下の実施の形態に限定する趣旨のものではない。
(【0011】以降は省略されています)
この特許をJ-PlatPat(特許庁公式サイト)で参照する
関連特許
他の特許を見る