TOP
|
特許
|
意匠
|
商標
特許ウォッチ
Twitter
他の特許を見る
10個以上の画像は省略されています。
公開番号
2025094759
公報種別
公開特許公報(A)
公開日
2025-06-25
出願番号
2023210503
出願日
2023-12-13
発明の名称
印刷装置、印刷方法、及びコンピュータプログラム
出願人
ブラザー工業株式会社
代理人
個人
,
個人
主分類
B41J
2/015 20060101AFI20250618BHJP(印刷;線画機;タイプライター;スタンプ)
要約
【課題】印刷品質を向上させることができる印刷装置、印刷方法、及びコンピュータプログラムを提供する。
【解決手段】本開示に係る印刷装置は、ノズルから吐出された液体によって印刷媒体に印刷する印刷装置であって、少なくとも第1の駆動波形の第1部分及び前記第1部分の次の第2部分並びに第2の前記駆動波形の第3部分及び前記第3部分の次の第4部分が、前記第1部分と前記第2部分との間に前記第3部分があり、前記第3部分と前記第4部分との間に前記第2部分があるように並ぶ時分割多重信号を出力する出力部(アンプ53等)と、前記出力部が出力した前記時分割多重信号から一の前記駆動波形の各部分を、各部分の振幅に基づくタイミングで分離する分離部(スイッチ群54)と、前記分離部が分離した各部分に対応する分離波形信号に従って前記ノズルから前記液体を吐出させる駆動部(アクチュエータ88)とを備えることを特徴とする。
【選択図】図3
特許請求の範囲
【請求項1】
ノズルから吐出された液体によって印刷媒体に印刷する印刷装置であって、
少なくとも第1の駆動波形の第1部分及び前記第1部分の次の第2部分並びに第2の前記駆動波形の第3部分及び前記第3部分の次の第4部分が、前記第1部分と前記第2部分との間に前記第3部分があり、前記第3部分と前記第4部分との間に前記第2部分があるように並ぶ時分割多重信号を出力する出力部と、
前記出力部が出力した前記時分割多重信号から一の前記駆動波形の各部分を、各部分の振幅に基づくタイミングで分離する分離部と、
前記分離部が分離した各部分に対応する分離波形信号に従って前記ノズルから前記液体を吐出させる駆動部と
を備えることを特徴とする印刷装置。
続きを表示(約 1,600 文字)
【請求項2】
前記出力部は、前記時分割多重信号の電圧を増幅する増幅回路を有し、
前記分離部は、前記出力部と前記駆動部とを互いに結ぶ信号線を開閉するスイッチを有し、
前記スイッチは、各部分の分離を開始する際に閉じ、各部分の分離を終了する際に開き、
前記駆動部は、前記分離波形信号に従って駆動する圧電素子を有し、
前記増幅回路の過渡応答による各部分の過渡時間の最大値は、前記スイッチ及び前記圧電素子の応答時間より短いことを特徴とする請求項1に記載の印刷装置。
【請求項3】
前記時分割多重信号において前記第3部分の次に前記第2部分があり、前記第2部分の前記振幅が前記第3部分の前記振幅よりも大きい場合、
前記時分割多重信号から前記第2部分の分離を開始する開始タイミングは、前記第2部分の始端時点から前記第2部分の過渡時間の終了時点までの間に含まれる所定の時点であることを特徴とする請求項1又は2に記載の印刷装置。
【請求項4】
前記時分割多重信号において前記第3部分の次に前記第2部分があり、前記第2部分の前記振幅が前記第3部分の前記振幅に等しい場合、
前記時分割多重信号から前記第2部分の分離を開始する開始タイミングは、前記第2部分の始端時点であることを特徴とする請求項1又は2に記載の印刷装置。
【請求項5】
前記時分割多重信号において前記第3部分の次に前記第2部分があり、前記第2部分の前記振幅が前記第3部分の前記振幅よりも小さい場合、
前記時分割多重信号から前記第2部分の分離を開始する開始タイミングは、前記第2部分の始端時点から前記第2部分の過渡時間の終了時点までの間に含まれる所定の時点であることを特徴とする請求項1又は2に記載の印刷装置。
【請求項6】
前記第2部分の前記振幅が前記第1部分の前記振幅以上であるとき、
前記開始タイミングは、前記第2部分の前記過渡時間の終了時点であることを特徴とする請求項5に記載の印刷装置。
【請求項7】
前記出力部から前記分離部へ出力される前記時分割多重信号の電圧を検出する検出部を更に備え、
前記第2部分の前記振幅が前記第1部分の前記振幅より小さく、前記第3部分の前記振幅が前記第1部分の前記振幅より大きいとき、
前記開始タイミングは、前記検出部の検出結果が前記第1部分の前記振幅に対応する電圧以下になった時点であることを特徴とする請求項5に記載の印刷装置。
【請求項8】
前記第2部分の前記振幅が前記第1部分の前記振幅より小さく、前記第3部分の前記振幅が前記第1部分の前記振幅より小さいとき、
前記開始タイミングは、前記第2部分の前記始端時点であることを特徴とする請求項5に記載の印刷装置。
【請求項9】
一の前記駆動波形の各部分の分離を終了する終了タイミングは、各部分の過渡時間の終了時点以降、各部分の終端時点までの間に含まれる所定の時点であることを特徴とする請求項1又は2に記載の印刷装置。
【請求項10】
少なくとも第1の駆動波形の第1部分及び前記第1部分の次の第2部分並びに第2の前記駆動波形の第3部分及び前記第3部分の次の第4部分が、前記第1部分と前記第2部分との間に前記第3部分があり、前記第3部分と前記第4部分との間に前記第2部分があるように並ぶ時分割多重信号から分離された一の前記駆動波形の各部分に対応する分離波形信号に従って駆動されたノズルから吐出された液体によって印刷媒体に印刷する方法であって、
前記時分割多重信号から一の前記駆動波形の各部分を分離するタイミングは、各部分の振幅に基づくタイミングであることを特徴とする印刷方法。
(【請求項11】以降は省略されています)
発明の詳細な説明
【技術分野】
【0001】
本開示は印刷装置、印刷方法、及びコンピュータプログラムに関する。
続きを表示(約 1,900 文字)
【背景技術】
【0002】
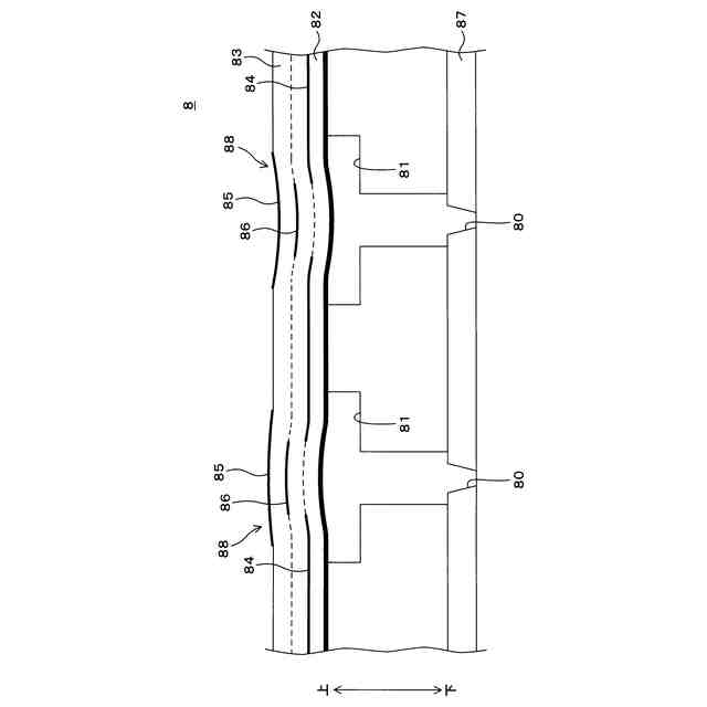
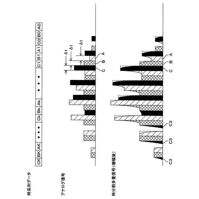
特許文献1に記載の印刷装置は、ノズルから吐出された液体によって印刷媒体に印刷する。印刷装置が備えるアクチュエータ(駆動部)はノズルを駆動し、アクチュエータに駆動されたノズルから液体が吐出される。
印刷装置が備えるアンプ(出力部)は時分割多重信号を出力する。時分割多重信号は、少なくとも第1の駆動波形の第1部分及び第2部分と、第2の駆動波形の第3部分及び第4部分とを含む。第1の駆動波形においては第1部分の次に第2部分があり、第2の駆動波形においては第3部分の次に第4部分がある。一方、時分割多重信号においては第1部分、第3部分、第2部分、第4部分がこの順に並ぶ。
【0003】
印刷装置が備えるスイッチ(分離部)は、アンプとアクチュエータとを互いに結ぶ信号線を開閉する。例えば第1の駆動波形の各部分を時分割多重信号から分離する場合、スイッチは第1の駆動波形の各部分の始端時点にて閉じ、終端時点までに開く。アクチュエータは、スイッチが時分割多重信号から分離した第1の駆動波形の各部分に対応する分離波形信号に従ってノズルから液体を吐出させる。
時分割多重信号を用いることにより、ノズルの待機時間を短縮することができる。
【先行技術文献】
【特許文献】
【0004】
特開2022-155438号公報
【発明の概要】
【発明が解決しようとする課題】
【0005】
各駆動波形の各部分はパルス波形を有し、時分割多重信号において一定の周期で並ぶ。しかしながら、時分割多重信号を出力するアンプの過渡応答により、時分割多重信号に含まれる各駆動波形の各部分に波形なまりが生じ得る。
引用文献1に記載の印刷装置の場合、各駆動波形の各部分は一定の周期で分離される。一定の周期での分離は簡便であるが、波形なまりが印刷品質に影響を及ぼす虞がある。
【0006】
本開示の目的は、印刷品質を向上させることができる印刷装置、印刷方法、及びコンピュータプログラムを提供することにある。
【課題を解決するための手段】
【0007】
本開示に係る印刷装置は、ノズルから吐出された液体によって印刷媒体に印刷する印刷装置であって、少なくとも第1の駆動波形の第1部分及び前記第1部分の次の第2部分並びに第2の前記駆動波形の第3部分及び前記第3部分の次の第4部分が、前記第1部分と前記第2部分との間に前記第3部分があり、前記第3部分と前記第4部分との間に前記第2部分があるように並ぶ時分割多重信号を出力する出力部と、前記出力部が出力した前記時分割多重信号から一の前記駆動波形の各部分を、各部分の振幅に基づくタイミングで分離する分離部と、前記分離部が分離した各部分に対応する分離波形信号に従って前記ノズルから前記液体を吐出させる駆動部とを備えることを特徴とする。
【0008】
本開示に係る印刷方法は、少なくとも第1の駆動波形の第1部分及び前記第1部分の次の第2部分並びに第2の前記駆動波形の第3部分及び前記第3部分の次の第4部分が、前記第1部分と前記第2部分との間に前記第3部分があり、前記第3部分と前記第4部分との間に前記第2部分があるように並ぶ時分割多重信号から分離された一の前記駆動波形の各部分に対応する分離波形信号に従って駆動されたノズルから吐出された液体によって印刷媒体に印刷する方法であって、前記時分割多重信号から一の前記駆動波形の各部分を分離するタイミングは、各部分の振幅に基づくタイミングであることを特徴とする。
【0009】
本開示に係るコンピュータプログラムは、少なくとも第1の駆動波形の第1部分及び前記第1部分の次の第2部分並びに第2の前記駆動波形の第3部分及び前記第3部分の次の第4部分が、前記第1部分と前記第2部分との間に前記第3部分があり、前記第3部分と前記第4部分との間に前記第2部分があるように並ぶ時分割多重信号から分離された一の前記駆動波形の各部分に対応する分離波形信号に従って駆動されたノズルから吐出された液体によって印刷媒体に印刷する印刷装置のためのコンピュータプログラムであって、前記時分割多重信号から一の前記駆動波形の各部分を分離するタイミングを、各部分の振幅に基づいて求める処理をコンピュータに実行させることを特徴とする。
【発明の効果】
【0010】
本開示の印刷装置、印刷方法、及びコンピュータプログラムによれば、印刷品質を向上させることができる。
【図面の簡単な説明】
(【0011】以降は省略されています)
この特許をJ-PlatPat(特許庁公式サイト)で参照する
関連特許
他の特許を見る