TOP
|
特許
|
意匠
|
商標
特許ウォッチ
Twitter
他の特許を見る
10個以上の画像は省略されています。
公開番号
2025092808
公報種別
公開特許公報(A)
公開日
2025-06-23
出願番号
2023208126
出願日
2023-12-11
発明の名称
半導体装置およびその製造方法
出願人
ルネサスエレクトロニクス株式会社
代理人
弁理士法人筒井国際特許事務所
主分類
H10D
84/80 20250101AFI20250616BHJP()
要約
【課題】半導体装置の信頼性を向上させる。
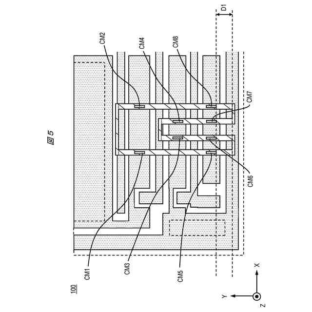
【解決手段】抵抗素子RgおよびトレンチTRは、平面視において閉じた経路を形成する。ゲートパッドGPと抵抗素子Rgとを電気的に接続する第1、第2コンタクト部材CM1、CM2と、ゲート配線GWと抵抗素子Rgとを電気的に接続する第3、第4コンタクト部材CM3、CM4と、第1導電性部材CE1と抵抗素子Rgとを電気的に接続する第5ないし第8コンタクト部材CM5ないしCM8とが設けられており、ゲートパッドGPから第1導電性部材CE1を経由してゲート配線GWへと至る電流経路が、複数のコンタクト部材CM1ないしCM8と抵抗素子Rgとによって形成される。第1導電性部材CE1は、第5ないし第8コンタクト部材CM5ないしCM8とともに、抵抗素子Rgによって形成される閉じた経路のうち、一部の区域に流れる電流を低減させるための迂回経路を形成する。
【選択図】図3
特許請求の範囲
【請求項1】
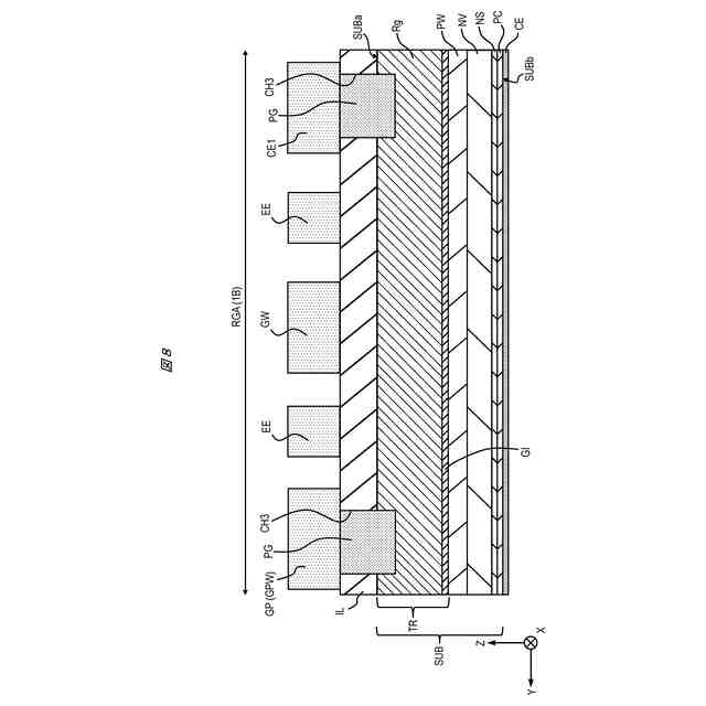
第1主面を有し、前記第1主面に形成されたウェル領域と
を有する半導体基板と、
前記第1主面上に形成された層間絶縁膜と、
前記層間絶縁膜上に形成されたゲートパッド、ゲート配線、および第1導電性部材と、
前記ウェル領域に形成され、平面視において閉じた経路を形成するトレンチの内部に絶縁膜を介して形成された抵抗素子と、
前記層間絶縁膜を貫通して前記抵抗素子に達する第1ないし第8コンタクト部材と
を有し、
前記抵抗素子は、
平面視において第1方向に延在し、平面視において前記第1方向と交差する第2方向に互いに離隔して配置された第1および第2延在部と、
前記第1延在部の一端と前記第2延在部の一端とを電気的に接続する第1接続部と、
前記第1延在部の他端と前記第2延在部の他端とを電気的に接続する第2接続部と
を有し、
前記第1および前記第2コンタクト部材は、各々、前記ゲートパッドと前記抵抗素子とを電気的に接続し、
前記第3および前記第4コンタクト部材は、各々、前記ゲート配線と前記抵抗素子とを電気的に接続し、
前記第5ないし前記第8コンタクト部材は、各々、前記第1導電性部材と前記抵抗素子とを電気的に接続する、半導体装置。
続きを表示(約 1,900 文字)
【請求項2】
前記第2接続部は、
前記第1方向に延在し、前記第2方向に互いに離隔して、且つ平面視において前記第1延在部と前記第2延在部との間に配置された、第3および第4延在部と、
前記第2方向に延在し、前記第3延在部の一端と前記第4延在部の一端とを電気的に接続する第5延在部と、
前記第2方向に延在し、前記第1延在部の他端と前記第3延在部の他端とを電気的に接続する第6延在部と、
前記第2方向に延在し、前記第2延在部の他端と前記第4延在部の他端とを電気的に接続する第7延在部と、
を有し、
前記第5コンタクト部材は、前記第1導電性部材と前記第1延在部とを電気的に接続し、前記第6コンタクト部材は、前記第1導電性部材と前記第3延在部とを電気的に接続し、前記第7コンタクト部材は、前記第1導電性部材と前記第4延在部とを電気的に接続し、前記第8コンタクト部材は、前記第1導電性部材と前記第2延在部とを電気的に接続する、請求項1に記載の半導体装置。
【請求項3】
前記第3コンタクト部材は、前記ゲート配線と前記第3延在部とを電気的に接続し、前記第4コンタクト部材は、前記ゲート配線と前記第4延在部とを電気的に接続する、請求項2に記載の半導体装置。
【請求項4】
前記第1ないし前記第4延在部の平面視における前記第2方向の幅は、前記第5ないし前記第7延在部の平面視における前記第1方向の幅よりも大きい、請求項2に記載の半導体装置。
【請求項5】
前記第5ないし前記第8コンタクト部材は、前記第6および前記第7延在部から、前記第1方向において少なくとも所定距離だけ離隔して配置されている、請求項2に記載の半導体装置。
【請求項6】
前記第1ないし前記第8コンタクト部材は、前記第1方向において所定範囲内の長さを有する、請求項1に記載の半導体装置。
【請求項7】
前記絶縁膜と、前記抵抗素子と、前記第1ないし前記第8コンタクト部材との組を複数有し、
各々の前記組は平面視において前記第2方向に互いに離隔して配置され、
前記ゲートパッドはゲートパッド配線を有し、前記ゲートパッド配線は、平面視において、前記複数の前記組の各々における前記第1および前記第2コンタクト部材に重なり、
前記ゲート配線は、平面視において、前記複数の前記組の各々における前記第3および前記第4コンタクト部材に重なり、
前記第1導電性部材は、平面視において、前記複数の前記組の各々における前記第5ないし前記第8コンタクト部材に重なる、請求項1に記載の半導体装置。
【請求項8】
前記層間絶縁膜上に形成された第2導電性部材と、
前記層間絶縁膜を貫通して前記抵抗素子に達する第9ないし第12コンタクト部材と
を更に有し、
前記第1接続部は、
前記第1方向に延在し、前記第2方向に互いに離隔して、且つ平面視において前記第1延在部と前記第2延在部との間に配置された、第8および第9延在部と、
前記第2方向に延在し、前記第1延在部の一端と前記第8延在部の一端とを電気的に接続する第10延在部と、
前記第2方向に延在し、前記第2延在部の一端と前記第9延在部の一端とを電気的に接続する第11延在部と、
前記第2方向に延在し、前記第8延在部の他端と前記第9延在部の他端とを電気的に接続する第12延在部と、
を有し、
前記第9コンタクト部材は、前記第2導電性部材と前記第1延在部とを電気的に接続し、前記第10コンタクト部材は、前記第2導電性部材と前記第8延在部とを電気的に接続し、前記第11コンタクト部材は、前記第2導電性部材と前記第9延在部とを電気的に接続し、前記第12コンタクト部材は、前記第2導電性部材と前記第2延在部とを電気的に接続する、請求項1に記載の半導体装置。
【請求項9】
前記ゲートパッドはゲートパッド配線を有し、前記ゲートパッド配線は、平面視において、前記第1方向に少なくとも第1所定長さの幅を有し、前記ゲート配線は、平面視において、前記第1方向に少なくとも第2所定長さの幅を有する、請求項1に記載の半導体装置。
【請求項10】
前記層間絶縁膜上に形成されたエミッタ電極と、
前記層間絶縁膜を貫通して前記ウェル領域に達するウェルコンタクト部材と
を更に有し、前記ウェルコンタクト部材は、前記エミッタ電極と前記ウェル領域とを電気的に接続する、請求項1に記載の半導体装置。
(【請求項11】以降は省略されています)
発明の詳細な説明
【技術分野】
【0001】
本発明は、半導体装置およびその製造方法に関し、特に、ゲートパッドとゲート配線とを電気的に接続する抵抗素子を備えた半導体装置およびその製造方法に関する。
続きを表示(約 1,900 文字)
【背景技術】
【0002】
IGBT(Insulated Gate Bipolar Transistor)等においては、ゲート電極に接続されるゲート配線と、ゲートパッドと、の間に抵抗素子を介在させることにより、当該IGBT等のスイッチング速度を調整ないし制限し、あるいは複数のIGBTを並列接続した際の発振を防止することがある。
【0003】
特許文献1には、ゲートパッドとトレンチゲート電極との間に直列に接続された内蔵抵抗素子を備えたIGBTが記載されている。内蔵抵抗素子は、P型半導体領域の直上に絶縁膜を介して形成され、ゲート電極に電気的に接続されている。
【先行技術文献】
【特許文献】
【0004】
特開2022-82244号公報
【発明の概要】
【発明が解決しようとする課題】
【0005】
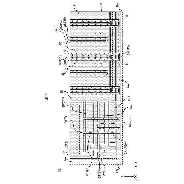
抵抗素子のレイアウトとしてはさまざまなものが採用可能であり、例えば平面視においてループ形状を有する(無端状の)トレンチ構造の抵抗素子がゲートパッドとゲート配線との間に介在するレイアウトを採用することにより、スイッチング速度を調整ないし制限し、あるいは複数のIGBTを並列接続した際の発振を防止することができる。一例においては、トレンチを形成して当該トレンチにポリシリコンを埋め込むことにより抵抗素子が形成されるが、主にはポリシリコンの埋め込み性の観点から、ループ形状の折り返し部分を境に平面視でのトレンチ幅が細くなるように、トレンチを形成することがある。
【0006】
この場合、特にトレンチ幅が細い部分においては、電流が流れ続けることにより起こるエレクトロマイグレーションに起因して、抵抗素子が断線するリスクが比較的大きい。言い換えれば、トレンチ幅が細い部分では、エレクトロマイグレーション耐性が低い。したがって、デバイス構造の微細化への要求、またはトレンチへのポリシリコンの埋め込み性の観点等から、幅の細い部分を有するトレンチ構造の抵抗素子を採用する場合には、幅の細い部分に流れる電流を小さくすることにより、エレクトロマイグレーションの影響を抑えることが求められる。
【0007】
その他の課題および新規な特徴は、本明細書の記述および添付図面から明らかになる。
【課題を解決するための手段】
【0008】
本願において開示される実施の形態のうち、代表的なものの概要を簡単に説明すれば、次のとおりである。
【0009】
一実施の形態に係る半導体装置において、ゲートパッドとゲート配線とを電気的に接続する抵抗素子、および抵抗素子を収容するトレンチは、平面視において閉じた経路を形成する。ゲートパッドと抵抗素子とを電気的に接続する第1、第2コンタクト部材と、ゲート配線と抵抗素子とを電気的に接続する第3、第4コンタクト部材と、第1導電性部材と抵抗素子とを電気的に接続する第5ないし第8コンタクト部材とが設けられており、ゲートパッドから第1導電性部材を経由してゲート配線へと至る電流経路が、複数のコンタクト部材と抵抗素子とによって形成される。第1導電性部材は、第5ないし第8コンタクト部材とともに、抵抗素子によって形成される閉じた経路のうち、一部の区域に流れる電流を低減させるための迂回経路を形成する。
【0010】
一実施の形態に係る半導体装置の製造方法は、半導体基板の第1主面にウェル領域を形成する工程、平面視において閉じた経路を形成するトレンチをウェル領域に形成する工程、トレンチの内部に絶縁膜を形成する工程、トレンチの内部に絶縁膜を介して抵抗素子を形成する工程、第1主面上に層間絶縁膜を形成する工程、層間絶縁膜を貫通して抵抗素子に達する第1ないし第8コンタクト部材を各々形成する工程、層間絶縁膜上にゲートパッド、ゲート配線、および第1導電性部材を形成する工程を有する。第1および第2コンタクト部材が、各々、ゲートパッドと抵抗素子とを電気的に接続し、第3および第4コンタクト部材が、各々、ゲート配線と抵抗素子とを電気的に接続し、第5ないし第8コンタクト部材が、各々、第1導電性部材と抵抗素子とを電気的に接続する。第1導電性部材は、第5ないし第8コンタクト部材とともに、抵抗素子によって形成される閉じた経路のうち、一部の区域に流れる電流を低減させるための迂回経路を形成する。
【発明の効果】
(【0011】以降は省略されています)
この特許をJ-PlatPat(特許庁公式サイト)で参照する
関連特許
他の特許を見る