TOP
|
特許
|
意匠
|
商標
特許ウォッチ
Twitter
他の特許を見る
10個以上の画像は省略されています。
公開番号
2025092598
公報種別
公開特許公報(A)
公開日
2025-06-19
出願番号
2025054127,2024111313
出願日
2025-03-27,2021-09-09
発明の名称
アイドル及び非アクティブ状態でのマルチキャストブロードキャストサービス連続性を保持するためのシステムと方法
出願人
トヨタ自動車株式会社
代理人
弁理士法人秀和特許事務所
主分類
H04W
36/30 20090101AFI20250612BHJP(電気通信技術)
要約
【課題】アイドル及び非アクティブ状態でのMBSサービス連続性を保持する。
【解決手段】方法は、RRC非アクティブ状態またはRRCアイドル状態における隣接セルの測定に用いる第1の情報を含むシステム情報を受信するステップと、第1の情報に基づいて隣接セルの測定を行い、セル再選択を行うステップと、MBSサービスが隣接セルにおいて提供されるか否かを示す第2の情報を受信するステップと、隣接セルでMBSサービスが提供される周波数を示す情報であって、第2の情報とは異なる第3の情報を取得するステップと、第3の情報に基づいて、RRC非アクティブ状態またはRRCアイドル状態のまま、セル再選択されたターゲットセルを介してMBSサービスに関連付けられているデータを受信するステップと、を含む。
【選択図】図18
特許請求の範囲
【請求項1】
無線リソース制御(RRC)非アクティブ状態とRRCアイドル状態のうちの少なくとも1つの状態で、1つ又は複数のマルチキャストブロードキャストサービス(MBS)サービスを受けているユーザ端末(UE)におけるセル再選択時の前記MBSサービスの連続性を保持するための、前記UEの処理方法であって、
前記RRC非アクティブ状態または前記RRCアイドル状態における隣接セルの測定に用いる第1の情報を含むシステム情報を受信するステップと、
前記第1の情報に基づいて前記隣接セルの測定を行い、セル再選択を行うステップと、
前記MBSサービスが前記隣接セルにおいて提供されるか否かを示す第2の情報を受信するステップと、
前記隣接セルで前記MBSサービスが提供される周波数を示す情報であって、前記第2の情報とは異なる第3の情報を取得するステップと、
前記第3の情報に基づいて、前記RRC非アクティブ状態または前記RRCアイドル状態のまま、前記セル再選択されたターゲットセルを介して前記MBSサービスに関連付けられているデータを受信するステップと、
を含む方法。
続きを表示(約 1,300 文字)
【請求項2】
前記RRC非アクティブ状態または前記RRCアイドル状態における前記MBSサービスのためのモビリティに関するのレベルは、前記MBSサービスごと及び/又は前記UEごとに設定可能である、
請求項1に記載の方法。
【請求項3】
前記システム情報はシステム情報ブロック(SIB)メッセージである、
請求項1に記載の方法。
【請求項4】
前記第1の情報は、1つ又は複数の閾値、測定のためのキャリア周波数、周波数帯域リスト、ビーム関係の測定パラメータ、測定持続時間、測定セルのリスト、及びセル測定導出のための同期信号ブロック(SSBs)の数のうちの少なくとも1つを含む、
請求項1に記載の方法。
【請求項5】
前記隣接セルの測定は、1つ又は複数の同期信号ブロック(SSBs)を測定し、1つ又は複数のSSBsの受信信号強度を1つ又は複数の閾値と比較することを含む、
請求項1に記載の方法。
【請求項6】
前記第3の情報は、MBSサービスに関連付けられる帯域幅部分識別子、制御リソースセット、及びヌメロロジーを含む、
請求項1に記載の方法。
【請求項7】
前記1つ又は複数のMBSサービスのうちのあるMBSサービスに関連付けられるマルチキャストブロードキャストサービス(MBS)ベアラに関連付けられるサービスの品質(QoS)は、そのMBSベアラに関するサービス連続性要求のレベルを示す、
請求項1に記載の方法。
【請求項8】
無線リソース制御(RRC)非アクティブ状態とRRCアイドル状態のうちの少なくとも1つの状態で、1つ又は複数のマルチキャストブロードキャストサービス(MBS)サービスを受けているユーザ端末(UE)におけるセル再選択時の前記MBSサービスの連続性を保持するための、前記UEと接続されるネットワーク装置の処理方法であって、
前記RRC非アクティブ状態または前記RRCアイドル状態の前記UEが隣接セルの測定に用いる第1の情報を含むシステム情報を送信するステップと、
前記MBSサービスが前記隣接セルにおいて提供されるか否かを示す第2の情報を送信するステップと、
前記隣接セルで前記MBSサービスが提供される周波数を示す情報であって、前記第2の情報とは異なる第3の情報を送信するステップと、
前記第3の情報に基づいて、前記RRC非アクティブ状態または前記RRCアイドル状態の前記UEによって前記セル再選択されたターゲットセルを介してMBSサービスに関連付けられているデータを送信するステップと、
を含む方法。
【請求項9】
前記RRC非アクティブ状態または前記RRCアイドル状態における前記MBSサービスのためのモビリティに関するレベルは、前記MBSサービスごと及び/又は前記UEごとに設定可能である、
請求項8に記載の方法。
【請求項10】
前記第1の情報はシステム情報ブロック(SIB)メッセージに含まれる、
請求項8に記載の方法。
(【請求項11】以降は省略されています)
発明の詳細な説明
【技術分野】
【0001】
本開示はサービス連続性を保持する方法に関する。
続きを表示(約 5,400 文字)
【背景技術】
【0002】
一般に、コンピューティングデバイスと通信ネットワークは情報交換に利用できる。一般的な用途において、コンピューティングデバイスは通信ネットワークを介して他のコンピューティングデバイスにデータを要求し/そこに送信できる。より具体的には、コンピューティングデバイスは無線通信ネットワークを利用して情報を交換し、又は通信チャネルを確立し得る。
【0003】
無線通信ネットワークは、無線通信ネットワークにアクセスするためのコンポーネントを含むか、それにアクセスする様々な種類のデバイスを含むことができる。このようなデバイスは、無線通信ネットワークを利用して、無線通信ネットワークにアクセスできる他のデバイスとの相互作用を容易にするか、又は無線通信ネットワークを通じた他の通信ネットワークを利用するデバイスとの相互作用を容易にすることができる。
【発明の概要】
【課題を解決するための手段】
【0004】
本発明の実施形態の1つは、サービス連続性を保持する方法である。この方法は、無線リソース制御(RRC)非アクティブ状態とRRCアイドル状態のうちの少なくとも1つの状態で、1つ又は複数のマルチキャストブロードキャストサービス(MBS)サービスを受けているユーザ端末(UE)におけるセル再選択時の前記MBSサービスの連続性を保持するための、前記UEの処理方法である。この方法は、前記RRC非アクティブ状態または前記RRCアイドル状態における隣接セルの測定に用いる第1の情報を含むシステム情報を受信するステップと、前記第1の情報に基づいて前記隣接セルの測定を行い、セル再選択を行うステップと、前記MBSサービスが前記隣接セルにおいて提供されるか否かを示す第2の情報を受信するステップと、前記隣接セルで前記MBSサービスが提供される周波数を示す情報であって、前記第2の情報とは異なる第3の情報を取得するステップと、前記第3の情報に基づいて、前記RRC非アクティブ状態または前記RRCアイドル状態のまま、前記セル再選択されたターゲットセルを介して前記MBSサービスに関連付けられているデータを受信するステップと、を含む。
【図面の簡単な説明】
【0005】
本開示の1つ又は複数の例示的実施形態の幾つかの態様による移動体通信システムの例を示す。
図2A-2Bは、本開示の1つ又は複数の例示的実施形態の幾つかの態様による、それぞれユーザプレーン及び制御プレーンに関する無線プロトコルスタックの例を示す。
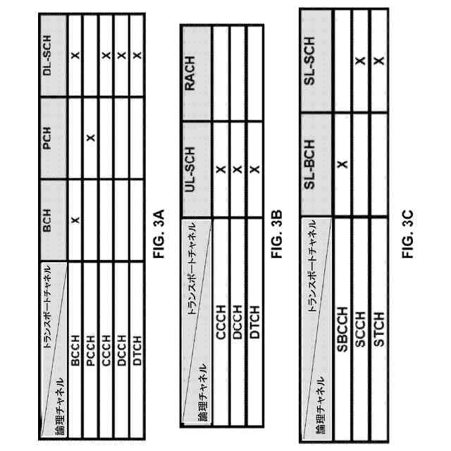
図3A-3Cは、本開示の1つ又は複数の例示的実施形態の幾つかの態様による、それぞれダウンリンク、アップリンク、サイドリンクの論理チャネルとトランスポートチャネルとの間の例示的なマッピングを示す。
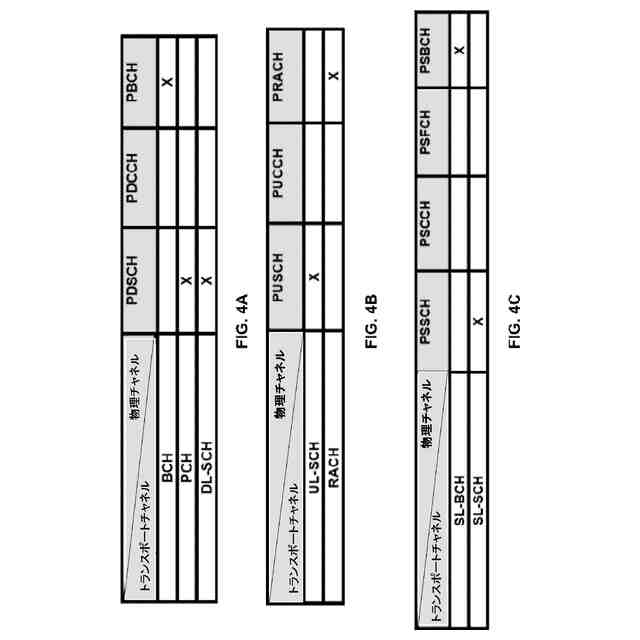
図4A-4Cは、本開示の1つ又は複数の例示的実施形態の幾つかの態様による、それぞれダウンリンク、アップリンク、サイドリンクのトランスポートチャネルと物理チャネルとの間の例示的なマッピングを示す。
図5A-5Dは、本開示の1つ又は複数の例示的実施形態の幾つかの態様によるNRサイドリンク通信のための無線プロトコルスタックの例を示す。
本開示の1つ又は複数の例示的実施形態の幾つかの態様によるダウンリンク、アップリンク、サイドリンクの例示的な物理信号を示す。
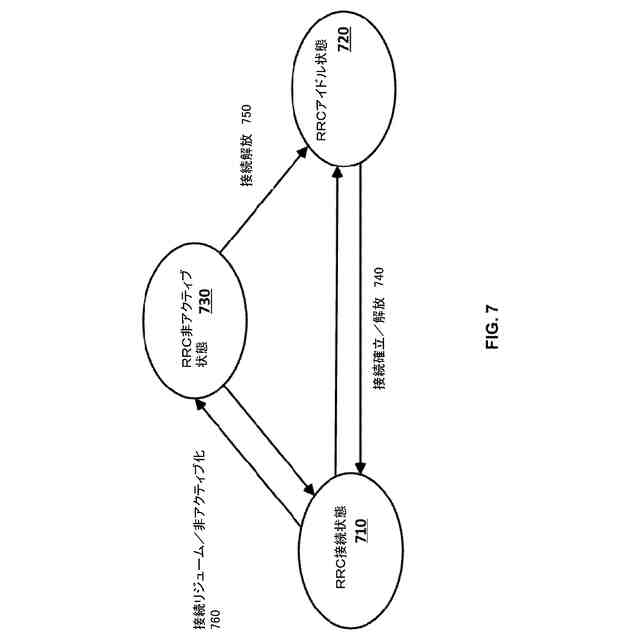
本開示の1つ又は複数の例示的実施形態の幾つかの態様による無線リソース制御(RRC:Radio Resource Control)の状態と異なるRRC状態間の遷移の例を示す。
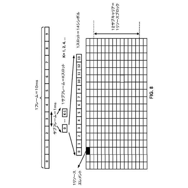
本開示の1つ又は複数の例示的実施形態の幾つかの態様による例示的なフレーム構造と物理リソースを示す。
本開示の1つ又は複数の例示的実施形態の幾つかの態様による異なるキャリアアグリゲーションシナリオの例示的なコンポーネントキャリアの構成を示す。
本開示の1つ又は複数の例示的実施形態の幾つかの態様による例示的な帯域幅部分の構成と切り替えを示す。
本開示の1つ又は複数の例示的実施形態の幾つかの態様による例示的な4段階衝突型及び非衝突型ランダムアクセスプロセスを示す。
本開示の1つ又は複数の例示的実施形態の幾つかの態様による例示的な2段階衝突型及び非衝突型ランダムアクセスプロセスを示す。
本開示の1つ又は複数の例示的実施形態の幾つかの態様による同期信号/物理ブロードキャストチャネル(PBCH)ブロック(SSB)の例示的な時間-周波数構造を示す。
本開示の1つ又は複数の例示的実施形態の幾つかの態様による例示的なSSBバースト送信を示す。
本開示の1つ又は複数の例示的実施形態の幾つかの態様による送信及び/又は受信のためのユーザ端末及び基地局の例示的なコンポーネントを示す。
本開示の1つ又は複数の例示的実施形態の幾つかの態様による例示的なRRC再開手順を示す。
本開示の1つ又は複数の例示的実施形態の幾つかの態様による例示的なRRC再開手順を示す。
本開示の1つ又は複数の例示的実施形態の幾つかの態様による例示的なRRC再開手順を示す。
本開示の1つ又は複数の例示的実施形態の幾つかの態様による例示的なRRC再開手順を示す。
本開示の1つ又は複数の例示的実施形態の幾つかの態様による例示的なRRC再開手順を示す。
RRC非アクティブ及び/又はRRCアイドル状態でのサービス連続性のための例示的プロセスを示す。
RRC非アクティブ及び/又はRRCアイドル状態でのサービス連続性のための例示的プロセスを示す。
RRC非アクティブ及び/又はRRCアイドル状態でのサービス連続性のための例示的プロセスを示す。
【発明を実施するための形態】
【0006】
図1は、本開示の1つ又は複数の例示的実施形態の幾つかの態様による移動体通信システム100の例を示す。移動体通信システム100は、移動体通信事業者(MNO:Mobile Network Operator)、民間ネットワーク事業者、マルチプルシステムオペレータ(MSO)、Internet of Things(IOT)ネットワーク事業者等の無線通信システム事業者により運営され得て、音声、データ(例えば、無線インタネットアクセス)、メッセージ送信、車車間/路車間(V2X:Vehicle to Everything)通信サービス等の自動車運転通信サービス、安全サービス、ミッションクリティカルサービス、IoT、インダストリアルIOT(IIOT)等の住居、商業、又は産業環境でのサービス等のサービスを提供し得る。
【0007】
移動体通信システム100では、レイテンシ、信頼性、スループット等の点の要求事項が異なる様々な種類の応用が可能であり得る。対応可能な応用の例としては、高速大容量(enhanced Mobile Broadband)(eMBB)、超高信頼低遅延通信(Ultra-Reliable Low-Latency Communications)(URLLC)及び大規模マシンタイプ通信(massive Machine Type Communication)(mMTC)が含まれる。eMBBは、ピークデータレートが高く、またセル端ユーザについては適正なレートの安定な接続をサポートし得る。URLLCはレイテンシ及び信頼性に関する要求事項が厳しく、データレートに関する要求事項は適度な応用をサポートし得る。例示的なmMTC応用には、散発的にしかアクティブとならず、小さいデータペイロードのみ送信する無数のIoTデバイスのネットワークが含まれる。
【0008】
移動体通信システム100は、無線アクセスネットワーク(RAN:Radio Access Network)部分とコアネットワーク部分を含みうる。図1に示される例は、RANとコアネットワークの例としてそれぞれ次世代RAN(NG-RAN)105と5Gコアネットワーク(5g-CN)110を図示している。RAN及びコアネットワークの他の例も、本開示の範囲から逸脱せずに実装され得る。RANの他の例としては、Evolved Universal Terrestrial Radio Access Network(EUTRAN)、Universal Terrestrial
Radio Access Network(UTRAN)等が含まれる。コアネットワークの他の例としては、Evolved Packet Core(EPC)、UMTS Core Network(UCN)等が含まれる。RANはRadio Access Technology(RAT)を実装し、ユーザ端末(UEs)125とコアネットワークとの間にある。このようなRATsには、New Radio(NR)、Evolved Universal Terrestrial Radio Access(EUTRA)とも呼ばれるLong Term Evolution(LTE)、Universal Mobile Telecommunication System(UMTS)等が含まれる。例示的な移動体通信システム100のRATはNRであり得る。コアネットワークはRANと1つ又は複数の外部ネットワーク(例えば、データネットワーク)との間にあり、モビリティ管理、認証、セッション管理の、ベアラ設定、異なるQoS(Quality of Services)のアプリケーション等の機能を担当する。UE 125とRAN(例えば、NG-RAN 105)との間の機能層は、アクセス層(AS:Access Stratum)と呼ばれ得て、UE 125とコアネットワーク(例えば、5G-CN110)との間の機能層は非アクセス層(NAS:Non-access Stratum)と呼ばれ得る。
【0009】
UEs 125は、RAN内の1つの又は複数のノード、1つ又は複数の中継ノード、又は1つ又は複数のその他のUEs等との通信のための無線送信及び受信方法を含みうる。UEの例としては、スマートフォン、タブレット、ラップトップ、コンピュータ、車載無線送信及び/又は受信ユニット、V2X又は車車間(V2V)デバイス、無線センサ、IoTデバイス、IIOTデバイス等が含まれるが、これらに限定されない。UEには他の名称も使用され得て、これは例えば移動局(MS:Mobile Station)、端末機器、端末ノード、クライアントデバイス、モバイルデバイス等である。さらにまた、UEs 125は、自動車等の他の機器に組み込まれて、本明細書に記載されているようなRAN内のノードとの無線通信機能を提供するコンポーネント又はサブコンポーネントも含み得る。このような他の機器は、その他の機能性又は、無線通信に加えて複数の機能性を有し得る。
【0010】
RANは、UEsと通信するためのノード(例えば、基地局)を含み得る。例えば、移動体通信システム100のNG-RAN 105は、UEs 125との通信のためのノ
ードを含み得る。RANノードは、例えばRANのために使用されるRATに応じて様々な名称が使用され得る。RANノードは、UMTS RATを使用したRANではNode-B(NB)と呼ばれ得る。RANノードは、LTE/EUTRA RATを使用するRANでは進化型Node Bと呼ばれ得る。図1の移動体通信システム100の実例の場合、NG-RAN 105のノードは次世代Node B(gNB)115又は次世代進化型Node B(ng-eNB)120の何れかであり得る。本明細書中、基地局、RANノード、gNB、ng-eNBという用語は互換的に使用されているかもしれない。例示的に、通信ネットワークは地理的エリアの集合として特徴付けられ得て、これはセルと呼ばれ、論理的に連続的に組織化される。セルは、個々のセルが複数のUEsとのワイヤレス通信を確立する1つの又は複数の基地局に関連付けられ得るような方法で組織化される。基地局は個々のセル内に物理的に位置付けられて、そのセルから送信されたワイヤレス無線信号は同じく物理的にそのセル内にあるUEsにより受信され得る。他の実施形態では、基地局は物理セルの外に位置付けられ得て、そのセル内のUEsにワイヤレス信号を送信するように構成され得る。幾つかの実施形態において、個々のUEsは、信号化カバレッジの重複によって、隣接するセル間で送信される信号を受信でき得る。したがって、標的セル又は既存のセルからの通信への言及は、そのセルに属する1つ又は複数の基地局とUE 125との間の接続を指すことができる。
(【0011】以降は省略されています)
この特許をJ-PlatPat(特許庁公式サイト)で参照する
関連特許
他の特許を見る