TOP
|
特許
|
意匠
|
商標
特許ウォッチ
Twitter
他の特許を見る
公開番号
2025092444
公報種別
公開特許公報(A)
公開日
2025-06-19
出願番号
2024205919
出願日
2024-11-27
発明の名称
バッテリ充放電装置、バッテリ充放電方法及びコンピュータプログラム
出願人
三星エスディアイ株式会社
,
SAMSUNG SDI Co., LTD.
代理人
弁理士法人谷・阿部特許事務所
主分類
H02J
7/02 20160101AFI20250612BHJP(電力の発電,変換,配電)
要約
【課題】モータを具備する装置に具備されるバッテリを効果的に充放電する、バッテリ充放電装置を提供する。
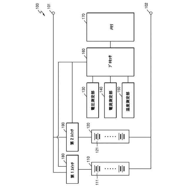
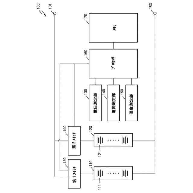
【解決手段】モータを具備する装置に具備されるバッテリを充放電する装置において、装置の走行時に放電し、装置のモータに電力を供給する第1セル110、装置の減速時、再生制動により、モータから電力を供給されて充電される第2セル120、第1セルの充放電経路上に具備される第1スイッチ180、第2セル120の充放電経路上に具備される第2スイッチ190、並びに第1スイッチ180及び第2スイッチ190と電気的に連結され、第1セル110及び第2セル120の充放電時、第1セル110及び第2セル120を区分し、第1セル110及び第2セル120の充放電を制御するプロセッサ160を含むバッテリ充放電装置である。
【選択図】図1
特許請求の範囲
【請求項1】
モータを具備する装置に具備されるバッテリを充放電する装置において、
前記装置の走行時に放電し、前記装置のモータに電力を供給する第1セルと、
前記装置の減速時、再生制動により、前記モータから電力を供給されて充電される第2セルと、
前記第1セルの充放電経路上に具備される第1スイッチと、
前記第2セルの充放電経路上に具備される第2スイッチと、
前記第1スイッチ及び前記第2スイッチと電気的に連結され、前記第1セル及び前記第2セルの充放電時、前記第1セル及び前記第2セルを区分し、前記第1セル及び前記第2セルの充放電を制御するプロセッサを含む、バッテリ充放電装置。
続きを表示(約 1,200 文字)
【請求項2】
前記第1セル及び前記第2セルは、バッテリ充放電率(C-rate)が互いに異なる、請求項1に記載のバッテリ充放電装置。
【請求項3】
前記第2セルのバッテリ充放電率が、前記第1セルのバッテリ充放電率より高い、請求項2に記載のバッテリ充放電装置。
【請求項4】
前記プロセッサは、前記装置の外部充電器の接続信号、または前記装置の減速による再生充電モード信号を獲得し、前記外部充電器または前記モータと連結される充放電経路上の充電電流を測定し、前記外部充電器の接続信号、前記再生充電モード信号、及び前記充電電流の大きさを基に、前記第1セル及び前記第2セルのうち、充電対象になる充電セルを決定し、前記充電セルの充電を制御する、請求項1に記載のバッテリ充放電装置。
【請求項5】
前記プロセッサは、前記再生充電モード信号を獲得する場合、前記第2セルを前記充電セルに決定し、前記第2セルの充電を制御する、請求項4に記載のバッテリ充放電装置。
【請求項6】
前記プロセッサは、前記装置の加速による走行モード信号を獲得し、前記走行モード信号を基に、前記第1セル及び前記第2セルの電圧を測定し、前記第1セル及び前記第2セルのうち、電圧が高い放電セルを決定し、前記放電セルの放電を制御する、請求項1に記載のバッテリ充放電装置。
【請求項7】
前記プロセッサは、前記装置の休止状態による休止モード信号を獲得し、前記休止モード信号を基に、前記第1セル及び前記第2セルの電圧を測定し、前記第2セルの電圧が前記第1セルの電圧より高い場合、前記第2セルを放電させ、前記第1セルの充電を制御する、請求項1に記載のバッテリ充放電装置。
【請求項8】
モータを具備する装置に具備されるバッテリを充放電する方法において、
前記装置の走行時に放電し、前記装置のモータに電力を供給する第1セルの充放電経路上に具備される第1スイッチ、及び前記装置の減速時、再生制動により、前記モータから電力を供給されて充電される第2セルの充放電経路上に具備される第2スイッチを制御する段階と、
前記第1セル及び前記第2セルの充放電時、前記第1セル及び前記第2セルを区分し、前記第1セル及び前記第2セルの充放電を制御する段階と、を含む、バッテリ充放電方法。
【請求項9】
前記第1セル及び前記第2セルの充放電を制御する段階は、前記第1セル及び前記第2セルのバッテリ充放電率(C-rate)が互いに異なる段階を含む、請求項8に記載のバッテリ充放電方法。
【請求項10】
前記第1セル及び前記第2セルの充放電を制御する段階は、前記第2セルのバッテリ充放電率が、前記第1セルのバッテリ充放電率より高い段階を含む、請求項9に記載のバッテリ充放電方法。
(【請求項11】以降は省略されています)
発明の詳細な説明
【技術分野】
【0001】
本発明は、モータを具備する装置に具備されるバッテリを充放電するバッテリ充放電装置、バッテリ充放電方法及びコンピュータプログラムに関する。
続きを表示(約 1,300 文字)
【背景技術】
【0002】
最近になり、ノート型パソコン、ビデオカメラ、携帯用電話機のような携帯用電子製品の需要が急激に増大され、エネルギー保存用蓄電池、ロボット、衛星などの開発が本格化されるにつれ、反復的な充放電が可能な高性能二次電池に係わる研究が活発に進められている。
【0003】
そのような二次電池は、モータを具備する装置(例えば、電気自転車(e-bike))に具備され、電気自転車のモータを駆動しうるが、該電気自転車の走行距離向上のために、バッテリの容量を増大させるというような方法が適用されている。
【発明の概要】
【発明が解決しようとする課題】
【0004】
本発明が解決しようとする課題は、モータを具備する装置に具備されるバッテリを充放電するバッテリ充放電装置、バッテリ充放電方法及びコンピュータプログラムを提供するところにある。しかしながら、そのような課題は、例示的なものであり、それにより、本発明の範囲が限定されるものではない。
【課題を解決するための手段】
【0005】
前述の技術的課題を達成するための技術的手段として、モータを具備する装置に具備されるバッテリを充放電する装置において、前記装置の走行時に放電し、前記装置のモータに電力を供給する第1セル、前記装置の減速時、再生制動により、前記モータから電力を供給されて充電される第2セル、前記第1セルの充放電経路上に具備される第1スイッチ、前記第2セルの充放電経路上に具備される第2スイッチ、並びに前記第1スイッチ及び前記第2スイッチと電気的に連結され、前記第1セル及び前記第2セルの充放電時、前記第1セル及び前記第2セルを区分し、前記第1セル及び前記第2セルの充放電を制御するプロセッサを含むバッテリ充放電装置が提供される。
【0006】
一例によれば、前記第1セル及び前記第2セルは、バッテリ充放電率(C-rate)が互いに異なってもいる。
【0007】
他の例によれば、前記第2セルのバッテリ充放電率が、前記第1セルのバッテリ充放電率よりも高くなる。
【0008】
さらに他の例によれば、前記プロセッサは、前記装置の外部充電器の接続信号、または前記装置の減速による再生充電モード信号を獲得し、前記外部充電器または前記モータと連結される充放電経路上の充電電流を測定し、前記外部充電器の接続信号、前記再生充電モード信号、及び前記充電電流の大きさを基に、前記第1セル及び前記第2セルのうち、充電対象になる充電セルを決定し、前記充電セルの充電を制御しうる。
【0009】
さらに他の例によれば、前記プロセッサは、前記再生充電モード信号を獲得する場合、前記第2セルを前記充電セルに決定し、前記第2セルの充電を制御しうる。
【0010】
さらに他の例によれば、前記プロセッサは、前記装置の加速による走行モード信号を獲得し、前記走行モード信号を基に、前記第1セル及び前記第2セルの電圧を測定し、前記第1セル及び前記第2セルのうち、電圧が高い放電セルを決定し、前記放電セルの放電を制御しうる。
(【0011】以降は省略されています)
この特許をJ-PlatPat(特許庁公式サイト)で参照する
関連特許
他の特許を見る