TOP
|
特許
|
意匠
|
商標
特許ウォッチ
Twitter
他の特許を見る
10個以上の画像は省略されています。
公開番号
2025092333
公報種別
公開特許公報(A)
公開日
2025-06-19
出願番号
2024031148
出願日
2024-03-01
発明の名称
車両システム
出願人
テイ・エス テック株式会社
代理人
個人
,
個人
主分類
B60N
2/90 20180101AFI20250612BHJP(車両一般)
要約
【課題】衝撃に適したホールド性を得ることができる車両システムを提供することを目的とする。
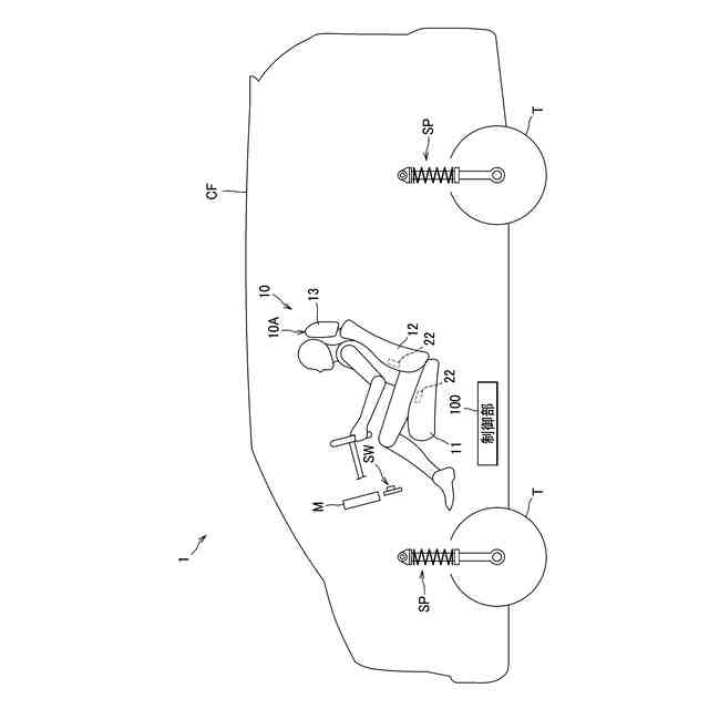
【解決手段】車両システム1は、シート10を支持する車体フレームCFと、路面と車体フレームCFの間に配置される衝撃吸収手段(懸架装置SP)と、シート10の着座者側の面の一部を動かす電動デバイス(エアセル22)と、制御部100と、を備える。衝撃吸収手段は、路面からの衝撃を吸収する。衝撃吸収手段は、衝撃吸収度を変更可能である。制御部100は、衝撃吸収度に基づいて、電動デバイスを作動させる。
【選択図】図1
特許請求の範囲
【請求項1】
シートを支持する車体フレームと、
路面と前記車体フレームの間に配置され、路面からの衝撃を吸収する衝撃吸収手段であって、衝撃吸収度を変更可能な衝撃吸収手段と、
前記シートの着座者側の面の一部を動かす電動デバイスと、
制御部と、を備え、
前記制御部は、前記衝撃吸収度に基づいて、前記電動デバイスを作動させることを特徴とする車両システム。
続きを表示(約 1,200 文字)
【請求項2】
前記電動デバイスは、エアセルであり、
前記制御部は、前記衝撃吸収度に基づいて、前記エアセルの大きさを変更することを特徴とする請求項1に記載の車両システム。
【請求項3】
前記シートは、シートクッションおよびシートバックを有し、
前記シートクッションおよび/または前記シートバックは、
着座者を支持する着座面と、
前記着座面の左右に位置し、前記着座面から突出する張り出し部と、を有し、
前記張り出し部は、前記エアセルを有することを特徴とする請求項2に記載の車両システム。
【請求項4】
前記衝撃吸収手段は、車両の懸架装置であり、
前記衝撃吸収度の変更は、前記懸架装置の減衰力の調整によって行われ、
前記制御部は、
前記減衰力が所定値未満の場合、前記エアセルを第1形状にすることで、前記張り出し部の着座者側の面である内側面を第1位置に位置させ、
前記減衰力が前記所定値以上の場合、前記エアセルを前記第1形状よりも膨張した第2形状にすることで、前記内側面を、前記第1位置よりも着座者に近い第2位置に位置させることを特徴とする請求項3に記載の車両システム。
【請求項5】
前記衝撃吸収手段とキャラクタの画像を表示する表示部をさらに備え、
前記制御部は、前記衝撃吸収度が変更された場合、前記キャラクタが前記衝撃吸収度を変更する画像を、前記表示部によって表示することを特徴とする請求項1に記載の車両システム。
【請求項6】
前記シートは、振動デバイスをさらに有し、
前記制御部は、前記衝撃吸収度に基づいて、前記振動デバイスの振動の強さを変更することを特徴とする請求項2に記載の車両システム。
【請求項7】
前記張り出し部は、振動デバイスを有し、
前記制御部は、前記エアセルによって前記内側面が着座者に近づく方向に移動する場合、前記振動デバイスを作動させることを特徴とする請求項4に記載の車両システム。
【請求項8】
前記張り出し部は、前記内側面が着座者に接触していることを検出するセンサを有し、
前記制御部は、前記エアセルによって前記内側面が着座者に近づく方向に移動する場合、前記センサから取得した情報に基づいて前記エアセルの大きさを決定することを特徴とする請求項7に記載の車両システム。
【請求項9】
前記センサは、圧力センサであり、
前記制御部は、前記センサから取得した圧力値が閾値を超えた場合、前記振動デバイスを作動させることを特徴とする請求項8に記載の車両システム。
【請求項10】
前記衝撃吸収手段は、タイヤの硬さを調整する調整装置であり、
前記衝撃吸収度の変更は、前記タイヤの硬さの調整によって行われることを特徴とする請求項1に記載の車両システム。
(【請求項11】以降は省略されています)
発明の詳細な説明
【技術分野】
【0001】
本発明は、路面からの衝撃を吸収する衝撃吸収手段と制御部とを備えた車両システムに関する。
続きを表示(約 1,200 文字)
【背景技術】
【0002】
従来、車両システムとして、シートと車体との間に介装された第1のサスペンションと、車体と車輪までの間に介装された第2のサスペンションと、第2のサスペンションの最大および最小ストロークを検出するストローク検出手段と、ストローク検出手段で最大もしくは最小ストロークが検出されたときに第1のサスペンションの剛性を低下させる方向に制御する第1サスペンション制御手段とを備えたものが知られている(特許文献1参照)。この技術によれば、第2のサスペンションの状態によって車輪から車体に衝撃が強くかかる場合に、第1のサスペンションの剛性を低下させるので、車体からシートへの衝撃を和らげることが可能となっている。
【先行技術文献】
【特許文献】
【0003】
特開2000-280806号公報
【発明の概要】
【発明が解決しようとする課題】
【0004】
しかしながら、従来技術では、単に第2のサスペンションの状態によって第1のサスペンションの剛性を変更するだけであり、シートの座面の形状は変わらないので、衝撃に適したホールド性を得ることができていなかった。
【0005】
そこで、本発明は、衝撃に適したホールド性を得ることができる車両システムを提供することを目的とする。
【課題を解決するための手段】
【0006】
前記課題を解決するため、本発明に係る車両システムは、シートを支持する車体フレームと、路面と車体フレームの間に配置される衝撃吸収手段と、シートの着座者側の面の一部を動かす電動デバイスと、制御部と、を備える。
衝撃吸収手段は、路面からの衝撃を吸収する。衝撃吸収手段は、衝撃吸収度を変更可能である。
制御部は、衝撃吸収度に基づいて、電動デバイスを作動させる。
【0007】
この構成によれば、衝撃吸収度に基づいて電動デバイスを作動させるので、シートの着座者側の面を衝撃に適した形状にして、衝撃に適したホールド性を得ることができる。
【0008】
また、電動デバイスは、エアセルであり、制御部は、衝撃吸収度に基づいて、エアセルの大きさを変更してもよい。
【0009】
この構成によれば、例えば、衝撃吸収度が低い場合にエアセルの大きさを大きくすると、シートが硬くなり、シートに衝撃が伝わりやすくなるので、シートに着座したユーザが、衝撃吸収手段の状態を理解することができる。
【0010】
また、シートは、シートクッションおよびシートバックを有し、シートクッションおよび/またはシートバックは、着座者を支持する着座面と、着座面の左右に位置し、着座面から突出する張り出し部と、を有し、張り出し部は、エアセルを有していてもよい。
(【0011】以降は省略されています)
この特許をJ-PlatPat(特許庁公式サイト)で参照する
関連特許
他の特許を見る