TOP
|
特許
|
意匠
|
商標
特許ウォッチ
Twitter
他の特許を見る
10個以上の画像は省略されています。
公開番号
2025091913
公報種別
公開特許公報(A)
公開日
2025-06-19
出願番号
2023207458
出願日
2023-12-08
発明の名称
サービス提供サーバ装置の利用状況把握
出願人
エムオーテックス株式会社
代理人
個人
,
個人
主分類
G06Q
10/0637 20230101AFI20250612BHJP(計算;計数)
要約
【課題】 サービス提供サーバ装置の利用状況把握技術を提供する。
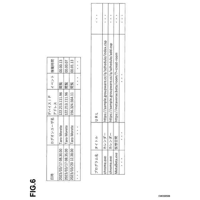
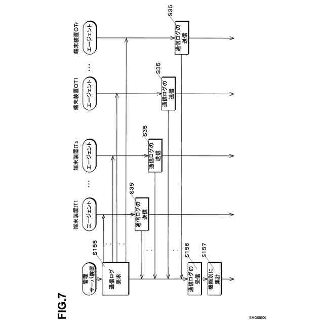
【解決手段】 端末装置T1、T2・・・Tmの各通信手段12は、サービス提供サーバ装置SS1、SS2・・・SSnの用意している各機能にアクセスして、当該機能を利用することができる。機能アクセス検出手段14は、サービス提供サーバ装置SS1、SS2・・・SSnのいずれの機能にアクセスしたかを検出し、機能アクセス情報として記録する。機能アクセス情報送信手段16は、機能アクセス情報を管理サーバ装置MSに送信する。したがって、管理サーバ装置MSの機能アクセス情報取得手段24は、各端末装置T1、T2・・・Tmから、機能アクセス情報を取得することになる。管理サーバ装置MSの機能集計手段22は、取得した機能アクセス情報を機能ごとに集計して出力する。
【選択図】 図1
特許請求の範囲
【請求項1】
管理対象である複数の端末装置と、当該複数の端末装置と通信可能な管理サーバ装置とを備えた管理システムであって、
前記端末装置は、
各サービス提供サーバ装置のいずれの機能にアクセスしたかを検出する機能アクセス検出手段と、
機能アクセス検出手段によって検出された、各サービス提供サーバ装置のいずれの機能にアクセスしたかを示す機能アクセス情報を前記管理サーバ装置に送信する機能アクセス情報送信手段とを備え、
前記管理サーバ装置は、
各端末装置からの機能アクセス情報を取得する機能アクセス情報取得手段と、
各端末装置から取得した機能アクセス情報に基づいて、各サービス提供サーバ装置における各機能の利用状況を集計する機能集計手段とを備えたことを特徴とする管理システム。
続きを表示(約 2,400 文字)
【請求項2】
端末装置とともに管理システムを構成する管理サーバ装置であって、
各端末装置が各サービス提供サーバ装置のいずれの機能にアクセスしたかを示す機能アクセス情報を、前記各端末装置から取得する機能アクセス情報取得手段と、
各端末装置から取得した機能アクセス情報に基づいて、各サービス提供サーバ装置における各機能の利用状況を集計する機能集計手段と、
を備えた管理サーバ装置。
【請求項3】
端末装置とともに管理システムを構成する管理サーバ装置をコンピュータによって実現するための管理サーバプログラムであって、コンピュータを、
各端末装置が各サービス提供サーバ装置のいずれの機能にアクセスしたかを示す機能アクセス情報を、前記各端末装置から取得する機能アクセス情報取得手段と、
各端末装置から取得した機能アクセス情報に基づいて、各サービス提供サーバ装置における各機能の利用状況を集計する機能集計手段として機能させるための管理サーバプログラム。
【請求項4】
管理サーバ装置とともに管理システムを構成する端末装置であって、
各サービス提供サーバ装置のいずれの機能にアクセスしたかを検出する機能アクセス検出手段と、
前記管理サーバ装置において、各サービス提供サーバ装置における各機能の利用状況を集計することができるように、機能アクセス検出手段によって検出された、各サービス提供サーバ装置のいずれの機能にアクセスしたかを示す機能アクセス情報を前記管理サーバ装置に送信する機能アクセス情報送信手段と、
を備えた端末装置。
【請求項5】
管理サーバ装置とともに管理システムを構成する端末装置をコンピュータによって実現するための端末プログラムであって、コンピュータを、
各サービス提供サーバ装置のいずれの機能にアクセスしたかを検出する機能アクセス検出手段と、
前記管理サーバ装置において、各サービス提供サーバ装置における各機能の利用状況を集計することができるように、機能アクセス検出手段によって検出された、各サービス提供サーバ装置のいずれの機能にアクセスしたかを示す機能アクセス情報を前記管理サーバ装置に送信する機能アクセス情報送信手段として機能させるための端末プログラム。
【請求項6】
複数の端末装置が複数のサービス提供サーバ装置のいずれの機能を使用しているかを集計する管理サーバ装置であって、
各端末装置が各サービス提供サーバ装置のいずれの機能にアクセスしたかを示す機能アクセス情報を、前記各サービス提供サーバ装置から取得する機能アクセス情報取得手段と、
各サービス提供サーバ装置から取得した機能アクセス情報に基づいて、各サービス提供サーバ装置における各機能の利用状況を集計する機能集計手段と、
を備えた管理サーバ装置。
【請求項7】
複数の端末装置が複数のサービス提供サーバ装置のいずれの機能を使用しているかを集計する管理サーバ装置を、コンピュータによって実現するための管理サーバプログラムであって、コンピュータを、
各端末装置が各サービス提供サーバ装置のいずれの機能にアクセスしたかを示す機能アクセス情報を、前記各サービス提供サーバ装置から取得する機能アクセス情報取得手段と、
各サービス提供サーバ装置から取得した機能アクセス情報に基づいて、各サービス提供サーバ装置における各機能の利用状況を集計する機能集計手段として機能させるための管理サーバプログラム。
【請求項8】
請求項1~5のいずれかのシステム、管理サーバ装置、管理サーバプログラム、端末装置または端末プログラムにおいて、
前記端末装置は、組織外ネットワークに接続された端末装置も含んでおり、
前記端末装置は、前記機能アクセス検出手段、前記機能アクセス情報送信手段を備えたものでなければ、組織内ネットワークに接続できないように構成されているシステム、管理サーバ装置、管理サーバプログラム、端末装置または端末プログラム。
【請求項9】
請求項1~7のいずれかのシステム、管理サーバ装置、管理サーバプログラム、端末装置または端末プログラムにおいて、
前記機能集計手段は、異なるサービス提供サーバ装置における同一・類似機能の利用状況を集計し、
複数のサービス提供装置の同一機能について、利用の少ないサービス提供サーバ装置の機能の利用を禁止し、他のサービス提供サーバ装置の同一機能を利用するよう提案することを特徴とするシステム、管理サーバ装置、管理サーバプログラム、端末装置または端末プログラム。
【請求項10】
請求項9のシステム、管理サーバ装置または端末装置において、
前記端末装置は、
前記端末装置における通信の開始を検知する通信開始検知手段と、
開始が検知された通信の動作の適否を、記録部に記録された通信動作判定情報に基づいて判断し、動作することが不適であると判断した通信を停止させる通信動作判定手段とを備え、
前記管理サーバ装置は、
前記端末装置と通信し、前記通信動作判定情報を前記端末装置に送信して前記端末装置に記録させる通信動作判定情報設定手段と、
前記通信動作判定情報として、複数のサービス提供サーバ装置の同一機能について、使用を決定されたサービス提供サーバ装置以外のサービス提供装置の当該機能への通信を禁止するよう登録する登録手段とを備えたシステム、サーバ装置または端末装置。
(【請求項11】以降は省略されています)
発明の詳細な説明
【技術分野】
【0001】
この発明は、サービス提供サーバ装置の利用状況把握に関するものである。
続きを表示(約 1,400 文字)
【背景技術】
【0002】
企業などにおいて、各社員の端末装置から、SaaSなどの外部のサービス提供サーバ装置にアクセスする機会が増えている。様々な機能を持つサービス提供サーバ装置が存在し、企業において必要な機能に応じてサービス提供サーバ装置が使い分けられている。端末装置に当該機能を有するプログラムをインストールしなくとも、サービス提供サーバ装置にアクセスすることで利用できるため、利用に対する障壁が低く、利用しやすいという利点がある。
【0003】
このような利用の容易性から、企業の情報システム管理者が許可していないサービス提供装置を使う社員も生じてくる。このような事態は、セキュリティや管理上好ましくないので、対策が講じられている。たとえば、特許文献1では、会計サーバ(各サービス提供サーバ装置への定期的支払いをまとめているサーバ装置)や社内のネットワーク機器などから、社員がいずれのサービス提供サーバ装置にアクセスしたかを取得し、これらアクセスされたサービス提供サーバ装置の中に、管理対象外のものがあるかどうかを見いだすようにしている。これにより、許可していないサービス提供サーバ装置へのアクセスを抽出することができ、対応策をとることができる。
【先行技術文献】
【特許文献】
【0004】
特開2023-33078
【発明の概要】
【発明が解決しようとする課題】
【0005】
しなしながら、(a)特許文献1では、許可されていないサービス提供サーバ装置へのアクセスを検知して排除することはできるが、利用している複数のサービス提供サーバ装置において、同様の機能を重複して利用しているなどの無駄を検知することはできなかった。
【0006】
(b)特許文献1に記載された従来技術では、サービス提供サーバ装置からアクセス情報を取得するようにしている。しかし、サービス提供サーバ装置によっては、アクセスの頻度などを計数するために必要な情報を提供していないものもある。そのようなサービス提供サーバ装置については、アクセス状況の把握ができず、対応ができないという問題があった。
【0007】
(c)特許文献1に記載された従来技術では、未許可のサービス提供サーバ装置に対するアクセスを検出しこれを排除するようにしているが、許可されているにも拘わらず、利用されていないサービス提供サーバ装置を検出することはなされておらず、効率化を図ることができなかった。
【0008】
(d)また、サービス提供サーバ装置のサービスを利用するために、社員などの構成員が設定したアカウントの使用が全くされていない、極めて少ないなどの場合に、アカウント停止などの対応策をとることが好ましい。このためには、各サービス提供サーバ装置におけるアカウントの使用状況を把握することが必要であるが、これを行うことができないという問題があった。
【0009】
この発明は、上記(a)~(d)のいずれか一つの問題を解決した利用状況把握技術を提供することを目的とする。
【課題を解決するための手段】
【0010】
以下、この発明の独立したいくつかの特徴を列挙する。これら特徴は、組み合わせることが必須ではなく、任意に組み合わせることが可能なものである。
(【0011】以降は省略されています)
この特許をJ-PlatPat(特許庁公式サイト)で参照する
関連特許
他の特許を見る