TOP
|
特許
|
意匠
|
商標
特許ウォッチ
Twitter
他の特許を見る
公開番号
2025091558
公報種別
公開特許公報(A)
公開日
2025-06-19
出願番号
2023206841
出願日
2023-12-07
発明の名称
燃料電池システム及び燃料電池システムの運転停止時制御方法
出願人
本田技研工業株式会社
代理人
弁理士法人桐朋
主分類
H01M
8/04858 20160101AFI20250612BHJP(基本的電気素子)
要約
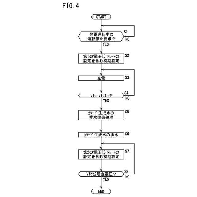
【課題】燃料電池システムの運転停止時に、燃料電池の劣化を抑制する。
【解決手段】制御装置26は、燃料電池自動車11(燃料電池システム10)の運転停止信号を検知したとき、燃料電池スタック12の発電電圧Vfcを第1の電圧低下レートVdr1で緩やかに低下させて余剰の発電電力を蓄電装置244に充電する。その後、第1の電圧低下レートVdr1より高い第2の電圧低下レートVdr2で発電電圧Vfcを急激に低下させることで、燃料電池スタック12の劣化を抑制する。
【選択図】図1
特許請求の範囲
【請求項1】
燃料ガスとエアコンプレッサから供給される酸化剤ガスとによって発電する燃料電池と、
前記燃料電池を制御する制御装置と、
を備える燃料電池システムであって、
前記制御装置は、運転停止信号を取得する取得部と、
前記取得部が、前記運転停止信号を取得した場合、前記燃料電池の発電電圧を第1の電圧低下レートで低下させた後、前記第1の電圧低下レートより高い第2の電圧低下レートで低下させる制御部と、
を備える燃料電池システム。
続きを表示(約 730 文字)
【請求項2】
請求項1に記載の燃料電池システムにおいて、
前記燃料電池の前記発電電圧を電源電圧まで昇圧する昇圧コンバータと、
前記電源電圧が印加される負荷及び蓄電装置と、を有し、
前記制御部は、前記発電電圧を前記第1の電圧低下レートで低下させているときには、前記昇圧コンバータにより前記発電電圧を前記電源電圧まで昇圧させて前記蓄電装置を充電する、
燃料電池システム。
【請求項3】
請求項1に記載の燃料電池システムにおいて、
前記制御部は、前記発電電圧を前記第1の電圧低下レートで低下させた後、前記第1の電圧低下レートより高い第2の電圧低下レートで低下させる前に、前記エアコンプレッサの回転数を所定時間の間、前記第1の電圧低下レートで前記発電電圧を低下させたときの回転数よりも高くする、
燃料電池システム。
【請求項4】
請求項3に記載の燃料電池システムにおいて、
前記制御部は、前記エアコンプレッサの前記回転数を高くしておく前記所定時間の間、前記燃料電池の燃料ガス圧を所定量増加させる、
燃料電池システム。
【請求項5】
燃料ガスとエアコンプレッサから供給される酸化剤ガスとによって発電する燃料電池と、
前記燃料電池を制御する制御装置と、
を備える燃料電池システムの運転停止時制御方法であって、
前記制御装置は、運転停止信号を取得した場合、前記燃料電池の発電電圧を第1の電圧低下レートで低下させた後、前記第1の電圧低下レートより高い第2の電圧低下レートで低下させる、
燃料電池システムの運転停止時制御方法。
発明の詳細な説明
【技術分野】
【0001】
この発明は、燃料電池システム及び燃料電池システムの運転停止時制御方法に関する。
続きを表示(約 1,100 文字)
【背景技術】
【0002】
近年、より多くの人々が手ごろで信頼でき、持続可能かつ先進的なエネルギへのアクセスを確保するために、エネルギの効率化に貢献する燃料電池に関する研究開発が行われている。
【0003】
燃料電池スタックを備えた発電システムを燃料電池システムと称する。燃料電池スタックは、複数の発電セルを備える。各発電セルは、燃料ガス(水素含有ガス)とエアコンプレッサから供給される酸化剤ガス(酸素含有ガス)との電気化学反応により発電する。
【0004】
例えば、特許文献1には、燃料電池スタックの発電電力を、ダイオードを介して外部負荷(インバータ駆動のモータ)、内部負荷(循環ポンプ)、平滑コンデンサに及びリレーを介してリチウムイオンキャバシタ(以下キャパシタという)に供給する燃料電池システムが開示されている(特許文献1の図1)。前記リレーが閉じているとき、前記外部負荷及び前記内部負荷には、前記キャパシタの電力も供給される(特許文献1の段落[0039])。
【0005】
特許文献1に開示された燃料電池システムでは、運転停止(シャットダウン)要求が入力されると、制御部は、前記燃料電池スタックの発電を停止させると共に前記リレーを遮断する(同、段落[0049])。また、制御部は、運転停止要求が入力されると、燃料電池スタックの劣化を抑制するために、前記内部負荷の電圧より先に燃料電池スタックのスタック電圧を低下させる(同、段落[0050]―[0052])。
【0006】
このような制御により特許文献1に開示された燃料電池システムでは、運転停止時に、前記燃料電池スタックから前記外部負荷に電流が流れることが抑制される(同、段落[0053])。
【先行技術文献】
【特許文献】
【0007】
特開2023-55497号公報
【発明の概要】
【発明が解決しようとする課題】
【0008】
燃料電池システムでは、運転停止時に、余剰の発電電力を蓄電装置に充電することができる電力が決まっている。その一方で、燃料電池システムでは、運転停止時に、燃料電池スタックの劣化抑制の観点から可能な限り早く燃料電池スタックの電圧を下げたいという課題がある。
【0009】
しかしながら、特許文献1に開示された燃料電池システムでは、運転停止時に、燃料電池スタックをキャパシタに接続するリレーを遮断しているので、前記課題を解決し得ない。
【0010】
この発明は上述した課題を解決することを目的とする。
【課題を解決するための手段】
(【0011】以降は省略されています)
この特許をJ-PlatPat(特許庁公式サイト)で参照する
関連特許
他の特許を見る