TOP
|
特許
|
意匠
|
商標
特許ウォッチ
Twitter
他の特許を見る
10個以上の画像は省略されています。
公開番号
2025091379
公報種別
公開特許公報(A)
公開日
2025-06-18
出願番号
2024208857
出願日
2024-11-29
発明の名称
流体ディスペンサをキャリブレーションする装置および方法
出願人
キヤノン株式会社
代理人
弁理士法人大塚国際特許事務所
主分類
H01L
21/027 20060101AFI20250611BHJP(基本的電気素子)
要約
【課題】成形可能材料の液滴を堆積させるための流体ディスペンサを調整するシステムおよび方法が提供される。
【解決手段】実施形態によれば、システムは、第1ディスペンサおよび第2ディスペンサによって堆積された成形可能材料を硬化させることによって基板上に形成された膜を含む基板の画像を取得する。前記画像の画素について強度情報が取得され、前記第1ディスペンサが液滴を堆積した前記基板の部分からの強度値と前記第2ディスペンサが液滴を堆積した部分からの強度値との差をが判断され、前記強度値は、目標厚さに関連付けられた前記基板の領域に対応する。前記強度値に基づく調整は、前記第1ディスペンサのノズルおよび前記第2ディスペンサのノズルについて液滴体積および液滴密度を変更するために行われる。
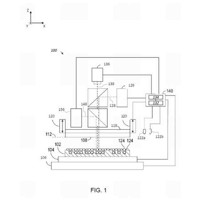
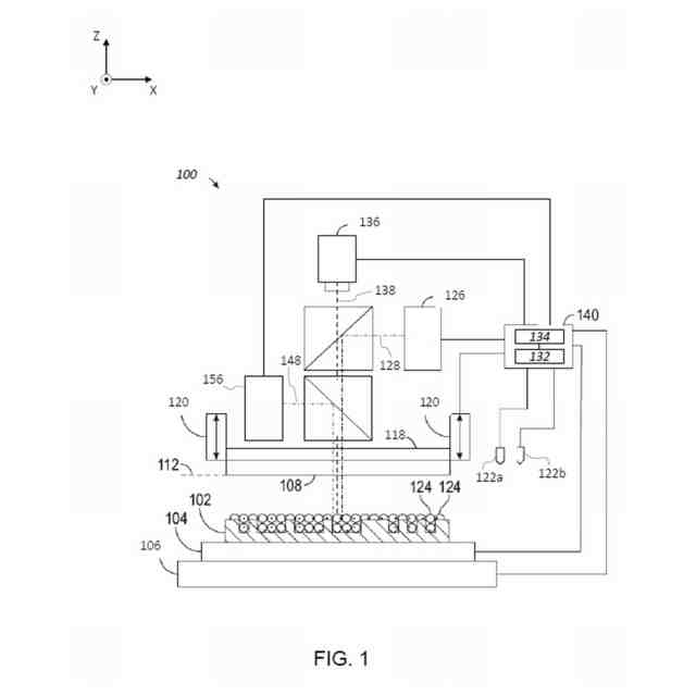
【選択図】図1
特許請求の範囲
【請求項1】
膜を含む基板の画像を取得する工程であって、前記膜は、第1ディスペンサおよび第2ディスペンサによって前記基板上に堆積された成形可能材料を硬化させることで前記基板上に形成され、前記第1ディスペンサは、目標体積に基づいて前記第1ディスペンサのノズルのグループから前記基板の第1部分上に前記成形可能材料の液滴を堆積させ、前記第2ディスペンサは、前記目標体積に基づいて前記第2ディスペンサのノズルのグループから前記基板の第2部分上に前記成形可能材料の液滴を堆積させ、前記基板の前記第2部分は前記基板の前記第1部分と異なる、工程と、
前記基板の前記画像の画素について強度情報を取得する工程であって、前記強度情報は、前記基板の前記第1部分に対応する第1強度データと前記基板の前記第2部分に対応する第2強度データとを含む、工程と、
前記基板の領域に対応する第1強度値と前記基板の前記領域に対応する第2強度値との差を判断する工程であって、前記第1強度値は前記第1強度データの強度値を含み、前記第2強度値は前記第2強度データの強度値を含み、前記基板の前記領域は前記基板上の前記膜の目標厚さに関連付けられている、工程と、
前記第1強度値と前記第2強度値との前記差が閾値を超えていることを判断する工程と、
前記第1強度値に基づいて前記第1ディスペンサのノズルのグループについて第1調整量を決定し、前記第2強度値に基づいて前記第2ディスペンサのノズルのグループについての第2調整量を決定する工程と、
前記第1調整量に基づいて前記第1ディスペンサのノズルのグループについて液滴体積および液滴密度の一方または両方を調整し、前記第2調整量に基づいて前記第2ディスペンサのノズルのグループについて液滴体積および液滴密度の一方および両方を調整する工程と、
を含む方法。
続きを表示(約 2,600 文字)
【請求項2】
前記第1ディスペンサのノズルのグループについて前記第1調整量を決定する工程は、
前記第1強度値に基づいて、前記基板の前記領域における前記膜の第1推定厚さを決定することと、
前記目標体積と前記基板の前記領域における前記膜の前記第1推定厚さとに基づいて、前記第1調整量を決定することと、を含み、
前記第2ディスペンサのノズルのグループについて前記第2調整量を決定する工程は、
前記第2強度値に基づいて、前記基板の前記領域における前記膜の第2推定厚さを決定することと、
前記目標体積と前記基板の前記領域における前記膜の前記第2推定厚さとに基づいて、前記第2調整量を決定することと、を含む、
請求項1に記載の方法。
【請求項3】
前記第1ディスペンサのノズルのグループについて前記液滴体積を調整する工程は、前記第1ディスペンサのノズルのグループの第1波形を、前記第1調整量に対応する第1スケーリングパラメータによって前記第1波形の電圧を変更することで調整することを含み、
前記第2ディスペンサのノズルのグループについて前記液滴体積を調整する工程は、前記第2ディスペンサのノズルのグループの第2波形を、前記第2調整量に対応する第2スケーリングパラメータによって前記第2波形の電圧を変更することで調整することを含む、
請求項1に記載の方法。
【請求項4】
前記第1ディスペンサのノズルのグループおよび前記第2ディスペンサのノズルのグループについて前記液滴密度を調整する工程は、
前記基板にわたって変化する所望体積マップを取得することと、
前記第1ディスペンサのノズルのグループの前記第1調整量と前記第2ディスペンサのノズルのグループの前記第2調整量とに基づいて前記所望体積マップをスケールイングすることによって、新たなマップを生成することと、
前記新たなマップに基づいて液滴パターンを生成することと、を含む、
請求項1に記載の方法。
【請求項5】
前記第1ディスペンサのノズルのグループおよび前記第2ディスペンサのノズルのグループについて前記液滴密度を調整する工程は、
少なくとも前記第1ディスペンサのノズルのグループの前記第1調整量に基づいて、前記第1ディスペンサによってディスペンスされる複数の液滴体積を推定することと、
少なくとも前記第2ディスペンサのノズルのグループの前記第2調整量に基づいて、前記第2ディスペンサによってディスペンスされる複数の液滴体積を推定することと、
前記基板にわたって変化する所望体積マップを取得することと、
前記第1ディスペンサによってディスペンスされる前記複数の液滴体積と、前記第2ディスペンサによってディスペンスされる前記複数の液滴体積と、前記所望体積マップとに基づいて、液滴パターンを生成することと、を含む、
請求項1に記載の方法。
【請求項6】
第2膜を含む第2基板の画像を取得する工程と、
前記第2基板の前記画像の画素の強度値のプロットを生成する工程と、
前記プロットの領域にマスクデータを適用する工程と、
前記マスクデータが適用された前記領域の各々について、それぞれ平均強度値を算出する工程と、
前記第2基板上の前記第2膜の厚さ計測データを取得する工程と、
前記平均強度値を前記厚さ計測データと相関させることによって関数を生成する工程と、
を更に含み、
前記第1調整量および前記第2調整量は、前記関数に基づいて決定される、
請求項1に記載の方法。
【請求項7】
関係値のセットを取得する工程であって、前記関係値のセットはグレースケール強度値と対応する膜厚値との関係を示し、前記グレースケール強度値は第2基板上の第2膜の画像に基づき、前記膜厚値は前記第2基板上の前記第2膜の厚さ計測に基づく、工程を更に含み、
前記第1ディスペンサのノズルのグループの前記第1調整量、および前記第2ディスペンサのノズルのグループの前記第2調整量は、前記関係値のセットに基づいて決定される、
請求項1に記載の方法。
【請求項8】
前記関係値のセットと前記第1強度値とに基づいて、前記基板の前記領域における前記膜の第1推定厚さを決定する工程であって、前記関係値のセットは前記第1強度値と前記第1推定厚さとの対応関係を示す、工程と、
前記第1推定厚さに基づいて前記第1調整量を決定する工程と、
前記関係値のセットと前記第2強度値とに基づいて、前記基板の前記領域における前記膜の第2推定厚さを決定する工程であって、前記関係値のセットは前記第2強度値と前記第2推定厚さとの対応関係を示す、工程と、
前記第2推定厚さに基づいて前記第2調整量を決定する工程と、
を更に含む、請求項7に記載の方法。
【請求項9】
前記第1調整量に基づいて前記第1ディスペンサのノズルのグループについて液滴体積および液滴密度の一方または領域の調整し、前記第2調整量に基づいて前記第2ディスペンサのノズルのグループについて液滴体積および液滴密度の一方および両方を調整する工程に基づいてキャリブレーションされた液滴パターンに従って、第2基板上に前記成形可能材料を堆積させる工程と、
前記第2基板上に堆積された前記成形可能材料にスーパーストレートまたはテンプレートの成形面を接触させる工程と、
前記成形面が前記成形可能材料に接触している間に、前記第2基板上に堆積された前記成形可能材料を硬化させる工程と、
を更に含む、請求項1に記載の方法。
【請求項10】
硬化した前記成形可能材料を有する前記基板を物品製造のための複数の既知の半導体手順および処理の1以上に適用することにより、硬化した前記成形可能材料を有する前記基板を処理して複数の物品を形成する工程を更に含む、請求項1に記載の方法。
(【請求項11】以降は省略されています)
発明の詳細な説明
【技術分野】
【0001】
本開示は、半導体デバイスの製造に関し、より詳細には、インクジェットベース適応平坦化のための成形可能材料の液滴のディスペンスにおける調整に関する。
続きを表示(約 3,000 文字)
【背景技術】
【0002】
ナノファブリケーションは、100ナノメートル(nm)以下のフィーチャを有する非常に小さな構造の製造を含む。ナノファブリケーションの1つの用途は、集積回路の製造である。半導体プロセス産業は、基板上に形成される単位面積当たりの回路を増加させながら、より大きな生産歩留まりのために努力し続けている。ナノファブリケーションの改善は、形成される構造の最小フィーチャ寸法の継続的な低減をも可能にしながら、より大きなプロセス制御を提供すること、およびスループットを増加させることを含む。
【0003】
いくつかのナノファブリケーション技術は、一般に、ナノインプリントリソグラフィ(NIL)と呼ばれる。ナノインプリントリソグラフィは、例えば、集積デバイスの1以上の層(レイヤ)を製造することを含む様々な用途において有用である。集積デバイスの例は、CMOSロジック、マイクロプロセッサ、NANDフラッシュメモリ、NORフラッシュメモリ、DRAMメモリ、MRAM、3Dクロスポイントメモリ、Re-RAM、Fe-RAM、STT-RAM、MEMS、光学部品などを含む。
【0004】
いくつかのナノインプリントリソグラフィ技術は、成形可能材料の(重合可能な)層にフィーチャパターンを形成し、そのフィーチャパターンに対応するパターンを下地の基板の中または上に転写する。パターニングプロセスは、基板から離間したテンプレート(リセスおよび突起を有する)の成形面を使用し、成形可能な液体がテンプレートと基板との間に適用される。成形可能な液体は、固化されて、成形可能な液体と接触するテンプレートの成形面に適合するパターンを有する固体層を形成する。固化後、テンプレートは、テンプレートと基板とが離間するように固化層から分離される。次に、基板および固化層は、固化層のパターンに対応するレリーフ像を基板の中または上に転写するため、エッチングプロセスなどの追加のプロセスに供される。
【0005】
さらに、平坦化技術は、半導体デバイスの製造に有用である。例えば、半導体デバイスを作製するためのプロセスは、基板に材料を追加することと基板から材料を除去することを繰り返し含みうる。このプロセスは、不規則な高さばらつき(即ち、レリーフパターン)を有する層状基板を生成することができ、より多くの層が追加されるにつれて、基板の高さばらつきが増加しうる。当該高さばらつきは、層状基板に更なる層を追加する能力に悪影響を及ぼす。また、半導体基板(例えば、シリコンウエハ)自体は、必ずしも完全に平坦であるとは限られず、初期の表面高さばらつき(即ち、レリーフパターン)を含む可能性がある。当該高さばらつきに対処するための1つの技術は、積層手順の間に基板を平坦化することである。ナノインプリントリソグラフィ技術に基づく平坦化技術は、インクジェットベース適応平坦化(IAP)とも呼ばれ、基板とスーパーストレート(フィーチャのないテンプレート)との間に成形可能な(重合可能な)材料の様々な液滴パターンをディスペンスすることを含み、液滴パターンは、基板のレリーフパターンに応じて変化する。次いで、スーパーストレートの成形面を成形可能材料と接触させ、その後、当該材料を基板上で重合(硬化)させ、スーパーストレートを除去する。
【0006】
様々なリソグラフィパターニング技術は、平面上のパターニングから恩恵を受ける。ArFiレーザベースのリソグラフィでは、平坦化が、焦点深度(DOF)、限界寸法(CD)、および限界寸法均一性を向上させる。極端紫外線リソグラフィ(EUV)では、平坦化は、フィーチャ配置およびDOFを向上させる。ナノインプリントリソグラフィ(NIL)では、平坦化は、パターン転写後のフィーチャ充填およびCD制御を向上させる。
【0007】
また、重合材料を有する基板は、例えば、硬化、酸化、層形成、堆積、ドーピング、平坦化、エッチング、成形可能材料の除去、ダイシング、ボンディング、パッケージングなどを含む、デバイス(物品)製造のための既知の半導体手順およびプロセスに更に供されうる。
【0008】
平坦化プロセスまたはナノインプリントパターニングプロセスでは、基板上に堆積された成形可能材料の液滴と成形可能材料の液滴の目標値との間に不一致が生じる可能性がある。ディスペンサによって堆積される液滴における液滴体積の小さなばらつきは、基板上に形成される膜の厚さばらつきとして現れうる。
【発明の概要】
【0009】
本開示のいくつかの実施形態は、ナノインプリントリソグラフィシステムにおいて成形可能材料の液滴をディスペンスする流体ディスペンサを調整するためのシステムを提供する。いくつかの実施形態によれば、基板を保持するように構成された基板チャックと、基板上の成形可能材料に光を提供するように構成された光源と、基板上の成形可能材料から光を受け取るように配置されたカメラと、複数の流体ディスペンサとを含むシステムが提供される。
【0010】
本開示のいくつかの実施形態は、膜を含む基板の画像をシステムに取得させるように構成された1以上のプロセッサおよび1以上のメモリを含み、前記膜は、第1ディスペンサおよび第2ディスペンサによって前記基板上に堆積された成形可能材料を硬化させることで前記基板上に形成される。前記第1ディスペンサは、目標体積に基づいて前記第1ディスペンサのノズルのグループから前記基板の第1部分上に前記成形可能材料の液滴を堆積させる。前記第2ディスペンサは、前記目標体積に基づいて前記第2ディスペンサのノズルのグループから前記基板の第2部分上に前記成形可能材料の液滴を堆積させ、前記基板の前記第2部分は前記基板の前記第1部分と異なる。前記システムは、前記基板の前記画像の画素について強度情報を取得し、前記強度情報は、前記基板の前記第1部分に対応する第1強度データと前記基板の前記第2部分に対応する第2強度データとを含む。前記システムは、前記基板の領域に対応する第1強度値と前記基板の前記領域に対応する第2強度値との差を判断し、前記第1強度値は前記第1強度データの強度値であり、前記第2強度値は前記第2強度データの強度値である。前記第1強度値および前記第2強度値に対応する前記基板の前記領域は、前記基板上の前記膜の目標厚さに関連付けられている。前記第1強度値と前記第2強度値との前記差は、閾値を超えていることがある。前記第1ディスペンサのノズルのグループについての第1調整量は前記第1強度値に基づいて決定され、前記第2ディスペンサのノズルのグループについての第2調整量は前記第2強度値に基づいて決定される。液滴体積および液滴密度の一方または両方は、前記第1調整量に基づいて前記第1ディスペンサのノズルのグループについて調整され、液滴体積および液滴密度の一方および両方は、前記第2調整量に基づいて前記第2ディスペンサのノズルのグループについて調整されうる。
(【0011】以降は省略されています)
この特許をJ-PlatPat(特許庁公式サイト)で参照する
関連特許
他の特許を見る