TOP
|
特許
|
意匠
|
商標
特許ウォッチ
Twitter
他の特許を見る
10個以上の画像は省略されています。
公開番号
2025091201
公報種別
公開特許公報(A)
公開日
2025-06-18
出願番号
2023206328
出願日
2023-12-06
発明の名称
包装箱
出願人
レンゴー株式会社
代理人
個人
,
個人
主分類
B65D
5/66 20060101AFI20250611BHJP(運搬;包装;貯蔵;薄板状または線条材料の取扱い)
要約
【課題】箱本体の撓みによる意図しないロック解除を抑制可能な包装箱に関し、部品点数の増加防止と構造の簡素化を図る。
【解決手段】包装箱1は、筒状の外周壁11及び閉塞壁20を有する箱本体10と、蓋本体部41、前板部43、及び側板部44を有する蓋体40と、箱本体10に対して蓋体40を開放可能にロックするロック部50と、前板14の蓋体40側の縁に連設された前フラップ26と、側板15の蓋体40側の縁に連設された側フラップ27と、前フラップ26の側フラップ27側の縁に連設されて閉塞壁20側に折り込まれた前折込片30と、側フラップ27の前フラップ26側の縁に連設されて閉塞壁20側に折り込まれて前折込片30に当接する側折込片31とを備える。
【選択図】図3
特許請求の範囲
【請求項1】
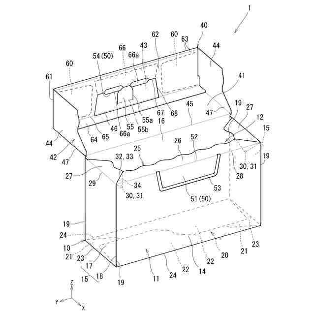
前板と前記前板に連なる側板とを含む筒状の外周壁、及び前記外周壁の軸方向の第1端に連なり前記第1端の開口を閉塞した閉塞壁を有する箱本体と、
前記外周壁の軸方向の第2端に配置される蓋本体部、前記蓋本体部に連なり前記前板の外側に重ねて配置される前板部、及び前記蓋本体部と前記前板部にそれぞれ連なり前記側板の外側に重ねて配置される側板部を有し、前記外周壁の前記第2端の開口を開放可能に閉塞する蓋体と、
前記前板と前記前板部、又は前記側板と前記側板部に形成され、前記箱本体に対して前記蓋体を開放可能にロックするロック部と、
前記前板の前記蓋体側の縁に連設され、前記蓋本体部に沿って延びる前フラップと、
前記側板の前記蓋体側の縁に連設され、前記蓋本体部に沿って延びる側フラップと、
前記前フラップの前記側フラップ側の縁に連設され、前記閉塞壁側に折り込まれた前折込片と、
前記側フラップの前記前フラップ側の縁に連設され、前記閉塞壁側に折り込まれて前記前折込片に当接する側折込片と
を備える、包装箱。
続きを表示(約 750 文字)
【請求項2】
前記前折込片及び前記側折込片は、いずれも三角形状で、
前記前折込片の一辺と前記側折込片の一辺とは、第1折曲部を介して連なっている、請求項1に記載の包装箱。
【請求項3】
前記前フラップの前記側フラップ側の縁と前記側フラップの前記前フラップ側の縁とは、互いに突き当たり、
前記前折込片と前記側折込片は面接触している、請求項1又は2に記載の包装箱。
【請求項4】
前記蓋体の前記蓋本体部は、前記箱本体に対し、前記前板と対向する後板の前記蓋体側の縁に第2折曲部を介して連なっている、請求項1又は2に記載の包装箱。
【請求項5】
前記箱本体の前記外周壁は、前記前板、前記前板の両側にそれぞれ連なる一対の前記側板、及び前記一対の側板にそれぞれ連なる前記後板を有する四角筒状で、
前記蓋体は、前記蓋本体部、前記蓋本体部の前縁に連なる前記前板部、及び前記蓋本体部及び前記前板部それぞれの両側に連なる一対の前記側板部を有し、
前記ロック部は、前記前板と前記前板部に設けられている、請求項4に記載の包装箱。
【請求項6】
前記ロック部は、
前記前フラップ又は前記側フラップに第3折曲部を介して連なり、前記前板又は前記側板に対して外側へ弾性的に変位可能なロック片と、
前記ロック片と対応するように前記前板部又は前記側板部に設けられ、前記ロック片が係止可能なロック受部と
を有し、
前記ロック受部が設けられた前記前板部又は前記側板部には、前記ロック片を内側に押し込んで前記ロック受部への前記ロック片の係止を解除可能な操作部が設けられている、請求項1又は2に記載の包装箱。
発明の詳細な説明
【技術分野】
【0001】
本発明は、包装箱に関する。
続きを表示(約 1,800 文字)
【背景技術】
【0002】
特許文献1に開示された包装箱は、有底四角筒状の箱本体と、箱本体の開口を開放可能に閉塞する蓋体とを備える。蓋体は、箱本体の外周壁の外側に重ねて配置される枠壁部を備え、箱本体とは別体又は箱本体の外周壁を構成する複数の側板のうちの1つに連設されている。箱本体の外周壁と蓋体の枠壁部には、箱本体に対して蓋体を開放可能にロックするロック部が形成されている。
【0003】
特許文献2には、包装箱の蓋体に用いられる空間保持具が開示されている。この空間保持具は、蓋体とは別体で、蓋体内への配置によって、蓋本体部からV字状に突出する。また、空間保持具は、箱本体の開口を蓋体で閉塞することによって、箱本体内の上部に入り込み、箱本体の外周壁の内向きの撓みを抑制可能である。
【先行技術文献】
【特許文献】
【0004】
特表2022-540895号
意匠登録第1727690号
【発明の概要】
【発明が解決しようとする課題】
【0005】
特許文献1の包装箱では、外力によって箱本体の外周壁が内側へ撓むため、ロック部によるロックが意図せずに解除され、蓋体が開放する可能性がある。特許文献1の蓋体に特許文献2の空間保持具を適用し、空間保持具によって箱本体の外周壁の撓みを抑制すれば、撓みによる意図しないロック解除は抑制できる。しかし、この場合、包装箱を構成する部品点数が多くなり、構造も複雑になるという不都合がある。
【0006】
本発明は、箱本体の撓みによる意図しないロック解除を抑制可能な包装箱に関し、部品点数の増加防止と構造の簡素化を図ることを課題とする。
【課題を解決するための手段】
【0007】
本発明は、前板と前記前板に連なる側板とを含む筒状の外周壁、及び前記外周壁の軸方向の第1端に連なり前記第1端の開口を閉塞した閉塞壁を有する箱本体と、前記外周壁の軸方向の第2端に配置される蓋本体部、前記蓋本体部に連なり前記前板の外側に重ねて配置される前板部、及び前記蓋本体部と前記前板部にそれぞれ連なり前記側板の外側に重ねて配置される側板部を有し、前記外周壁の前記第2端の開口を開放可能に閉塞する蓋体と、前記前板と前記前板部、又は前記側板と前記側板部に形成され、前記箱本体に対して前記蓋体を開放可能にロックするロック部と、前記前板の前記蓋体側の縁に連設され、前記蓋本体部に沿って延びる前フラップと、前記側板の前記蓋体側の縁に連設され、前記蓋本体部に沿って延びる側フラップと、前記前フラップの前記側フラップ側の縁に連設され、前記閉塞壁側に折り込まれた前折込片と、前記側フラップの前記前フラップ側の縁に連設され、前記閉塞壁側に折り込まれて前記前折込片に当接する側折込片とを備える、包装箱を提供する。
【0008】
箱本体は、前板に連設された前フラップと、側板に連設された側フラップとを備え、これらには互いに当接する折込片が連設されている。これにより、箱本体の前板に外力が加わったとき、側折込片に前折込片が当接し、側フラップの突っ張りによって、前板の撓みを抑制できる。一方で、箱本体の側板に外力が加わったとき、前折込片に側折込片が当接し、前フラップの突っ張りによって、側板の撓みを抑制できる。そのため、撓みによる箱本体と蓋体のロック部のロック解除を抑制でき、意図しない蓋体の開放を抑制できる。
【0009】
撓みを抑制するためのフラップは前板と側板にそれぞれ連設され、折込片はフラップにそれぞれ連設されているため、包装箱を構成する部位点数の増加を防止でき、構造も簡素化できる。しかも、前板に対して前フラップを折り曲げると同時に、側板に対して側フラップを折り曲げ、これらと同時に、前フラップに対して前折込片を折り曲げると同時に、側フラップに対して側折込片を折り曲げることによって、補強壁を組み立てることができる。よって、蓋体に別部材からなる空間保持具を用いる場合と比較して、組立作業性を向上できる。
【発明の効果】
【0010】
本発明では、箱本体の撓みによる意図しないロック解除を抑制可能な包装箱に関し、部品点数の増加防止と構造の簡素化を図ることができる。
【図面の簡単な説明】
(【0011】以降は省略されています)
この特許をJ-PlatPat(特許庁公式サイト)で参照する
関連特許
他の特許を見る