TOP
|
特許
|
意匠
|
商標
特許ウォッチ
Twitter
他の特許を見る
10個以上の画像は省略されています。
公開番号
2025091176
公報種別
公開特許公報(A)
公開日
2025-06-18
出願番号
2023206273
出願日
2023-12-06
発明の名称
マイクロホン装置
出願人
株式会社デンソー
,
トヨタ自動車株式会社
,
株式会社ミライズテクノロジーズ
代理人
弁理士法人ゆうあい特許事務所
主分類
H04R
3/00 20060101AFI20250611BHJP(電気通信技術)
要約
【課題】レイテンシの増加を抑制しつつ、ディジタル信号処理を行うマイクロホン装置を提供する。
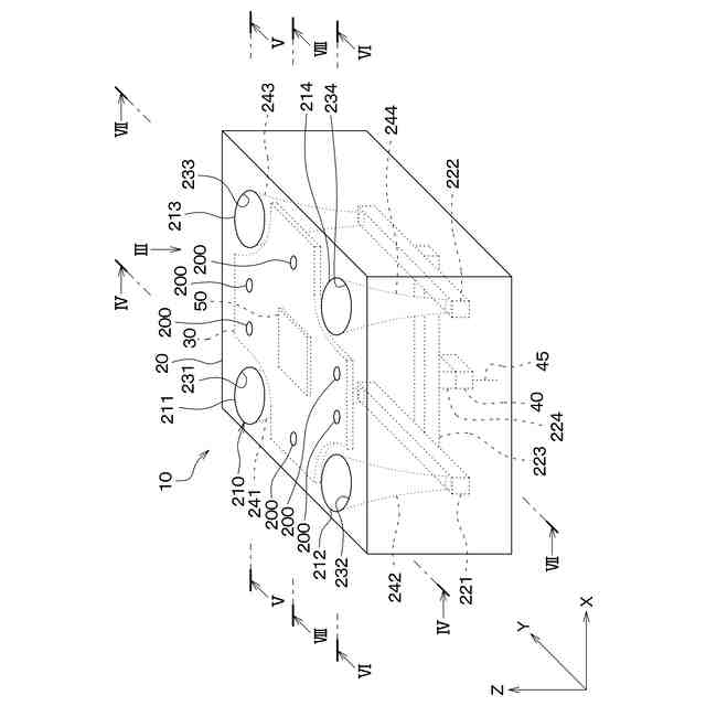
【解決手段】マイクロホン装置10は、開口部200と、ホーン開口部231およびホーン開口部231から一方向に延びているホーン管241を含むホーン211とを有する筐体20と、開口部200を伝搬した音をアナログ信号に変換するマイクロホンと、ホーン211を伝搬した音をアナログ信号に変換するホーンマイクロホン40と、ホーンマイクロホン40からのアナログ信号を出力するアナログ配線45と、アナログ配線45とは異なる配線を介してホーンマイクロホン40からのアナログ信号を取得し、マイクロホンおよびホーンマイクロホン40からのアナログ信号をディジタル信号に変換するADCチップ50と、ADCチップ50によって変換されたディジタル信号に対してディジタル信号処理を行う処理部と、を備える。
【選択図】図2
特許請求の範囲
【請求項1】
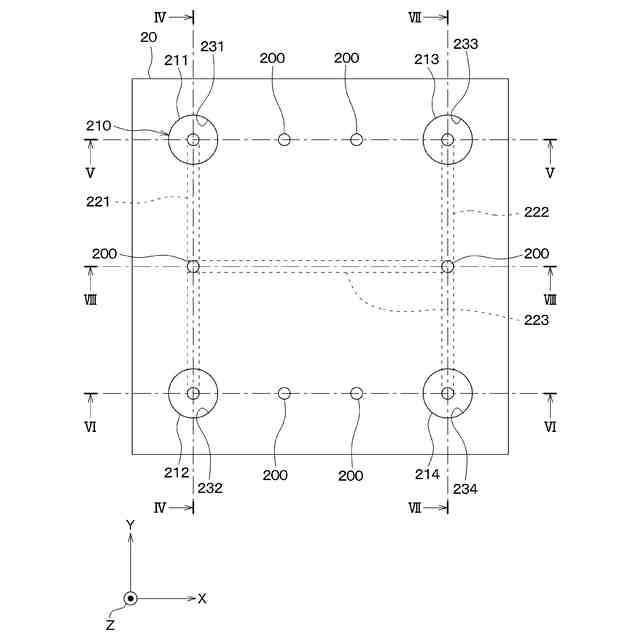
開口している開口部(200)と、前記開口部とは異なる位置に形成されているとともに開口しているホーン開口部(231)および前記ホーン開口部と接続されているとともに一方向に延びているホーン管(241)を含むホーン(211)とを有する筐体(20)と、
前記筐体に収容されているとともに、前記開口部を伝搬した音をアナログ信号に変換するマイクロホン(35)と、
前記筐体に収容されているとともに、前記ホーンを伝搬した音をアナログ信号に変換するホーンマイクロホン(40)と、
前記筐体に収容されているとともに、前記ホーンマイクロホンからのアナログ信号を出力するアナログ配線(45)と、
前記マイクロホンからのアナログ信号を取得するとともに、前記アナログ配線とは異なる配線(55)を介して前記ホーンマイクロホンからのアナログ信号を取得し、前記マイクロホンおよび前記ホーンマイクロホンからのアナログ信号をディジタル信号に変換する変換部(50)と、
前記変換部によって変換されたディジタル信号に対して、ディジタル信号処理を行う処理部(60)と、
を備えるマイクロホン装置。
続きを表示(約 3,300 文字)
【請求項2】
前記筐体は、前記ホーンを複数有する請求項1に記載のマイクロホン装置。
【請求項3】
前記ホーン開口部は、第1ホーン開口部であって、
前記ホーン管は、第1ホーン管であって、
前記ホーンは、第1ホーンであって、
前記筐体は、
第2ホーン(212)と、
第3ホーン(213)と、
第4ホーン(214)と、
第1音響管(221)と、
第2音響管(222)と、
第3音響管(223)と、
第4音響管(224)と、
をさらに有し、
前記第2ホーンは、第2ホーン開口部(232)および第2ホーン管(242)を含み、
前記第2ホーン開口部は、前記開口部および前記第1ホーン開口部とは異なる位置に形成されているとともに、前記第1ホーン開口部が開口している方向を向いて開口しており、
前記第2ホーン管は、前記第2ホーン開口部と接続されているとともに前記一方向に延びており、
前記第3ホーンは、第3ホーン開口部(233)および第3ホーン管(243)を含み、
前記第3ホーン開口部は、前記開口部、前記第1ホーン開口部および前記第2ホーン開口部とは異なる位置に形成されているとともに、前記第1ホーン開口部が開口している方向を向いて開口しており、
前記第3ホーン管は、前記第3ホーン開口部と接続されているとともに前記一方向に延びており、
前記第4ホーンは、第4ホーン開口部(234)および第4ホーン管(244)を含み、
前記第4ホーン開口部は、前記開口部、前記第1ホーン開口部、前記第2ホーン開口部および前記第3ホーン開口部とは異なる位置に形成されているとともに、前記第1ホーン開口部が開口している方向を向いて開口しており、
前記第4ホーン管は、前記第4ホーン開口部と接続されているとともに前記一方向に延びており、
前記第1ホーンおよび前記第2ホーンは、前記一方向と直交する方向に並んでおり、
前記第1ホーンおよび前記第3ホーンは、前記一方向ならびに前記第1ホーンおよび前記第2ホーンが並ぶ方向と直交する方向に並んでおり、
前記第2ホーンおよび前記第4ホーンは、前記一方向ならびに前記第1ホーンおよび前記第2ホーンが並ぶ方向と直交する方向に並んでおり、
前記第3ホーンおよび前記第4ホーンは、前記第1ホーンおよび前記第2ホーンが並ぶ方向に並んでおり、
前記第1音響管は、前記第1ホーン管および前記第2ホーン管と接続されているとともに、前記一方向と交差する方向に延びており、
前記第2音響管は、前記第3ホーン管および前記第4ホーン管と接続されているとともに、前記第1音響管が延びている方向に延びており、
前記第3音響管は、前記第1音響管および前記第2音響管と接続されているとともに、前記一方向および前記第1音響管が延びている方向と交差する方向に延びており、
前記第4音響管は、前記第3音響管のうち前記第1音響管および前記第2音響管の間と接続されているとともに、前記第3音響管が延びている方向と交差する方向に延びており、
前記ホーンマイクロホンは、
前記第1ホーン、前記第1音響管、前記第3音響管および前記第4音響管を伝搬した音と、
前記第2ホーン、前記第1音響管、前記第3音響管および前記第4音響管を伝搬した音と、
前記第3ホーン、前記第2音響管、前記第3音響管および前記第4音響管を伝搬した音と、
前記第4ホーン、前記第2音響管、前記第3音響管および前記第4音響管を伝搬した音と、
をアナログ信号に変換する請求項1に記載のマイクロホン装置。
【請求項4】
前記筐体は、
第1層(251)と、
前記第1層と前記一方向に接続されている第2層(252)と、
前記第2層のうち前記第1層とは反対側と接続されている第3層(253)と、
前記第3層のうち前記第2層とは反対側と接続されている第4層(254)と、
をさらに有し、
前記第1層には、前記第1ホーン、前記第2ホーン、前記第3ホーンおよび前記第4ホーンが形成されており、
前記第2層には、前記第1音響管および前記第2音響管が形成されており、
前記第3層には、前記第3音響管が形成されており、
前記第4層には、前記第4音響管が形成されている請求項3に記載のマイクロホン装置。
【請求項5】
前記第4層には、前記ホーンマイクロホンが収容されている請求項4に記載のマイクロホン装置。
【請求項6】
前記筐体は、前記第3層を、前記第2層に対して、前記一方向と直交する方向かつ前記第1音響管が延びている方向に相対移動させるガイド部(261)を有する請求項4に記載のマイクロホン装置。
【請求項7】
前記筐体は、前記第3層を、前記第4層に対して、前記一方向と直交する方向かつ前記第3音響管が延びている方向に相対移動させるガイド部(262)を有する請求項4に記載のマイクロホン装置。
【請求項8】
前記筐体は、前記第3音響管のうち前記第1音響管および前記第2音響管の間と接続されているとともに、前記第3音響管が延びている方向と交差する方向に延びている第5音響管(225)を有し、
前記第4音響管は、前記第3音響管のうち前記第1音響管側と接続されており、
前記第5音響管は、前記第3音響管のうち前記第2音響管側と接続されており、
前記第4音響管および前記第5音響管は、前記第3音響管が延びている方向に並んでおり、
前記ホーンマイクロホンは、第1ホーンマイクロホンであって、
前記マイクロホン装置は、第2ホーンマイクロホン(402)をさらに備え、
前記第1ホーンマイクロホンおよび前記第2ホーンマイクロホンは、前記第3音響管が延びている方向に並んでおり、
前記第1ホーンマイクロホンは、
前記第1ホーン、前記第1音響管、前記第3音響管および前記第4音響管を伝搬した音と、
前記第2ホーン、前記第1音響管、前記第3音響管および前記第4音響管を伝搬した音と、
前記第3ホーン、前記第2音響管、前記第3音響管および前記第4音響管を伝搬した音と、
前記第4ホーン、前記第2音響管、前記第3音響管および前記第4音響管を伝搬した音と、
をアナログ信号に変換し、
前記第2ホーンマイクロホンは、
前記第1ホーン、前記第1音響管、前記第3音響管および前記第5音響管を伝搬した音と、
前記第2ホーン、前記第1音響管、前記第3音響管および前記第5音響管を伝搬した音と、
前記第3ホーン、前記第2音響管、前記第3音響管および前記第5音響管を伝搬した音と、
前記第4ホーン、前記第2音響管、前記第3音響管および前記第5音響管を伝搬した音と、
をアナログ信号に変換する請求項3ないし6のいずれか1つに記載のマイクロホン装置。
【請求項9】
前記一方向と直交する方向に切断したときの前記ホーン管の断面積は、前記ホーン管のうち前記ホーン開口部とは反対側から前記ホーン開口部側に向かうことに伴って、大きくなっている請求項1ないし3のいずれか1つに記載のマイクロホン装置。
【請求項10】
前記処理部は、前記変換部によって変換されたディジタル信号に対して音源分離を行うことにより、前記変換部によって変換されたディジタル信号に含まれるノイズを、前記ホーンマイクロホンからのアナログ信号に含まれるノイズよりも小さくする請求項1ないし3のいずれか1つに記載のマイクロホン装置。
発明の詳細な説明
【技術分野】
【0001】
本開示は、マイクロホン装置に関するものである。
続きを表示(約 2,000 文字)
【背景技術】
【0002】
従来、特許文献1に記載されているように、複数の音響ポートと、各音響ポートに接続されている音響通路と、音源から音響ポートおよび音響通路を介して伝搬される音響信号を電気信号に変換するカプセルと、を備える音響システムが知られている。
【先行技術文献】
【特許文献】
【0003】
特表2005-536113号公報
【発明の概要】
【発明が解決しようとする課題】
【0004】
特許文献1に記載され音響システムにおいて、カプセルによって変換された電気信号に対して、ノイズ低減等のディジタル信号処理を行うことがある。この場合、通信の遅延時間であるレイテンシが増加する。レイテンシが増加すると、例えば、通話の発話タイミングが重なる等が生じることから、通話が困難になるため、通話の品質が低下する。また、ディジタル信号処理が行われないと、ノイズにより、通話が困難になるため、通話の品質が低下する。
【0005】
本開示は、レイテンシの増加を抑制しつつ、ディジタル信号処理を行うマイクロホン装置を提供することを目的とする。
【課題を解決するための手段】
【0006】
請求項1に記載の発明は、開口している開口部(200)と、開口部とは異なる位置に形成されているとともに開口しているホーン開口部(231)およびホーン開口部と接続されているとともに一方向に延びているホーン管(241)を含むホーン(211)とを有する筐体(20)と、筐体に収容されているとともに、開口部を伝搬した音をアナログ信号に変換するマイクロホン(35)と、筐体に収容されているとともに、ホーンを伝搬した音をアナログ信号に変換するホーンマイクロホン(40)と、筐体に収容されているとともに、ホーンマイクロホンからのアナログ信号を出力するアナログ配線(45)と、マイクロホンからのアナログ信号を取得するとともに、アナログ配線とは異なる配線(55)を介してホーンマイクロホンからのアナログ信号を取得し、マイクロホンおよびホーンマイクロホンからのアナログ信号をディジタル信号に変換する変換部(50)と、変換部によって変換されたディジタル信号に対して、ディジタル信号処理を行う処理部(60)と、を備えるマイクロホン装置である。
【0007】
アナログ配線からの出力される信号は、ディジタル信号処理されないため、レイテンシの増加が抑制された信号とされる。また、処理部では、ディジタル信号処理が行われる。したがって、マイクロホン装置は、レイテンシの増加を抑制しつつ、ディジタル信号処理を行う。
【0008】
なお、各構成要素等に付された括弧付きの参照符号は、その構成要素等と後述する実施形態に記載の具体的な構成要素等との対応関係の一例を示すものである。
【図面の簡単な説明】
【0009】
第1実施形態のマイクロホン装置の構成図。
マイクロホン装置の斜視図。
図2のIIIから見た拡大図。
図2のIV-IV線拡大断面図。
図2のV-V線拡大断面図。
図2のVI-VI線拡大断面図。
図2のVII-VII線拡大断面図。
図2のVIII-VIII線拡大断面図。
マイクロホン装置の指向性生成器の上面図。
図9のXから見た図。
図9のXIから見た図。
平面波の音波が第1角度にて指向性生成器に入射するときの様子を示す模式図。
平面波の音波が第2角度にて指向性生成器に入射するときの様子を示す模式図。
音波の各周波数における第1角度、第2角度およびマイクロホン装置のホーンマイクロホンにて集音される音波のゲインの関係を示す分布図。
第1角度が固定された場合の音波の各周波数における第2角度およびホーンマイクロホンにて集音される音波のゲインの関係を示す図。
第1角度が固定された場合の第2角度、音波の各周波数およびホーンマイクロホンにて集音される音波のゲインの関係を示す分布図。
第2実施形態のマイクロホン装置の斜視図。
マイクロホン装置の分解斜視図。
マイクロホン装置の断面図。
第3実施形態のマイクロホン装置の分解斜視図。
第4実施形態のマイクロホン装置の分解斜視図。
第5実施形態のマイクロホン装置の断面図。
マイクロホン装置の構成図。
【発明を実施するための形態】
【0010】
以下、実施形態について図面を参照しつつ説明する。なお、以下の各実施形態相互において、互いに同一もしくは均等である部分には、同一符号を付し、その説明を省略する。
(【0011】以降は省略されています)
この特許をJ-PlatPat(特許庁公式サイト)で参照する
関連特許
他の特許を見る