TOP
|
特許
|
意匠
|
商標
特許ウォッチ
Twitter
他の特許を見る
公開番号
2025091161
公報種別
公開特許公報(A)
公開日
2025-06-18
出願番号
2023206250
出願日
2023-12-06
発明の名称
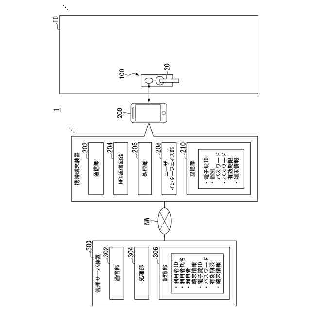
電子錠装置、電子錠システム、および解錠方法
出願人
TOPPANホールディングス株式会社
代理人
個人
,
個人
,
個人
,
個人
主分類
E05B
49/00 20060101AFI20250611BHJP(錠;鍵;窓または戸の付属品;金庫)
要約
【課題】常時接続の電源装置およびサーバ装置に接続することなく特定期間が経過したことに応じて簡単に解錠をする。
【解決手段】本開示の一態様は、電子機器から認証情報を取得するアンテナ部と、自装置の認証情報と、有効期限とを記憶する記憶部と、アンテナ部により発生した電力を用いて動作する認証部および施解錠部とを備え、認証部は、時計部により生成された日時が有効期限を経過している場合には認証を行わず、時計部により生成された日時が前記有効期限を経過していない場合には記憶部に記憶された認証情報とアンテナ部により取得した認証情報とに基づいて認証を行い、認証結果に基づいて施解錠部を動作させる、電子錠装置、である。
【選択図】図1
特許請求の範囲
【請求項1】
日時情報を生成する時計部と、
前記時計部に電力を供給する電源部と、
電子機器から出力された電磁波により電力を発生し、前記電子機器から認証情報を取得するアンテナ部と、
自装置の認証情報と、前記認証情報の有効期限を示す有効期限情報とを記憶する記憶部と、
前記アンテナ部により発生した電力を用いて動作する認証部と、
前記アンテナ部により発生した電力を用いて動作する施解錠部とを備え、
前記認証部は、
前記時計部により生成された日時情報の日時が前記有効期限情報が示す有効期限を経過している場合には認証を行わず、
前記時計部により生成された日時情報の日時が前記有効期限情報が示す有効期限を経過していない場合には前記記憶部に記憶された認証情報と前記アンテナ部により取得した前記認証情報とに基づいて認証を行い、認証結果に基づいて前記施解錠部を動作させる、
電子錠装置。
続きを表示(約 1,500 文字)
【請求項2】
前記認証部は、
前記時計部により生成された日時情報の日時が前記有効期限情報が示す有効期限を経過している場合に認証を行わずに前記施解錠部に解錠信号を出力し、
前記時計部により生成された日時情報の日時が前記有効期限情報が示す有効期限を経過していない場合には前記記憶部に記憶された認証情報と前記アンテナ部により取得した前記認証情報とに基づいて認証を行い、認証が成功したことに基づいて前記施解錠部に解錠信号を出力する、
請求項1に記載の電子錠装置。
【請求項3】
前記認証部は、前記時計部により生成された日時情報の日時が前記有効期限情報が示す有効期限を経過している場合において、新規の利用者であると判定した場合、前記アンテナ部により取得した前記認証情報および前記有効期限情報を前記記憶部に更新して記憶させる、
請求項1または2に記載の電子錠装置。
【請求項4】
前記認証部は、前記時計部により生成された日時情報の日時が前記有効期限情報が示す有効期限を経過している場合において、新規の利用者ではないと判定した場合、認証を行わずに前記施解錠部を施錠状態に維持する、
請求項3に記載の電子錠装置。
【請求項5】
前記認証部は、前記施解錠部を施錠状態に維持した場合において、前記アンテナ部により取得した要求に応じて前記認証情報および前記有効期限情報を前記記憶部に更新して記憶させる、
請求項4に記載の電子錠装置。
【請求項6】
複数の電子錠装置と、管理サーバ装置とを備える電子錠システムにおいて、
前記管理サーバ装置は、前記複数の電子錠装置のそれぞれに同じ有効期限を示す有効期限情報を送信し、
前記複数の電子錠装置のそれぞれは、
日時情報を生成する時計部と、
前記時計部に電力を供給する電源部と、
電子機器から出力された電磁波により電力を発生し、前記電子機器から認証情報を取得するアンテナ部と、
前記管理サーバ装置から送信された有効期限情報と、認証情報とを記憶する記憶部と、
前記アンテナ部により発生した電力を用いて動作する認証部と、
前記アンテナ部により発生した電力を用いて動作する施解錠部とを備え、
前記認証部は、
前記時計部により生成された日時情報の日時が前記有効期限情報が示す有効期限を経過している場合には認証を行わず、
前記時計部により生成された日時情報の日時が前記有効期限情報が示す有効期限を経過していない場合には前記記憶部に記憶された認証情報と前記アンテナ部により取得した前記認証情報とに基づいて認証を行い、認証結果に基づいて前記施解錠部を動作させる、
電子錠システム。
【請求項7】
電子錠装置の記憶部が、自装置の認証情報と、前記認証情報の有効期限を示す有効期限情報とを記憶するステップと、
前記電子錠装置のアンテナ部が電子機器から出力された電磁波により電力を発生し、前記電子機器から認証情報を取得するステップと、
前記電子錠装置の認証部が、前記アンテナ部により発生した電力を用いて動作し、電源部からの電力により動作する時計部により生成された日時情報の日時が前記有効期限情報が示す有効期限を経過している場合には認証を行わず、前記時計部により生成された日時情報の日時が前記有効期限情報が示す有効期限を経過していない場合には前記記憶部に記憶された認証情報と前記アンテナ部により取得した前記認証情報とに基づいて認証を行い、認証結果に基づい解錠を行うステップと、
を含む、解錠方法。
発明の詳細な説明
【技術分野】
【0001】
本発明は、電子錠装置、電子錠システム、および解錠方法に関する。
続きを表示(約 2,100 文字)
【背景技術】
【0002】
従来、電子鍵と電子錠とが通信を行って施錠および解錠を制御する電子錠システムが知られている。
例えば、特許文献1の電子施解錠装置は、通信部により抽出されたコードと認証コードとが一致していると判別した場合には、施解錠部に解錠動作信号を出力し、解錠動作信号の出力から施錠動作設定時間の経過後に、施解錠部に対し施錠動作信号を出力する。電子施解錠装置は、解錠動作信号の出力から施錠動作信号の出力までの間に、扉の開放が感知されない場合には、施錠動作信号の出力から解錠動作設定時間の経過後に、施解錠部に解錠動作信号を出力する。
【先行技術文献】
【特許文献】
【0003】
特開2004-137762号公報
【発明の概要】
【発明が解決しようとする課題】
【0004】
特許文献1に記載された電子施解錠装置は、外部電源に接続されることを前提としているので、外部電源と接続する場合には設備導入のための費用が高くなってしまう。
【0005】
例えば学校などに設置されているロッカーのように、多数の電子錠ロッカーのそれぞれを特定の期間において特定の利用者に貸し出す場合、利便性のために、特定の期間が到来すると一斉に各電子錠ロッカーのパスワードをリセットすることや、多数の新規利用者が簡単な操作で電子錠ロッカーを利用することできることが望ましい。また、利便性を高くするためには、ネットワークを介して多数の電子錠ロッカーと管理サーバ装置とを接続し、管理サーバ装置によって多数の電子錠ロッカーを一斉に制御することが考えられるが、ネットワークや管理サーバの導入などによりコストが高くなることが懸念される。
【0006】
管理者用パスワードを予め電子錠ロッカーおよび管理者端末に記憶させておき、特定の期間が経過した後に管理者が電子錠ロッカーをリセットすることも可能である。しかし、学校の生徒数が多くなるほど作業時間や多くの労力が必要になる。
【0007】
特定の期間の経過前に電子錠ロッカーを解錠する必要がある場合、管理者用パスワードを電子錠ロッカーに記憶させておき、電子錠ロッカーが新規利用者の端末から管理者用パスワードを受け付けたことに応じて電子錠ロッカーの個別パスワードを認証することなしに解錠することが考えられる。しかし、新規利用者の端末が悪用される恐れがあり、セキュリティ的な問題がある。
【0008】
本開示は、このような事情に鑑みてなされたものであり、常時接続の電源装置およびサーバ装置に接続することなく特定期間が経過したことに応じて簡単に解錠をすることができる電子錠装置、電子錠システム、および解錠方法を提供することを目的としている。
【課題を解決するための手段】
【0009】
本開示は上述した課題を解決するためになされたもので、本開示の一態様は、日時情報を生成する時計部と、前記時計部に電力を供給する電源部と、電子機器から出力された電磁波により電力を発生し、前記電子機器から認証情報を取得するアンテナ部と、自装置の認証情報と、前記情報の有効期限を示す有効期限情報とを記憶する記憶部と、前記アンテナ部により発生した電力を用いて動作する認証部と、前記アンテナ部により発生した電力を用いて動作する施解錠部とを備え、前記認証部は、前記時計部により生成された日時情報の日時が前記有効期限情報が示す有効期限を経過している場合には認証を行わず、前記時計部により生成された日時情報の日時が前記有効期限情報が示す有効期限を経過していない場合には前記記憶部に記憶された認証情報と前記アンテナ部により取得した前記認証情報とに基づいて認証を行い、認証結果に基づいて前記施解錠部を動作させる、電子錠装置、である。
【0010】
本開示の他の態様は、複数の電子錠装置と、管理サーバ装置とを備える電子錠システムにおいて、前記管理サーバ装置は、前記複数の電子錠装置のそれぞれに同じ有効期限を示す有効期限情報を送信し、前記複数の電子錠装置のそれぞれは、日時情報を生成する時計部と、前記時計部に電力を供給する電源部と、電子機器から出力された電磁波により電力を発生し、前記電子機器から認証情報を取得するアンテナ部と、前記管理サーバ装置から送信された有効期限情報と、認証情報とを記憶する記憶部と、前記アンテナ部により発生した電力を用いて動作する認証部と、前記アンテナ部により発生した電力を用いて動作する施解錠部とを備え、前記認証部は、前記時計部により生成された日時情報の日時が前記有効期限情報が示す有効期限を経過している場合には認証を行わず、前記時計部により生成された日時情報の日時が前記有効期限情報が示す有効期限を経過していない場合には前記記憶部に記憶された認証情報と前記アンテナ部により取得した前記認証情報とに基づいて認証を行い、認証結果に基づいて前記施解錠部を動作させる、電子錠システム、である。
(【0011】以降は省略されています)
この特許をJ-PlatPat(特許庁公式サイト)で参照する
関連特許
他の特許を見る