TOP
|
特許
|
意匠
|
商標
特許ウォッチ
Twitter
他の特許を見る
10個以上の画像は省略されています。
公開番号
2025091156
公報種別
公開特許公報(A)
公開日
2025-06-18
出願番号
2023206237
出願日
2023-12-06
発明の名称
口腔内光照射装置
出願人
日本PBM Healing株式会社
代理人
個人
,
個人
,
個人
主分類
A61C
7/08 20060101AFI20250611BHJP(医学または獣医学;衛生学)
要約
【課題】良好な装着感を有し且つ矯正歯の歯茎や歯槽粘膜に的確に光照射することができる口腔内光照射装置を提供する。
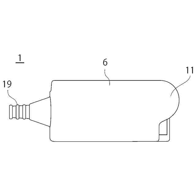
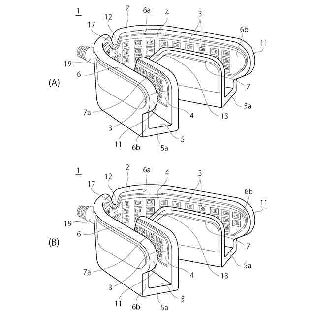
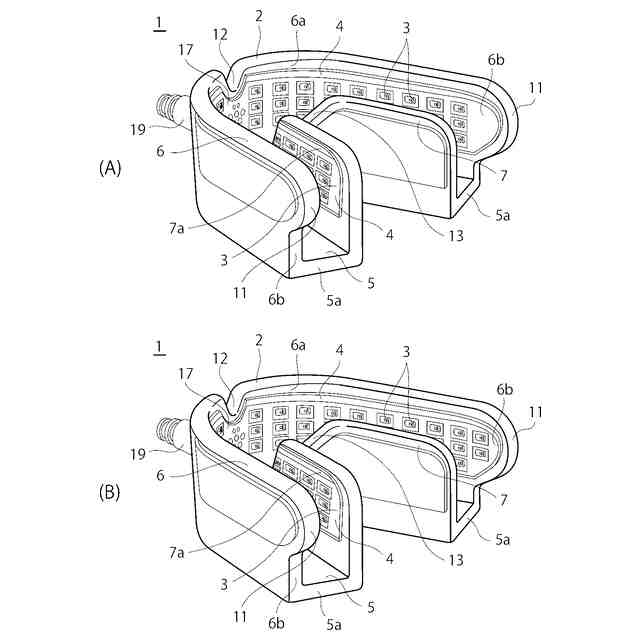
【解決手段】口腔内光照射装置1は、U字状に形成されたマウスピース2と、マウスピース2に配設され、装着者の歯茎に光を照射する複数の光エミッタ3が設けられた光源4とを有し、マウスピース2は、U字状に形成された咬合トレイ5と、装着者の歯茎の外面と対峙する前フランジ6と、装着者の歯茎の内面と対峙する後フランジ7とを有し、前フランジ6及び後フランジ7は光透過性を有し、光源4は、前フランジ6の内周面及び後フランジ7の外周面から光照射可能に配設され、前フランジ6の端部に、咬合トレイ5から前フランジ6の延在方向に張り出す突出部11が形成されている。
【選択図】図7
特許請求の範囲
【請求項1】
口腔内に装着され、装着者の歯列に応じてU字状に形成されたマウスピースと、
マウスピースに配設され、複数の光エミッタが設けられた光源とを有し、
前記光エミッタから装着者の歯茎に光を照射する口腔内光治療装置において、
前記マウスピースは、
装着者の歯列に応じてU字状に形成された咬合トレイと、
前記咬合トレイの一側縁から前記一側縁に沿って立設され、装着者の歯茎の外面と対峙する前フランジと、
前記咬合トレイの他側縁から前記他側縁に沿って立設され、装着者の歯茎の内面と対峙する後フランジとを有し、
前記前フランジ及び前記後フランジは光透過性を有し、前記光源は、前記前フランジの内周面及び前記後フランジの外周面から光照射可能に配設され、
前記前フランジの端部に、前記咬合トレイから前記前フランジの延在方向に張り出す突出部が形成されている口腔内光治療装置。
続きを表示(約 1,300 文字)
【請求項2】
前記前フランジの前記端部は、側面視において円弧状に形成されている請求項1に記載の口腔内光治療装置。
【請求項3】
前記後フランジの端部は、前記咬合トレイの端部と面一に形成されている請求項1又は2に記載の口腔内光治療装置。
【請求項4】
前記光源が前記突出部にも配設されている請求項1又は2に記載の口腔内光治療装置。
【請求項5】
口腔内に装着され、装着者の歯列に応じてU字状に形成されたマウスピースと、
マウスピース内に配設された光エミッタが設けられた光源とを有し、
前記光エミッタから装着者の歯茎に光を照射する口腔内光治療装置において、
前記マウスピースは、
装着者の歯列に応じてU字状に形成された咬合トレイと、
前記咬合トレイの一側縁から前記一側縁に沿って立設され、装着者の歯茎の外面と対峙する前フランジと、
前記咬合トレイの他側縁から前記他側縁に沿って立設され、装着者の歯茎の内面と対峙する後フランジとを有し、
前記前フランジ及び前記後フランジは光透過性を有し、前記光源は、前記前フランジの内周面及び前記後フランジの外周面から光照射可能に配設され、
前記前フランジは、上面から下方へ、前記装着者の上唇小帯又は下唇小帯が位置されるスリットが形成されている口腔内光治療装置。
【請求項6】
前記後フランジは、上面から下方へ、前記装着者の舌小帯が位置されるスリットが形成されている請求項5に記載の口腔内光治療装置。
【請求項7】
前記光源を制御可能なコントローラを有し、
前記コントローラがケーブルを介して前記マウスピースと着脱可能に接続されている請求項1又は5に記載の口腔内光治療装置。
【請求項8】
前記光源を駆動する外部電源ユニットを備え、
前記外部電源ユニットがケーブルを介して前記コントローラと着脱可能に接続されている請求項7に記載の口腔内光治療装置。
【請求項9】
前記光源を駆動する電源が、前記マウスピース又は前記コントローラに内蔵されている請求項7に記載の口腔内光治療装置。
【請求項10】
口腔内に装着され、装着者の歯列に応じてU字状に形成されたマウスピースと、
マウスピース内に配設された光エミッタが設けられた光源とを有し、
前記光エミッタから装着者の歯茎に光を照射する口腔内光治療装置において、
前記マウスピースは、
装着者の歯列に応じてU字状に形成された咬合トレイと、
前記咬合トレイの一側縁から前記一側縁に沿って立設され、装着者の歯茎の外面と対峙する前フランジと、
前記咬合トレイの他側縁から前記他側縁に沿って立設され、装着者の歯茎の内面と対峙する後フランジとを有し、
前記前フランジ及び前記後フランジは光透過性を有し、前記光源は、前記前フランジの内周面及び前記後フランジの外周面から光照射可能に配設され、
前記後フランジは、端部が前記咬合トレイの端部よりも後退している口腔内光治療装置。
発明の詳細な説明
【技術分野】
【0001】
本技術は、歯列矯正に際し使用される口腔内光照射装置に関する。
続きを表示(約 2,000 文字)
【背景技術】
【0002】
歯列矯正は、矯正の必要な矯正歯を弾性的に押圧することにより行う。歯を支持している歯茎の中には、歯を支える歯槽骨があり、歯槽骨と歯の根の部分(歯根)の間には歯根膜がある。歯根膜は、歯にかかる衝撃を和らげるクッション作用のある緩衝膜である。矯正歯を弾性的に特定の方向に押圧すると、押圧される側の歯根膜は圧縮され、反対側の歯根膜は伸張する状態となる。圧縮された歯根膜は、歯槽骨にストレスが生じ、炎症刺激となり炎症刺激物質が出て歯槽骨を溶かす破骨細胞が出現、活性化することにより、歯槽骨を溶かす(骨吸収)。伸張された歯槽膜は歯を作る造骨細胞が現れ新しく歯槽骨を形成する。矯正歯が弾性的に連続して押圧されると、歯槽骨の溶解と形成が繰り返されて歯は押圧された方向に徐々に移動する。
【0003】
従来の歯列矯正では、矯正歯の歯冠部に歯列矯正器具をつけて弾性的に押圧するが、一時的に大きな力が加わる可能性がある。また、歯列矯正器具をつけると、虫歯や口内炎をおこしやすくなる他、矯正歯に直接力を加えるため歯根に損傷を起こすおそれがあり、歯および歯周囲組織への負担が長期間にわたって続く。
【0004】
そこで、歯及び歯周組織を損傷することなく歯牙移動の速さを増加させる方法として、光照射により、骨吸収及び骨再生を向上させる方法が提案されている。光照射は骨疾患の処置ならびに骨及び軟組織の生体刺激において有効であることが知られており、歯槽骨の吸収及び再生の加速に有効に寄与しうる。
【先行技術文献】
【特許文献】
【0005】
特表2016-538028号公報
【発明の概要】
【発明が解決しようとする課題】
【0006】
歯列矯正用の光照射デバイスとして、マウスピース型の口腔内光照射装置が知られている(特許文献1参照)。マウスピース型の口腔内光照射装置では、使用者が口腔内にマウスピースを装着した際に、嘔吐反射を抑制する等、装着感の向上が求められる。特に、奥歯や親不知の歯列矯正を行うために、マウスピースを口腔内深部まで装着する場合にも装着感に配慮された形状が求められる。
【0007】
また、矯正歯の歯茎の中でも付着歯肉やその上部又は下部の歯槽粘膜に的確に光を照射する必要が有る。特に、奥歯や親不知あるいは前歯等、矯正歯の位置に関わらず、その付着歯肉やその上部又は下部の歯槽粘膜に的確に光を照射することが求められる。
【0008】
そこで、本技術は、マウスピース型の口腔内光照射装置において、良好な装着感を有し且つ矯正歯の付着歯肉や歯槽粘膜に的確に光照射することができる口腔内光照射装置を提供することを目的とする。
【課題を解決するための手段】
【0009】
上述した課題を解決するために、本技術に係る口腔内光照射装置は、口腔内に装着され、装着者の歯列に応じてU字状に形成されたマウスピースと、マウスピースに配設され、複数の光エミッタが設けられた光源とを有し、前記光エミッタから装着者の歯茎に光を照射する口腔内光治療装置において、前記マウスピースは、装着者の歯列に応じてU字状に形成された咬合トレイと、前記咬合トレイの一側縁から前記一側縁に沿って立設され、装着者の歯茎の外面と対峙する前フランジと、前記咬合トレイの他側縁から前記他側縁に沿って立設され、装着者の歯茎の内面と対峙する後フランジとを有し、前記前フランジ及び前記後フランジは光透過性を有し、前記光源は、前記前フランジの内周面及び前記後フランジの外周面から光照射可能に配設され、前記前フランジの端部に、前記咬合トレイから前記前フランジの延在方向に張り出す突出部が形成されているものである。
【0010】
また、本技術に係る口腔内光照射装置は、口腔内に装着され、装着者の歯列に応じてU字状に形成されたマウスピースと、マウスピース内に配設された光エミッタが設けられた光源とを有し、前記光エミッタから装着者の歯茎に光を照射する口腔内光治療装置において、前記マウスピースは、装着者の歯列に応じてU字状に形成された咬合トレイと、前記咬合トレイの一側縁から前記一側縁に沿って立設され、装着者の歯茎の外面と対峙する前フランジと、前記咬合トレイの他側縁から前記他側縁に沿って立設され、装着者の歯茎の内面と対峙する後フランジとを有し、前記前フランジ及び前記後フランジは光透過性を有し、前記光源は、前記前フランジの内周面及び前記後フランジの外周面から光照射可能に配設され、前記前フランジは、上面から下方へ、前記装着者の上唇小帯又は下唇小帯が位置されるスリットが形成されているものである。
【発明の効果】
(【0011】以降は省略されています)
この特許をJ-PlatPat(特許庁公式サイト)で参照する
関連特許
他の特許を見る