TOP
|
特許
|
意匠
|
商標
特許ウォッチ
Twitter
他の特許を見る
10個以上の画像は省略されています。
公開番号
2025090935
公報種別
公開特許公報(A)
公開日
2025-06-18
出願番号
2023205841
出願日
2023-12-06
発明の名称
遊技台
出願人
株式会社大都技研
代理人
個人
,
個人
主分類
A63F
5/04 20060101AFI20250611BHJP(スポーツ;ゲーム;娯楽)
要約
【課題】複数の部材の取付構造に特徴を持った遊技台。
【解決手段】遊技台は、ベースに取付可能な第一の部材と第二の部材とを備え、第二の部材は第一の部材と少なくとも一部が当接するとともに該第一の部材の少なくとも一部を覆う部材である。ベースは第一の取付部と第二の取付部を備え、第一の部材は固定手段が貫通可能な第一の孔を備え、第二の部材は固定手段が貫通可能な第二の孔と第三の孔を備え、第三の孔を貫通した固定手段は第一の孔を貫通せず、第一の部材は該第一の部材の第一の孔と第二の部材の第二の孔を貫通する固定手段により第一の取付部に取り付けられ、第二の部材は第三の孔を貫通した固定手段により第二の取付部に固定され、第一の部材の少なくとも一部と当接して第一の部材を固定し、第一の部材は第一の向きと第二の向きのいずれかでベースに取付可能であり、第二の向きは第一の向きに対して第一の部材を周方向に180度回転した向きである。
【選択図】図45
特許請求の範囲
【請求項1】
ベースに取付可能な第一の部材と、
前記ベースに取付可能な第二の部材と、
を備えた遊技台であって、
前記第二の部材は、前記ベースに取り付けられた状態において、前記第一の部材の少なくとも一部を覆う部材であり、
前記ベースは、第一の取付部と第二の取付部を備え、
前記第一の部材は、固定手段が貫通可能な第一の孔を備え、
前記第二の部材は、前記固定手段が貫通可能な第二の孔および第三の孔を備え、
前記第三の孔を貫通した前記固定手段は、前記第一の孔を貫通することがなく、
前記第一の部材は、該第一の部材の前記第一の孔と前記第二の部材の前記第二の孔を貫通する固定手段によって前記第一の取付部に取り付けられ、
前記第二の部材は、前記第三の孔を貫通した前記固定手段によって前記第二の取付部に固定され、前記第一の部材の少なくとも一部と当接し前記第一の部材を固定し、
前記第一の部材は、第一の向きと第二の向きのいずれかで前記ベースに取付可能であり、
前記第二の向きは、前記第一の向きに対して前記第一の部材を周方向に180度回転させた向きである、
ことを特徴とする遊技台。
続きを表示(約 1,700 文字)
【請求項2】
請求項1に記載の遊技台であって、
前記第一の部材は、第四の孔を備え、
前記第二の部材は、第五の孔を備え、
前記第一の部材の前記第四の孔と前記第二の部材の前記第五の孔は、前記第一の向きで該第一の部材と該第二の部材を前記ベースに取り付ける際に使用されない孔であり、
前記第二の向きの前記第一の部材と前記第二の部材は、該第一の部材の前記第四の孔と該第二の部材の前記第五の孔を貫通する固定手段によって前記第一の取付部に取り付けられ、
前記第一の部材の第一の孔と前記第二の部材の前記第二の孔は、前記第二の向きで前記第一の部材と前記第二の部材を前記ベースに取り付ける際に使用されない孔である、
ことを特徴とする遊技台。
【請求項3】
請求項2に記載の遊技台であって、
前記第一の部材と前記第二の部材は、前記ベースに沿って鉛直方向に取り付けられるように構成されており、
前記第一の向きで前記第一の部材と前記第二の部材を前記ベースに取り付けた状態では、該第一の部材の前記第一の孔と該第二の部材の前記第二の孔は、前記鉛直方向において該第二の部材の前記第三の孔よりも下方に位置し、
前記第一の部材の前記第一の孔と前記第四の孔は、該第一の部材の中心を通る仮想線を基準として線対称となる位置に配置される、
ことを特徴とする遊技台。
【請求項4】
請求項3に記載の遊技台であって、
前記第二の部材は、第六の孔を備え、
前記第六の孔は、前記第一の向きで前記第二の部材を前記ベースに取り付ける際に使用されない孔であり、
前記第二の向きの前記第二の部材は、該第二の部材の前記第六の孔を貫通する固定手段によって前記第二の取付部に取り付けられ、
前記第三の孔は、前記第二の向きで前記第二の部材を前記ベースに取り付ける際に使用されない孔である、
ことを特徴とする遊技台。
【請求項5】
請求項4に記載の遊技台であって、
前記第二の部材の前記第三の孔と前記第六の孔は、該第二の部材の中心を通る仮想線を基準として線対称となる位置に配置される、
ことを特徴とする遊技台。
【請求項6】
請求項1または2に記載の遊技台であって、
前記ベースは、前記第一の部材と前記第二の部材を取付可能な領域として第一の領域と第二の領域を有し、
前記第一の向きの前記第一の部材と前記第二の部材は、前記第一の領域に取付可能である一方で、前記第二の領域に取付不能であり、
前記第二の向きの前記第一の部材と前記第二の部材は、前記第二の領域に取付可能である一方で、前記第一の領域に取付不能である、
ことを特徴とする遊技台。
【請求項7】
ベースに取付可能な第一の部材と、
前記ベースに取付可能な第二の部材と、
を備えた遊技台であって、
前記第二の部材は、前記ベースに取り付けられた状態において、前記第一の部材の少なくとも一部を覆う部材であり、
前記ベースは、第一の取付部と第二の取付部を備え、
前記第一の部材は、固定手段が貫通可能な第一の孔を備え、
前記第二の部材は、前記固定手段が貫通可能な第二の孔および第三の孔を備え、
前記第三の孔を貫通した前記固定手段は、前記第一の孔を貫通することがなく、
前記第一の部材は、該第一の部材の前記第一の孔と前記第二の部材の前記第二の孔を貫通する固定手段によって前記第一の取付部に取り付けられ、
前記第二の部材は、前記第三の孔を貫通した前記固定手段によって前記第二の取付部に固定され、前記第一の部材の少なくとも一部と近接し前記第一の部材を固定し、
前記第一の部材は、第一の向きと第二の向きのいずれかで前記ベースに取付可能であり、
前記第二の向きは、前記第一の向きに対して前記第一の部材を周方向に180度回転させた向きである、
ことを特徴とする遊技台。
発明の詳細な説明
【技術分野】
【0001】
本発明は、弾球遊技機(パチンコ機)、回胴遊技機(スロットマシン)、封入式遊技機あるいはメダルレススロットマシンに代表される遊技台に関する。
続きを表示(約 6,000 文字)
【背景技術】
【0002】
従来、遊技台の一つとして、例えば、スロットマシンが知られている。このようなスロットマシンは、複数の部材で構成されている(例えば、特許文献1参照)。
【先行技術文献】
【特許文献】
【0003】
特開2016-73461号公報
【発明の概要】
【発明が解決しようとする課題】
【0004】
しかしながら、従来の遊技台は、複数の部材の取付構造に改良の余地がある。
【0005】
本発明の目的は、複数の部材の取付構造に特徴を持った遊技台を提供することにある。
【課題を解決するための手段】
【0006】
本発明に係る遊技台は、ベースに取付可能な第一の部材と、記ベースに取付可能な第二の部材と、を備えた遊技台であって、前記第二の部材は、前記ベースに取り付けられた状態において、前記第一の部材の少なくとも一部を覆う部材であり、前記ベースは、第一の取付部と第二の取付部を備え、前記第一の部材は、固定手段が貫通可能な第一の孔を備え、前記第二の部材は、前記固定手段が貫通可能な第二の孔および第三の孔を備え、前記第三の孔を貫通した前記固定手段は、前記第一の孔を貫通することがなく、前記第一の部材は、該第一の部材の前記第一の孔と前記第二の部材の前記第二の孔を貫通する固定手段によって前記第一の取付部に取り付けられ、前記第二の部材は、前記第三の孔を貫通した前記固定手段によって前記第二の取付部に固定され、前記第一の部材の少なくとも一部と当接し前記第一の部材を固定し、前記第一の部材は、第一の向きと第二の向きのいずれかで前記ベースに取付可能であり、前記第二の向きは、前記第一の向きに対して前記第一の部材を周方向に180度回転させた向きである、ことを特徴とする遊技台である。
【発明の効果】
【0007】
本発明によれば、複数の部材の取付構造に特徴を持った遊技台を実現できる。
【図面の簡単な説明】
【0008】
スロットマシン100を正面側(遊技者側)から見た外観斜視図である。
スロットマシン100の入賞ラインの一例を示す図である。
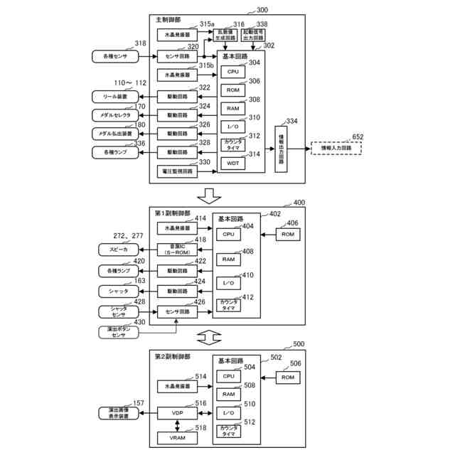
制御部の回路ブロック図を示したものである。
各リール(左リール110、中リール111、右リール112)に施された図柄の配列を平面的に展開して示す図である。
入賞役の種類、条件装置の名称,各入賞役に対応する図柄組合せ,払出数,備考を示す図である。
主制御部メイン処理の流れを示すフローチャートである。
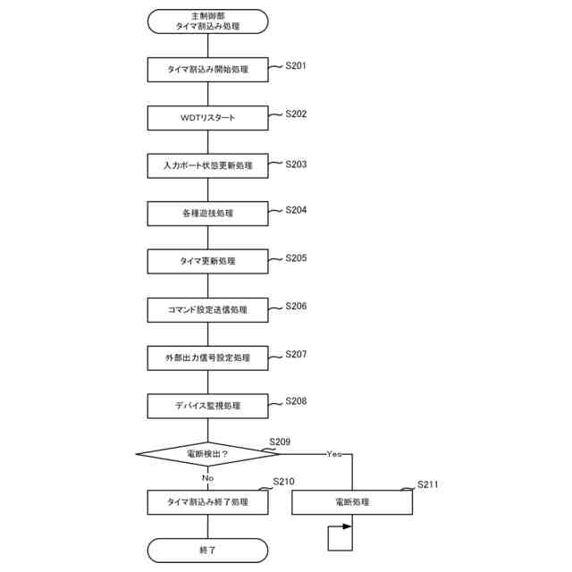
主制御部タイマ割込処理の流れを示すフローチャートである。
(a)第1副制御部400のCPU404が実行するメイン処理のフローチャートである。(b)第1副制御部400のコマンド受信割込処理のフローチャートである。(c)第1副制御部400のタイマ割込処理のフローチャートである。
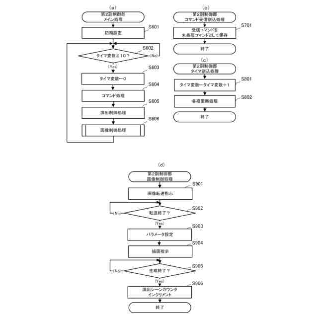
(a)第2副制御部500のCPU504が実行するメイン処理のフローチャートである。(b)第2副制御部500のコマンド受信割込処理のフローチャートである。(c)第2副制御部500のタイマ割込処理のフローチャートである。(d)第2副制御部500の画像制御処理のフローチャートである。
(a)前回の遊技の入賞役がリプレイ以外の場合におけるフリーズ制御(実施例1)のタイムチャートである。(b)前回の遊技の入賞役がリプレイ以外の場合におけるフリーズ制御(実施例2)のタイムチャートである。
前回の遊技の入賞役がリプレイ以外の場合におけるフリーズ制御(実施例1)の演出例を時系列で示した図である。
前回の遊技の入賞役がリプレイ以外の場合におけるフリーズ制御(実施例1)の演出例を時系列で示した図である。
前回の遊技の入賞役がリプレイ以外の場合におけるフリーズ制御(実施例2)の演出例を時系列で示した図である。
(a)前回の遊技の入賞役がリプレイ以外の場合におけるフリーズ制御(実施例3)のタイムチャートである。(b)前回の遊技の入賞役がリプレイの場合におけるフリーズ制御(実施例4)のタイムチャートである。
前回の遊技の入賞役がリプレイ以外の場合におけるフリーズ制御(実施例3)の演出例を時系列で示した図である。
前回の遊技の入賞役がリプレイの場合におけるフリーズ制御(実施例4)の演出例を時系列で示した図である。
前回の遊技の入賞役がリプレイの場合におけるフリーズ制御(実施例4)の演出例を時系列で示した図である。
(a)リールバックライト264の正面図である。(b)リールバックライト264の側面図である。(c)リールバックライト264を構成する部材を分解して正面側から見た外観斜視図である。
(a)通常遊技において特殊リプレイに内部当選した遊技(実施例1)の流れを示すタイムチャートである。(b)ジャッジ演出勝利時において特殊リプレイに内部当選しなかった遊技(実施例2)の流れを示すタイムチャートである。(c)は、ジャッジ演出敗北時において特殊リプレイに内部当選しなかった遊技(実施例4)の流れを示すタイムチャートである。
通常遊技において特殊リプレイに内部当選した遊技(実施例1)におけるバックライト演出の演出例を時系列で示した図である。
(1)~(8)ジャッジ演出勝利時において特殊リプレイに内部当選しなかった遊技(実施例2)におけるバックライト演出の演出例を時系列で示した図である。
(9)~(10)ジャッジ演出勝利時において特殊リプレイに内部当選しなかった遊技(実施例2)におけるバックライト演出の演出例を時系列で示した図である。(1)~(4)ジャッジ演出勝利時において特殊リプレイに内部当選した遊技(実施例3)におけるバックライト演出の演出例を時系列で示した図である。
(5)~(10)ジャッジ演出勝利時において特殊リプレイに内部当選した遊技(実施例3)におけるバックライト演出の演出例を時系列で示した図である。
(1)~(8)ジャッジ演出敗北時において特殊リプレイに内部当選しなかった遊技(実施例4)におけるバックライト演出の演出例を時系列で示した図である。
(9)~(10)ジャッジ演出敗北時において特殊リプレイに内部当選しなかった遊技(実施例4)におけるバックライト演出の演出例を時系列で示した図である。(1)~(4)ジャッジ演出敗北時において特殊リプレイに内部当選した遊技(実施例5)におけるバックライト演出の演出例を時系列で示した図である。
(5)~(10)ジャッジ演出敗北時において特殊リプレイに内部当選した遊技(実施例5)におけるバックライト演出の演出例を時系列で示した図である。
前面扉102を開けた状態のスロットマシン100を示す正面図である。
スピーカユニット600の分解斜視図である。
(a)背面カバー620の側面図である。(b)背面カバー620の上面図である。(c)スピーカ610の側面図である。(d)スピーカ610の上面図である。
(a)スピーカユニット600の上面図である。(b)(a)に示すスピーカユニット600のA-A線に沿う断面図である。
(a)スピーカユニット600の正しい取付方法の一例を模式的に示した図である。(b)スピーカユニット600の誤った取付方法の一例を模式的に示した図である。
(a),(b)スピーカユニット600の誤った取付方法の他の一例を模式的に示した図である。
変形例1に係るスピーカユニット700の分解斜視図である。
(a)背面カバー720の側面図である。(b)背面カバー720の上面図である。(c)スピーカ710の側面図である。(d)スピーカ710の上面図である。
(a)スピーカユニット700の上面図である。(b)(a)に示すスピーカユニット700のB-B線に沿う断面図である。
スピーカユニット700取付方法の一例を時系列で示した図である。
(a)変形例2に係るスピーカユニット800の分解斜視図である。(b)前面扉102の裏面に2つのスピーカユニット800を取り付けた様子を示す外観斜視図である。
(a)背面カバー820の側面図である。(b)背面カバー820の上面図である。(c)スピーカ810の側面図である。(d)スピーカ810の上面図である。
背面カバー820の内側空間にスピーカ810を収容した状態をスピーカ810の下面側から見た平面図である。
スピーカユニット800の取付方法の一例を時系列で示した図である。
(a)変形例3に係るスピーカユニット850の分解斜視図である。(b)前面扉102の裏面下方に2つのスピーカユニット850を取り付けた様子を示す外観斜視図である。
(a)背面カバー870の側面図である。(b)背面カバー870の上面図である。(c)スピーカ860の側面図である。(d)スピーカ860の上面図である。
前面扉102に対してスピーカ860と背面カバー870の位置決めを行った状態を前面扉102の背面から見た背面図である。
スピーカ860と背面カバー870を前面扉102にネジで取り付けた後の状態を前面扉102の背面から見た背面図である。
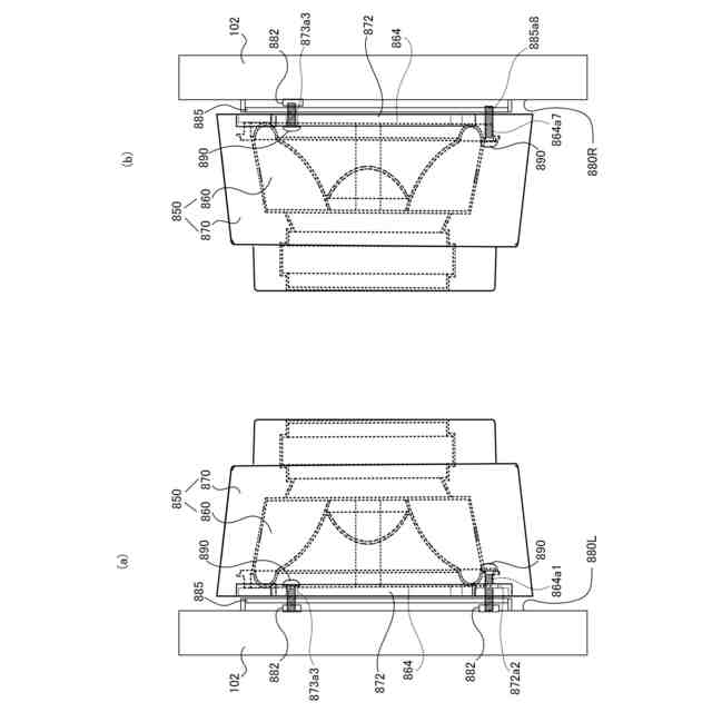
(a)左スピーカ台座部880Lに取り付けたスピーカユニット850を背面視左側から見た側面図である。(b)左スピーカ台座部880Lに取り付けたスピーカユニット850を背面視右側から見た側面図である。。
スピーカ860と背面カバー870を前面扉102にネジで取り付けた後の状態を前面扉102の背面から見た背面図である。
(a)可動体900を構成する部材を分解して正面側から見た外観斜視図である。(b)変形例に係る可動体950を構成する部材を分解して正面側から見た外観斜視図である。
本発明の一実施形態に係るスロットマシンの外観を示す斜視図である。
本発明の一実施形態に係るスロットマシンの制御部の回路ブロック図である。
本発明の一実施形態に係るスロットマシンの主制御部メイン処理の流れを示すフローチャートである。
本発明の一実施形態に係るスロットマシンの主制御部タイマ割込処理の流れを示すフローチャートである。
本発明の一実施形態に係るスロットマシンの第1副制御部メイン処理、第1副制御部コマンド受信割込処理、及び第1副制御部タイマ割込処理の流れを示すフローチャートである。
本発明の一実施形態に係るスロットマシンの第2副制御部メイン処理、第2副制御部コマンド受信割込処理、第2副制御部タイマ割込処理及び第2副制御部画像制御処理の流れを示すフローチャートである。
本発明の一実施形態に係るスロットマシンの小役グループの一例を示す表である。
図56、図57、図58及び図59(A)とともに、本発明の一実施形態に係るスロットマシンがボーナス遊技状態においてメダルを711枚獲得できた場合の遊技の流れの一例を示す図である。
図55、図57、図58及び図59(A)とともに、本発明の一実施形態に係るスロットマシンがボーナス遊技状態においてメダルを711枚獲得できた場合の遊技の流れの一例を示す図である。
図55、図56、図58及び図59(A)とともに、本発明の一実施形態に係るスロットマシンがボーナス遊技状態においてメダルを711枚獲得できた場合の遊技の流れの一例を示す図である。
図55、図56、図57及び図59(A)とともに、本発明の一実施形態に係るスロットマシンがボーナス遊技状態においてメダルを711枚獲得できた場合の遊技の流れの一例を示す図である。
(A)は、図55、図56、図57及び図58とともに、本発明の一実施形態に係るスロットマシンがボーナス遊技状態においてメダルを711枚獲得できた場合の遊技の流れの一例を示す図であり、(B)は、図60とともに、本発明の一実施形態に係るスロットマシンがボーナス遊技状態においてメダルを711枚獲得できなかった場合の遊技の流れの一例を示す図である。
図59(B)とともに、本発明の一実施形態に係るスロットマシンがボーナス遊技状態においてメダルを711枚獲得できなかった場合の遊技の流れの一例を示す図である。
図62とともに、本発明の一実施形態に係るスロットマシンのボーナス遊技状態が連荘してメダルを1422枚獲得できた場合の遊技の流れの一例を示す図である。
図61とともに、本発明の一実施形態に係るスロットマシンのボーナス遊技状態が連荘してメダルを1422枚獲得できた場合の遊技の流れの一例を示す図である。
図64とともに、本発明の一実施形態に係るスロットマシンのボーナス遊技状態が連荘したがメダルを1422枚獲得できなかった場合の遊技の流れの一例を示す図である。
図63とともに、本発明の一実施形態に係るスロットマシンのボーナス遊技状態が連荘したがメダルを1422枚獲得できなかった場合の遊技の流れの一例を示す図である。
(a)は、本発明の一実施形態に係るスロットマシンのBB中処理の流れを示すフローチャートであり、(b)は、図65(a)のステップS1007のその他小役処理の流れを詳しく示すフローチャートである。
図65のステップS1006の押し順ベル処理の流れを詳しく示すフローチャートである。
図65(a)のステップS1002のJACゲーム処理の流れを詳しく示すフローチャートである。
【発明を実施するための形態】
【0009】
<<実施形態1>>
以下、図面を用いて、本発明の実施形態1に係る遊技台(スロットマシン)について説明する。
【0010】
<全体構成>
まず、図1を用いてスロットマシン100の全体構成について説明する。図1は、スロットマシン100を正面側(遊技者側)から見た外観斜視図である。
(【0011】以降は省略されています)
この特許をJ-PlatPat(特許庁公式サイト)で参照する
関連特許
他の特許を見る