TOP
|
特許
|
意匠
|
商標
特許ウォッチ
Twitter
他の特許を見る
10個以上の画像は省略されています。
公開番号
2025090803
公報種別
公開特許公報(A)
公開日
2025-06-17
出願番号
2025042057,2022502873
出願日
2025-03-17,2020-07-15
発明の名称
電池に適する電極粒子
出願人
フイリツプス66カンパニー
代理人
弁理士法人小田島特許事務所
主分類
C01B
32/05 20170101AFI20250610BHJP(無機化学)
要約
【課題】より低いコストでより高い性能が得られる、黒鉛アノード材料を形成する方法を提供する。
【解決手段】金属イオン電池のための黒鉛アノード材料を形成する方法であって、炭素前駆体材料を、所望の平均粒径を有する粒子に、選択し分粒すること;前記前駆体材料を、ブレンドの0.01%と10%の間の比率で、炭化物形成元素と組み合わせること;アルゴン、ヘリウム又は窒素ガス中で約2500℃~3000℃の間の温度で前記組み合わせを黒鉛化して、表面に炭化物化合物を有し及び黒鉛コアを有する粒子をもたらすこと;を含み、前記炭化物化合物が、B及びCeからなる炭化物形成元素を含む、方法とする。
【選択図】図1
特許請求の範囲
【請求項1】
1μmから50μmの間の平均粒径を有する粒子を含んでなる黒鉛炭素粉末であって、粒子は、粒子の少なくとも5ppmそして1重量%以下を構成する炭化物化合物を含んでなる改質された表面を有し、少なくとも99重量%炭素黒鉛を含んでなる、黒鉛炭素粉末。
続きを表示(約 630 文字)
【請求項2】
粒子が3μmから30μmの間の平均粒径を有する請求項1に記載の黒鉛炭素粉末。
【請求項3】
粒子が3μmから25μmの間の平均粒径を有する請求項2に記載の黒鉛炭素粉末。
【請求項4】
粒子が少なくとも99.5重量%の炭素黒鉛、および少なくとも50ppmの炭化物化合物である前記請求項のいずれかに記載の黒鉛炭素粉末。
【請求項5】
粒子が少なくとも99.9重量%の炭素黒鉛である前記請求項のいずれかに記載の黒鉛炭素粉末。
【請求項6】
粒子が少なくとも99.99重量%の炭素黒鉛である前記請求項のいずれかに記載の黒鉛炭素粉末。
【請求項7】
粒子がさらに少なくとも5ppmの窒化物化合物を含んでなる前記請求項のいずれかに記載の黒鉛炭素粉末。
【請求項8】
粒子がコアおよび外側面を有し、そしてコアが黒鉛を含んでなり、そして外側面が炭化物化合物および窒化物化合物を結晶の形態で含んでなり、結晶が粒子の少なくとも外縁または外表面に沿っており、そして粉末の重量で少なくとも50ppm、そして重量で2000ppm以下を構成する、請求項7に記載の黒鉛炭素粉末。
【請求項9】
炭化物化合物が、Ti,Y,Zr,Nb,Mo,La,Ce,Bおよびそれらの組み合わせから選択される少なくとも1つを含んでなる前記請求項のいずれかに記載の黒鉛炭素粉末。
発明の詳細な説明
【技術分野】
【0001】
関連出願との関係
これは、いずれも“ELECTRODE PARTICLES SUITABLE FOR BATTERIES”という表題の、全て2019年7月17日に出願された米国特許仮出願第62/875,299号および同第62/875,315明細書、および全て2020年7月15日に出願された米国特許出願第16/929,222号、同第16/929,233号および同第16/929,248号明細書に対する利益および優先権を主張するPCT国際特許出願であり、これは引用により全部、本明細書に編入する。
続きを表示(約 2,300 文字)
【0002】
発明の分野
本出願は電池に関し、そして詳細には電池用アノードを作成するために有用な材料、より詳細には金属イオン電池のアノードに有用な材料に関する。
【背景技術】
【0003】
発明の背景
充電式リチウムイオン電池は、携帯電話、タブレット、コンピューター、携帯型の持ち運び可能なツールのような多くの持ち運び可能なシステムおよびデバイス、ならびにリチウムイオン電池の電力および重量の利点に頼るように開発されている新規デバイスに広範囲にわたって導入されてきた。この利点は、軽量、高電圧、高い電気化学的等価性および良好な導電性である。リチウムイオン電池の広い用途および受容は、多くの進歩および開発を成し遂げた。リチウムイオン電池の開発の一分野は、リチウムイオン電池のアノードすなわち負極に集中し、ここで多くが達成された。
【0004】
特に持ち運び可能なデバイスについて、リチウムイオン電池のアノードに関する重要な考察は、高容積および重量比容量(weight specific capacity)、および多数回の充電および放電サイクルにわたる長期の電池寿命である。従来の研究で、アノード材料は被覆され、そして黒鉛化された炭素前駆体材料を介する長期寿命により95%に達する初期クローン効率のアノード材料が生産された。これはMao et
al.への特許文献1に記載されており、ここでは石油コークスが好適なサイズに挽かれ、溶媒コーティングプロセスにかけられ、高温で酸化的に安定化されたコーティングを有し、次いで粒子全体が炭化され、そして不活性な環境中でさらに高温で黒鉛化された。粒子は、表面上に保護コーティングを持つ高度な黒鉛化構造を形成し、このコーティングは内在する(underlying)黒鉛シートを電池の電解液から保護した。保護用コーティングは、電池の電解液に触媒的に活性になると考えられる黒鉛シートのエッジを保護する。電解液はこのように充電サイクル中に黒鉛シートを分解し、そしてこれによりアノードのリチウムイオンについて効率および貯蔵容量を急速かつ劇的に下げる。アノード粒子上に作成されたコーティングは、残る粒子と黒鉛化された時に、電解液からの触媒的分解に関してより安定な黒鉛を形成するが、それ自体はリチウムイオンのインターカレーションに適さないそれほど黒鉛化され得ない材料を含む。しかしリチウムイオンはコーティングを容易に通過し、そしてより組織化された黒鉛シートにインターカレーションすることができる。実際にこれは良好な特性および良好なサイクル寿命を持つ大変良い材料である。しかしその生産には異なる周辺環境で多くの連続的な分かれた熱処理を伴うかなりの体積の溶媒の使用を要し、それらすべてで経費がかさむ。しかし小型スペースおよび最小重量で高い比容量が重要となる高価値な用途には、このアノードが現在最も有利である。
【0005】
リチウムイオン電池の黒鉛負極材料の最も重要なパラメータは、初期クローン効率およ
び比容量である。高度に結晶質の黒鉛粉末は高い比容量および大変悪い初期クローン効率を有し、そしてリチウムイオン電池用の負極材料として有用でないことが周知である。長年の徹底的な研究および開発を通じて、比容量および初期クローン効率に関する問題を軽減するために洗練された方法が開発された。主な解決法は、高温の黒鉛化、およびあまり黒鉛化できない炭素を含む粒子をコーティングした後に、黒鉛化して粒子中に内在する黒鉛シートの電解液からの保護を提供することに集中している。黒鉛負極材料の平均粒径(mean average particle size)は30ミクロン未満であり、そして個々の粒子はそれほど黒鉛化できない炭素で均一に被覆されなければならないので、黒鉛負極材料は現在では複雑な処理工程を介して製造される。その結果、製造コストは高く、しかもコーティングプロセスの中には収率が低いものもある。
【0006】
全ての材料で、より低いコストでより高い性能となることが常に望まれ(driver)、性能およびコストのいずれにおいてもいかなる進歩も大変望ましい。
【先行技術文献】
【特許文献】
【0007】
米国特許第7,323,120号明細書
【発明の概要】
【0008】
本発明は、1μmから50μmの間の平均粒径を有する粒子を含んでなる黒鉛炭素粉末に関し、ここで粒子は、粒子の少なくとも5ppmそして1重量%以下を構成する炭化物化合物を含んでなる改質された表面を有し、少なくとも90重量%炭素黒鉛を含んでなる。
【図面の簡単な説明】
【0009】
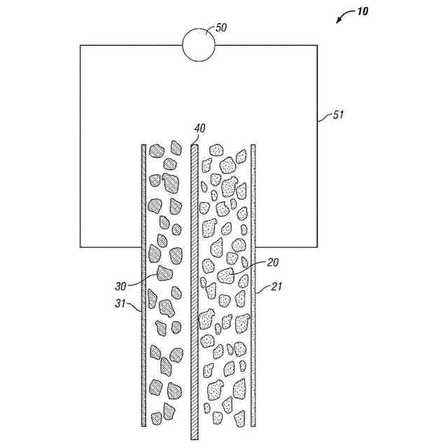
下記の記述を添付する図面と結び付けて参照することにより、本発明およびその利益のより完全な理解を得ることができる。
アノード、カソード、電解液および回路を示す仮想の回路での電池(buttery cell)の概略図である。
【発明を実施するための形態】
【0010】
これから本発明の好適な配置(1もしくは複数)の詳細な説明に移るが、本発明の特徴および概念は他の配置でも実現できること、および本発明の範囲は記載し、または説明する態様に限定されないと理解すべきである。本発明の範囲は以下に続く請求の範囲によってのみ限定される。
(【0011】以降は省略されています)
この特許をJ-PlatPat(特許庁公式サイト)で参照する
関連特許
他の特許を見る