TOP
|
特許
|
意匠
|
商標
特許ウォッチ
Twitter
他の特許を見る
公開番号
2025089988
公報種別
公開特許公報(A)
公開日
2025-06-16
出願番号
2024075975,2023204717
出願日
2024-05-08,2023-12-04
発明の名称
カーテン取付具、カーテン取付具が設けられる車両及びカーテン
出願人
個人
代理人
弁理士法人みなとみらい特許事務所
主分類
B60J
3/00 20060101AFI20250609BHJP(車両一般)
要約
【課題】
多様な車種に対応可能で、窓にカーテンが当たりにくく、取付を容易に行うことができる車両用のカーテンの取付具及びそれを利用した車両やカーテンを提供できる。
【解決手段】
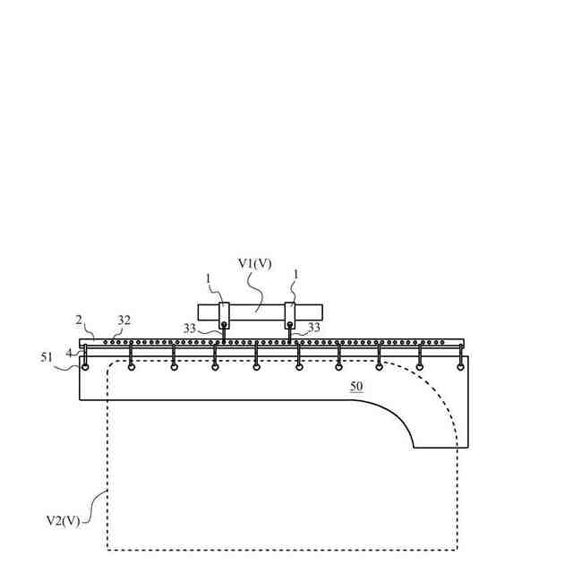
上記課題を解決する本願発明は、車両VのアシストグリップV1に固定する留め部1と、カーテン5を吊り下げ可能なレール部2と、を備え、レール部2は、留め部1と接続可能な接続部3を複数有するカーテン取付具であり、接続部3は、レール部2の長手方向に設けられる孔である。
【選択図】図1
特許請求の範囲
【請求項1】
車両のアシストグリップに固定する留め部と、カーテンを吊り下げ可能なレール部と、を備え、
前記レール部は、前記留め部を接続可能な接続部を複数有し、
前記接続部は、前記レール部の面を貫通し、長手方向に複数設けられる孔であるカーテン取付具。
続きを表示(約 740 文字)
【請求項2】
前記レール部は、前記接続部を有する長尺の接続板と、前記接続板と接合する長尺の摺動板と、を有し、
前記接続板は、端部が前記摺動板の面上で接合する請求項1に記載のカーテン取付具。
【請求項3】
前記カーテンのランナーは、前記レール部を挟み込んで摺動する摺動部を有する請求項2に記載のカーテン取付具。
【請求項4】
さらに、前記アシストグリップを前記車両の本体から離れた所定位置に保持する保持部を備え、
前記保持部は、前記車両を押圧する車両押圧部と、前記車両押圧部と回転可能に接続し、前記アシストグリップを押圧するグリップ押圧部と、を備える請求項1~3の何れか一項に記載のカーテン取付具。
【請求項5】
車両のアシストグリップに固定する留め部と、カーテンを吊り下げ可能なレール部と、を備え、
前記レール部は、前記留め部を接続可能な接続部を複数有し、
前記接続部は、前記レール部の面を貫通し、長手方向に複数設けられる孔であるカーテン取付具が設けられる車両。
【請求項6】
車両のアシストグリップに固定する留め部と、カーテンを吊り下げ可能なレール部と、を備え、
前記レール部は、前記留め部を接続可能な接続部を複数有し、
前記接続部は、前記レール部の面を貫通し、長手方向に複数設けられる孔であるカーテン取付具に設けられるカーテンであって、
前記車両は、前記アシストグリップの下方に車両窓を有し、
前記カーテン取付具が前記アシストグリップに固定された状態において、
前記カーテンの下端は、前記車両窓の下端よりも上に位置するカーテン。
発明の詳細な説明
【技術分野】
【0001】
本発明は、車両の窓を覆うカーテンを設置するための取付具とそれが設けられる車両とそれに設けられたカーテンに関する。
続きを表示(約 1,300 文字)
【背景技術】
【0002】
車両にカーテンを取り付けることで、横からの日差しによる熱を遮断できること、外部の光から車内の内装を保護するできること、断熱性の向上を通じて空調の効率を高められることなどの種々のメリットがある。
【0003】
このように、車両に取り付けられるカーテンとしては、例えば吸盤やマグネットを利用して設置するものが知られている。これらは多様な車種に対応できる一方で、窓に直接布が当たりやすいため視界が悪くなりやすく、走行中に使用すると危険であることや、窓の開閉時にカーテンが巻き込まれやすいという課題がある。
【先行技術文献】
【特許文献】
【0004】
特開2004-106622号公報
【発明の概要】
【発明が解決しようとする課題】
【0005】
特許文献1には、アシストグリップをルーフの全周に渡って設けることで、カーテンの設置を可能としている。これによれば窓に直接当たりにくく、さらに取付けの強度を高められるが、対応車種が限られて取付けそのものが難しい。
【0006】
本発明は、上記の課題に鑑み、多様な車種に対応可能で、窓にカーテンが当たりにくく取付を容易に行うことができる車両用のカーテン取付具等を提供することを目的とする。
【課題を解決するための手段】
【0007】
上記目的を達成するための本発明は、車両のアシストグリップに固定する留め部と、カーテンを吊り下げ可能なレール部とを備え、前記レール部は、前記留め部を接続可能な接続部を複数有する。
これにより、多様な車種に対応可能で、カーテンが窓に当たりにくく、取付を容易かつ強力に行うことができる車両用のカーテンの取付具を提供することができる。
【0008】
また、本願発明は、車両のアシストグリップに固定する留め部と、カーテンを吊り下げ可能なレール部と、を備え、前記レール部は、前記留め部を接続可能な接続部を複数有する、カーテン取付具が設けられる車両である。これにより、多様な車種に対応可能で、窓にカーテンが当たりにくく、取付を容易に行うことができる車両用のカーテンの設置具が設けられる車両を提供できる。
【0009】
また、本願発明は、前記カーテン取付具に設けられるカーテンであって、前記車両は車両窓を有し、前記カーテン取付具が前記アシストグリップに固定された状態において、前記カーテンの下端は、前記車両窓の下端よりも上に位置するカーテンである。これによれば、側方から入射する日差しを遮りながらも安全な運転ができるカーテンを提供できる。
【発明の効果】
【0010】
上記課題を解決する本発明は、多様な車種に対応可能で、窓にカーテンが当たりにくく、取付を容易に行うことができる車両用のカーテンの取付具及びそれを利用した車両やカーテンを提供できる。
【図面の簡単な説明】
(【0011】以降は省略されています)
この特許をJ-PlatPat(特許庁公式サイト)で参照する
関連特許
他の特許を見る