TOP
|
特許
|
意匠
|
商標
特許ウォッチ
Twitter
他の特許を見る
10個以上の画像は省略されています。
公開番号
2025089939
公報種別
公開特許公報(A)
公開日
2025-06-16
出願番号
2023204920
出願日
2023-12-04
発明の名称
製袋充填包装機
出願人
株式会社川島製作所
代理人
弁理士法人武和国際特許事務所
主分類
B65B
9/06 20120101AFI20250609BHJP(運搬;包装;貯蔵;薄板状または線条材料の取扱い)
要約
【課題】平行を維持したままシールブロックを接離可能な製袋充填包装機を提供する。
【解決手段】製袋充填包装機は、帯状包装材の幅方向の両端部を重ね合わせて筒状に成形する製筒器と、製筒器で重ね合わされた帯状包装材の両端部をシールする第1シール装置と、第1シール装置で筒状に成形された帯状包装材のうち、製品を内包した袋の両端部をシールする第2シール装置とを備える。第2シール装置は、帯状包装材を挟んでシールする一対のシールブロックと、シールブロックの長手方向である第1方向に離間した位置を第1方向に直交する第2方向に押引して、一対のシールブロックを第2方向に接離させる複数の接離機構とを備える。
【選択図】図5
特許請求の範囲
【請求項1】
帯状包装材から成形した袋に製品を充填する製袋充填包装機であって、
帯状包装材の幅方向の両端部を重ね合わせて筒状に成形する製筒器と、
前記製筒器で重ね合わされた帯状包装材の両端部をシールする第1シール装置と、
前記第1シール装置で筒状に成形された帯状包装材のうち、製品を内包した袋の両側をシールする第2シール装置とを備え、
前記第2シール装置は、
帯状包装材を挟んでシールする一対のシールブロックと、
前記シールブロックの長手方向である第1方向に離間した位置を前記第1方向に直交する第2方向に押引して、一対の前記シールブロックを前記第2方向に接離させる複数の接離機構とを備えることを特徴とする製袋充填包装機。
続きを表示(約 1,300 文字)
【請求項2】
請求項1に記載の製袋充填包装機において、
前記第2シール装置は、
前記第1方向に直交する第3方向に延びる駆動軸を回転させるモータと、
前記第1方向に延びる従動軸と、
前記駆動軸の回転を前記従動軸に伝達する駆動力伝達機構とを備え、
複数の前記接離機構は、前記従動軸の両端に接続されていることを特徴とする製袋充填包装機。
【請求項3】
請求項2に記載の製袋充填包装機において、
前記駆動軸は、前記第1方向において、複数の前記接離機構の間に配置されていることを特徴とする製袋充填包装機。
【請求項4】
請求項2に記載の製袋充填包装機において、
前記駆動力伝達機構は、
前記駆動軸から前記第3方向と交差する方向に張り出して、前記駆動軸と一体回転する第1部材と、
一端が前記第3方向に交差する第1軸線周りに回動可能に前記第1部材の張出端に連結され、他端が前記駆動軸の延長線上で且つ前記第1方向に直交する第2軸線周りに回動可能に前記従動軸に連結された第2部材とを備えることを特徴とする製袋充填包装機。
【請求項5】
請求項4に記載の製袋充填包装機において、
前記駆動力伝達機構は、前記第3方向から平面視した場合に、前記従動軸に対する前記第1軸線のなす角がθ°~-θ°まで変化するのに伴って、一対の前記シールブロックを互いに近接する向きに移動させることを特徴とする製袋充填包装機。
【請求項6】
請求項5に記載の製袋充填包装機において、
前記接離機構は、
前記従動軸と一体回転する第1アームと、
一端が前記第1アームに回動可能に連結され、他端が前記シールブロックに回動可能に連結された第2アームとを備え、
前記第1アーム及び前記第2アームのなす角が増加するのに伴って、一対の前記シールブロックを互いに近接する向きに移動させることを特徴とする製袋充填包装機。
【請求項7】
請求項2に記載の製袋充填包装機において、
前記モータの回転量または前記モータの駆動電流に基づいて、一対の前記シールブロックが帯状包装材を挟んで当接したことを検出する制御装置を備えることを特徴とする製袋充填包装機。
【請求項8】
請求項2に記載の製袋充填包装機において、
前記第2シール装置は、
ベースプレートと、
前記モータを支持するモータ支持壁、及び前記モータ支持壁の前記第1方向の両端に配置されて前記従動軸を回転可能に支持する一対の従動軸支持壁を有し、前記ベースプレートに支持された支持部材と、
前記ベースプレート及び一対の前記従動軸支持壁それぞれに取り付けられて、前記第3方向に直交する一対の補強プレートとを備えることを特徴とする製袋充填包装機。
【請求項9】
請求項8に記載の製袋充填包装機において、
一対の前記補強プレートは、前記従動軸支持壁から遠ざかるほど、前記ベースプレートからの前記第2方向の突出量が減少することを特徴とする製袋充填包装機。
発明の詳細な説明
【技術分野】
【0001】
本発明は、製袋充填包装機に関する。
続きを表示(約 1,700 文字)
【背景技術】
【0002】
従来より、重ね合わされた帯状フィルムの両端部をシールする第1シール装置と、第1シール装置で筒状に成形された帯状フィルムのうち、製品を内包した袋の頂部及び底部に相当する部分をシールする第2シール装置とを備える製袋充填包装機が知られている。
【0003】
第2シール装置は、一対のシールブロックと、一対のシールブロックを接離させる接離機構とを備える。また、接離機構としては、例えば、サーボモータの回転運動を直線運動に変換して、シールブロックの長手方向の中央部に伝達するものがある(例えば、特許文献1を参照)。
【先行技術文献】
【特許文献】
【0004】
特開2023-134025号公報
【発明の概要】
【発明が解決しようとする課題】
【0005】
ここで、特許文献1に記載の接離機構では、トグル機構を使用してシールブロックの長手方向の中央を押引すると共に、シールブロックを押引するための構成部品のガタ等によって、一対のシールブロックの長手方向のうち、一方側が接触して、他方側に隙間が生まれる可能性がある(所謂、「ハの字」になる)。これにより、製品を噛み込んだ状態でシールしたことを適切に検出できなかったり、帯状フィルムを適切にシールできない可能性がある。
【0006】
本発明は、上記の課題を解決するためになされたものであり、その目的は、平行を維持したまま一対のシールブロックを接離可能な製袋充填包装機を提供することにある。
【課題を解決するための手段】
【0007】
本発明は、前記課題を解決するため、帯状包装材から成形した袋に製品を充填する製袋充填包装機であって、帯状包装材の幅方向の両端部を重ね合わせて筒状に成形する製筒器と、前記製筒器で重ね合わされた帯状包装材の両端部をシールする第1シール装置と、前記第1シール装置で筒状に成形された帯状包装材のうち、製品を内包した袋の両側をシールする第2シール装置とを備え、前記第2シール装置は、帯状包装材を挟んでシールする一対のシールブロックと、前記シールブロックの長手方向である第1方向に離間した位置を前記第1方向に直交する第2方向に押引して、一対の前記シールブロックを前記第2方向に接離させる複数の接離機構とを備えることを特徴とする。
【発明の効果】
【0008】
本発明によれば、平行を維持したまま一対のシールブロックを接離可能な背地帯充填包装機を得ることができる。
【図面の簡単な説明】
【0009】
横型製袋充填包装機の側面図である。
横型製袋充填包装機の平面図である。
シールブロックが開位置のときのエンドシール装置の斜視図である。
シールブロックが閉位置のときのエンドシール装置の斜視図である。
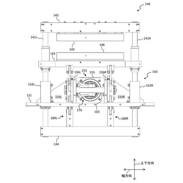
シールブロックが中間位置のときのエンドシール装置の正面図である。
開閉ユニットの斜視図である。
開閉ユニットを上下方向から見た平面図である。
駆動力伝達機構を搬送方向から見た図である。
接離機構を幅方向から見た図である。
シールブロックの位置、駆動力伝達機構が発生させるトルク(回転力)、接離機構が発生させる押圧力の関係を示す図である。
横型製袋充填包装機のハードウェア構成図である。
縦型製袋充填包装機の全体斜視図である。
縦型製袋充填包装機の側面図である。
【発明を実施するための形態】
【0010】
以下、実施形態に係る横型製袋充填包装機100を図面に基づいて説明する。なお、以下に記載する本発明の実施形態は、本発明を具体化する際の一例を示すものであって、本発明の範囲を実施形態の記載の範囲に限定するものではない。従って、本発明は、実施形態に種々の変更を加えて実施することができる。
(【0011】以降は省略されています)
この特許をJ-PlatPat(特許庁公式サイト)で参照する
関連特許
他の特許を見る