TOP
|
特許
|
意匠
|
商標
特許ウォッチ
Twitter
他の特許を見る
公開番号
2025089789
公報種別
公開特許公報(A)
公開日
2025-06-16
出願番号
2023204654
出願日
2023-12-04
発明の名称
電子情報記憶媒体、ICチップ、ICカード、公開鍵保存方法、及びプログラム
出願人
大日本印刷株式会社
代理人
弁理士法人インテクト国際特許事務所
,
個人
主分類
H04L
9/10 20060101AFI20250609BHJP(電気通信技術)
要約
【課題】公開鍵証明書の署名検証においてメモリが不足せず、かつ署名検証を効率的に実施することが可能な電子情報記憶媒体、ICチップ、ICカード、公開鍵保存方法、及びプログラムを提供する。
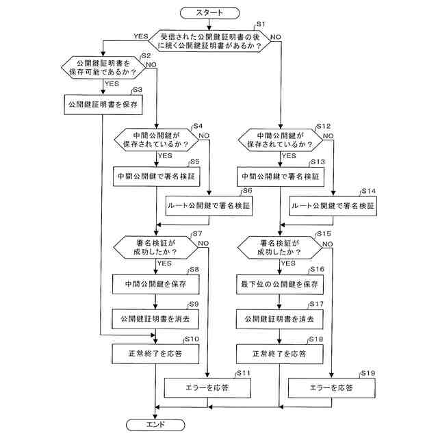
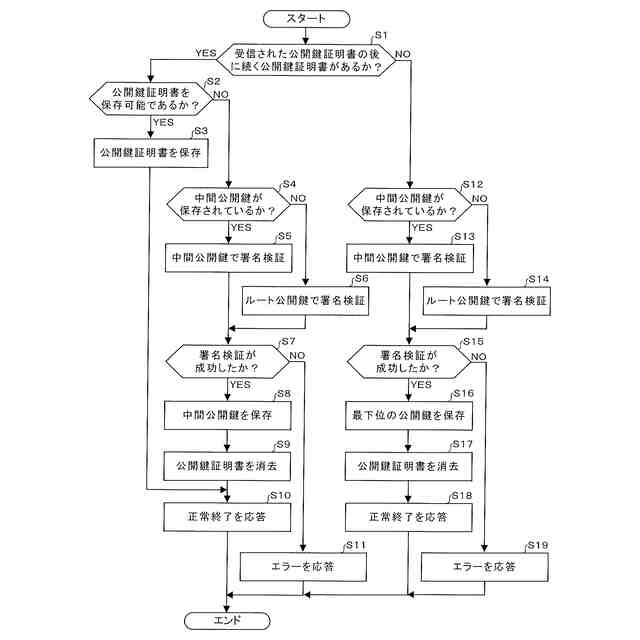
【解決手段】ICチップ1は、外部端末2から受信された公開鍵証明書のサイズと証明書保存領域R2の設定容量とに基づいて、当該受信された公開鍵証明書を証明書保存領域R2に保存可能であるか否かを判定し、当該公開鍵証明書を証明書保存領域R2に保存可能であると判定した場合に当該公開鍵証明書を証明書保存領域R2に保存させる一方、当該公開鍵証明書を証明書保存領域R2に保存可能でないと判定した場合に当該公開鍵証明書の署名検証を実行し当該署名検証が成功した場合に当該公開鍵証明書から抽出された公開鍵を公開鍵保存領域R3に保存させる。
【選択図】図3
特許請求の範囲
【請求項1】
公開鍵証明書を保存するための第1保存領域と、公開鍵を保存するための第2保存領域とを含むメモリを備える電子情報記憶媒体において、
連鎖する複数の公開鍵証明書を外部端末から順次受信する受信手段と、
前記連鎖する複数の公開鍵証明書のうち何れか1の前記公開鍵証明書が受信された場合に、当該受信された公開鍵証明書のサイズと前記第1保存領域の設定容量とに基づいて、当該受信された公開鍵証明書を前記第1保存領域に保存可能であるか否かを判定する第1判定手段と、
前記第1判定手段により保存可能であると判定された場合に前記受信された公開鍵証明書を前記第1保存領域に保存させる一方、前記第1判定手段により保存可能でないと判定された場合に前記受信された公開鍵証明書の署名検証を実行し当該署名検証が成功した場合に前記受信された公開鍵証明書から抽出された公開鍵を前記第2保存領域に保存させる処理手段と、
を備えることを特徴とする電子情報記憶媒体。
続きを表示(約 2,300 文字)
【請求項2】
前記処理手段は、前記署名検証が失敗した場合に、当該署名検証に失敗した公開鍵証明書が、前記連鎖する複数の公開鍵証明書のうち先頭から何番目に該当するかを示す情報を前記外部端末へ送信することを特徴とする請求項1に記載の電子情報記憶媒体。
【請求項3】
前記処理手段は、前記受信された公開鍵証明書の署名検証を、前記連鎖する複数の公開鍵証明書のうち直前に受信された公開鍵証明書から抽出された公開鍵であって前記第2保存領域に保存されている公開鍵を用いて実行することを特徴とする請求項1に記載の電子情報記憶媒体。
【請求項4】
前記署名検証が成功した場合であって、前記連鎖する複数の公開鍵証明書のうち直前に受信された公開鍵証明書から抽出された公開鍵が前記第2保存領域に保存されている場合に、前記処理手段は、当該保存されている公開鍵に代えて、前記受信された公開鍵証明書から抽出された公開鍵を前記第2保存領域に保存させることを特徴とする請求項1乃至3の何れか一項に記載の電子情報記憶媒体。
【請求項5】
前記処理手段は、前記第1保存領域から公開鍵証明書を消去することを特徴とする請求項4に記載の電子情報記憶媒体。
【請求項6】
公開鍵証明書を保存するための第1保存領域と、公開鍵を保存するための第2保存領域とを含むメモリを備えるICチップであって、
連鎖する複数の公開鍵証明書を外部端末から順次受信する受信手段と、
前記連鎖する複数の公開鍵証明書のうち何れか1の前記公開鍵証明書が受信された場合に、当該受信された公開鍵証明書のサイズと前記第1保存領域の設定容量とに基づいて、当該受信された公開鍵証明書を前記第1保存領域に保存可能であるか否かを判定する第1判定手段と、
前記第1判定手段により保存可能であると判定された場合に前記受信された公開鍵証明書を前記第1保存領域に保存させる一方、前記第1判定手段により保存可能でないと判定された場合に前記受信された公開鍵証明書の署名検証を実行し当該署名検証が成功した場合に前記受信された公開鍵証明書から抽出された公開鍵を前記第2保存領域に保存させる処理手段と、
を備えることを特徴とするICチップ。
【請求項7】
公開鍵証明書を保存するための第1保存領域と、公開鍵を保存するための第2保存領域とを含むメモリを備えるICカードであって、
連鎖する複数の公開鍵証明書を外部端末から順次受信する受信手段と、
前記連鎖する複数の公開鍵証明書のうち何れか1の前記公開鍵証明書が受信された場合に、当該受信された公開鍵証明書のサイズと前記第1保存領域の設定容量とに基づいて、当該受信された公開鍵証明書を前記第1保存領域に保存可能であるか否かを判定する第1判定手段と、
前記第1判定手段により保存可能であると判定された場合に前記受信された公開鍵証明書を前記第1保存領域に保存させる一方、前記第1判定手段により保存可能でないと判定された場合に前記受信された公開鍵証明書の署名検証を実行し当該署名検証が成功した場合に前記受信された公開鍵証明書から抽出された公開鍵を前記第2保存領域に保存させる処理手段と、
を備えることを特徴とするICカード。
【請求項8】
公開鍵証明書を保存するための第1保存領域と、公開鍵を保存するための第2保存領域とを含むメモリを備える電子情報記憶媒体により実行される公開鍵保存方法であって、
連鎖する複数の公開鍵証明書を外部端末から順次受信するステップと、
前記連鎖する複数の公開鍵証明書のうち何れか1の前記公開鍵証明書が受信された場合に、当該受信された公開鍵証明書のサイズと前記第1保存領域の設定容量とに基づいて、当該受信された公開鍵証明書を前記第1保存領域に保存可能であるか否かを判定するステップと、
前記受信された公開鍵証明書を保存可能であると判定された場合に前記受信された公開鍵証明書を前記第1保存領域に保存させる一方、前記受信された公開鍵証明書を保存可能でないと判定された場合に前記受信された公開鍵証明書の署名検証を実行し当該署名検証が成功した場合に前記受信された公開鍵証明書から抽出された公開鍵を前記第2保存領域に保存させるステップと、
を含むことを特徴とする公開鍵保存方法。
【請求項9】
公開鍵証明書を保存するための第1保存領域と、公開鍵を保存するための第2保存領域とを含むメモリを備える電子情報記憶媒体に含まれるコンピュータに、
連鎖する複数の公開鍵証明書を外部端末から順次受信するステップと、
前記連鎖する複数の公開鍵証明書のうち何れか1の前記公開鍵証明書が受信された場合に、当該受信された公開鍵証明書のサイズと前記第1保存領域の設定容量とに基づいて、当該受信された公開鍵証明書を前記第1保存領域に保存可能であるか否かを判定するステップと、
前記受信された公開鍵証明書を保存可能であると判定された場合に前記受信された公開鍵証明書を前記第1保存領域に保存させる一方、前記受信された公開鍵証明書を保存可能でないと判定された場合に前記受信された公開鍵証明書の署名検証を実行し当該署名検証が成功した場合に前記受信された公開鍵証明書から抽出された公開鍵を前記第2保存領域に保存させるステップと、
を実行させることを特徴とするプログラム。
発明の詳細な説明
【技術分野】
【0001】
本発明は、公開鍵証明書の検証機能を持つIC(Integrated Circuit)カード等の技術分野に関する。
続きを表示(約 1,900 文字)
【背景技術】
【0002】
近年、ICカードの用途は広がり、機密情報を保存する用途として欠かせない存在になっている。ICカードは、その機密情報を保護するために、例えば、外部端末との通信にはデータを暗号化して送受信する機能を備えている。この暗号通信には、例えば特許文献1に開示されるように、PKI(Public Key Infrastructure)が用いられ、ICカードは、認証局から発行された公開鍵証明書の署名を検証することにより、外部端末が認証局により信頼されているかどうかを確認することができる。PKIシステムにおいて、公開鍵証明書は連鎖した構造(階層構造)を持つ場合があり、この場合、ICカードは、複数の公開鍵証明書の署名を検証することになる。特許文献1に開示されたICカードでは、一度署名検証が成功している公開鍵証明書については、公開鍵証明書自体を保存しておき、次回以降は受信した公開鍵証明書と保存された情報との比較のみを行って署名検証処理は再度実行しないことにより、安全性を損なうことなく署名検証処理に要する時間を効率化することのできるようになっている。
【先行技術文献】
【特許文献】
【0003】
特許第5459845号公報
【発明の概要】
【発明が解決しようとする課題】
【0004】
ところで、複数の署名を検証する場合、PCやスマートフォンに比べてメモリ容量が小さく処理能力の低いICカードでは、何階層にも連鎖した公開鍵証明書を全て受信してから検証するとメモリが不足し、また受信のたびに検証すると効率が悪く利便性を損なってしまう。
【0005】
そこで、本発明は、このような点などに鑑みてなされたものであり、公開鍵証明書の署名検証においてメモリが不足せず、かつ署名検証を効率的に実施することが可能な電子情報記憶媒体、ICチップ、ICカード、公開鍵保存方法、及びプログラムを提供することを課題の一例とする。
【課題を解決するための手段】
【0006】
上記課題を解決するために、請求項1に記載の発明は、公開鍵証明書を保存するための第1保存領域と、公開鍵を保存するための第2保存領域とを含むメモリを備える電子情報記憶媒体において、連鎖する複数の公開鍵証明書を外部端末から順次受信する受信手段と、前記連鎖する複数の公開鍵証明書のうち何れか1の前記公開鍵証明書が受信された場合に、当該受信された公開鍵証明書のサイズと前記第1保存領域の設定容量とに基づいて、当該受信された公開鍵証明書を前記第1保存領域に保存可能であるか否かを判定する第1判定手段と、前記第1判定手段により保存可能であると判定された場合に前記受信された公開鍵証明書を前記第1保存領域に保存させる一方、前記第1判定手段により保存可能でないと判定された場合に前記受信された公開鍵証明書の署名検証を実行し当該署名検証が成功した場合に前記受信された公開鍵証明書から抽出された公開鍵を前記第2保存領域に保存させる処理手段と、を備えることを特徴とする。
【0007】
請求項2に記載の発明は、請求項1に記載の電子情報記憶媒体において、前記処理手段は、前記署名検証が失敗した場合に、当該署名検証に失敗した公開鍵証明書が、前記連鎖する複数の公開鍵証明書のうち先頭から何番目に該当するかを示す情報を前記外部端末へ送信する。
【0008】
請求項3に記載の発明は、請求項1に記載の電子情報記憶媒体において、前記処理手段は、前記受信された公開鍵証明書の署名検証を、前記連鎖する複数の公開鍵証明書のうち直前に受信された公開鍵証明書から抽出された公開鍵であって前記第2保存領域に保存されている公開鍵を用いて実行することを特徴とする。
【0009】
請求項4に記載の発明は、請求項1乃至3の何れか一項に記載の電子情報記憶媒体において、前記署名検証が成功した場合であって、前記連鎖する複数の公開鍵証明書のうち直前に受信された公開鍵証明書から抽出された公開鍵が前記第2保存領域に保存されている場合に、前記処理手段は、当該保存されている公開鍵に代えて、前記受信された公開鍵証明書から抽出された公開鍵を前記第2保存領域に保存させることを特徴とする。
【0010】
請求項5に記載の発明は、請求項4に記載の電子情報記憶媒体において、前記処理手段は、前記第1保存領域から公開鍵証明書を消去することを特徴とする。
(【0011】以降は省略されています)
この特許をJ-PlatPat(特許庁公式サイト)で参照する
関連特許
他の特許を見る