TOP
|
特許
|
意匠
|
商標
特許ウォッチ
Twitter
他の特許を見る
公開番号
2025089125
公報種別
公開特許公報(A)
公開日
2025-06-12
出願番号
2023204139
出願日
2023-12-01
発明の名称
ろ過装置、ろ材抜出装置、ろ材抜出方法、ろ材補充装置、ろ材補充方法およびろ材交換方法
出願人
三菱ケミカルアクア・ソリューションズ株式会社
代理人
個人
,
個人
,
個人
主分類
B01D
24/00 20060101AFI20250605BHJP(物理的または化学的方法または装置一般)
要約
【課題】本発明の一つの目的は、粒子状のろ材を、ロスを低減しつつ簡便にろ過塔から抜き出せるろ過装置、ろ材抜出装置およびろ材抜出方法を提供することにある。
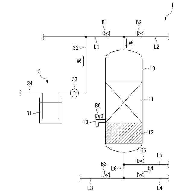
【解決手段】粒子状のろ材が充填されるろ過層を有するろ過塔と、前記ろ材を抜き出すための水を前記ろ過層の底部から上部に向かう方向に前記ろ過塔内に供給するための水供給配管と、を備えており、前記ろ過塔には、前記ろ過塔内の前記ろ材を水とともに抜き出すための、抜出配管を接続可能な抜出口部が設けられ、前記抜出口部には抜出バルブが設けられているろ過装置を提供する。また、前記抜出口部に接続される、前記ろ過塔内から前記ろ材を水とともに抜き出すための抜出配管を備えるろ材抜出装置、およびそれを用いたろ材抜出方法を提供する。
【選択図】図1
特許請求の範囲
【請求項1】
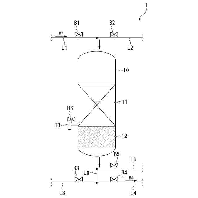
粒子状のろ材が充填されるろ過層を有するろ過塔と、
前記ろ材を抜き出すための水を前記ろ過層の底部から上部に向かう方向に前記ろ過塔内に供給するための水供給配管と、を備え、
前記ろ過塔には、前記ろ過塔内の前記ろ材を水とともに抜き出すための、抜出配管を接続可能な抜出口部が設けられ、
前記抜出口部には抜出バルブが設けられている、ろ過装置。
続きを表示(約 1,200 文字)
【請求項2】
前記抜出口部が、前記ろ過塔における前記ろ過層の底部に設けられている、請求項1に記載のろ過装置。
【請求項3】
粒子状のろ材が充填されるろ過層を有するろ過塔と、前記ろ材を抜き出すための水を前記ろ過層の底部から上部に向かう方向に前記ろ過塔内に供給するための水供給配管とを備え、前記ろ過塔内の前記ろ材を水とともに抜き出すための抜出口部が前記ろ過塔に設けられ、前記抜出口部に抜出バルブが設けられているろ過装置における前記ろ過塔から、ろ材を抜き出すためのろ材抜出装置であって、
前記抜出口部に接続される、前記ろ過塔内から前記ろ材を水とともに抜き出すための抜出配管を備える、ろ材抜出装置。
【請求項4】
前記ろ過塔から抜き出したろ材を回収するろ材回収タンクをさらに備え、
前記抜出配管における前記抜出口部と接続される一端とは逆側の他端が、前記ろ材回収タンクに接続される、請求項3に記載のろ材抜出装置。
【請求項5】
請求項3に記載のろ材抜出装置を用いて前記ろ過塔から粒子状のろ材の抜き出す方法であって、
前記抜出配管を前記抜出口部に接続し、前記水供給配管から前記ろ過塔内に水を供給して、前記ろ過塔内から前記抜出配管を通じて前記ろ材を水とともに抜き出す、ろ材抜出方法。
【請求項6】
前記ろ過塔における前記ろ過層の底部に設けられた前記抜出口部に前記抜出配管の一端を接続してろ材を抜き出す、請求項5に記載のろ材抜出方法。
【請求項7】
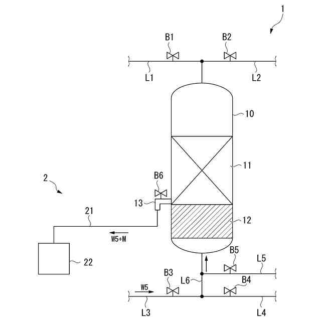
粒子状のろ材が充填されるろ過層を有するろ過塔と、前記ろ過塔内に被処理水を通水するための被処理水通水配管とを備えたろ過装置における前記ろ過塔にろ材を補充するためのろ材補充装置であって、
前記ろ材を保管するためのろ材保管タンクと、
前記ろ材を水とともに前記ろ過塔に補充するためのろ材補充配管と、
動力源と、を備え、
前記動力源によって前記ろ材を含むろ材含有水が前記ろ材保管タンクから前記ろ材補充配管を通じて前記ろ過塔に供給されることにより、前記ろ過塔に前記ろ材が補充される、ろ材補充装置。
【請求項8】
前記ろ材補充配管の一端が前記被処理水通水配管の途中に接続され、前記ろ材補充配管の他端が前記ろ材保管タンクに接続されている、請求項7に記載のろ材補充装置。
【請求項9】
前記動力源がポンプである、請求項7または8に記載のろ材補充装置。
【請求項10】
前記動力源として前記被処理水通水配管にエジェクターが設けられ、前記エジェクターの駆動により、前記ろ材含有水が前記ろ材補充配管から前記被処理水通水配管を通じて前記ろ過塔に供給される、請求項7に記載のろ材補充装置。
(【請求項11】以降は省略されています)
発明の詳細な説明
【技術分野】
【0001】
本発明は、ろ過装置、ろ材抜出装置、ろ材抜出方法、ろ材補充装置、ろ材補充方法およびろ材交換方法に関する。
続きを表示(約 3,100 文字)
【背景技術】
【0002】
粒子状のろ材は、食品、医薬品、化学工業、水処理分野をはじめ、公共環境事業等、あらゆる産業分野で広く採用されている。特に水処理現場では、特定の不純物の吸着のために活性炭、イオン交換樹脂、砂ろ過材などの粒子状のろ材が主に用いられている。
【0003】
水処理性能の異常を未然に防ぐため、ろ材は定期的に交換する必要がある。ろ過塔からろ材を取り出す方法としては、例えば、バキュームカーによる吸引によってろ過塔からろ材を吸い出す方法が知られている。また、ろ過塔の側壁に設けられたマンホールを開け、シャベルを用いて人力でろ材を取り出し、新しいろ材を投入する方法も知られている。
【0004】
特許文献1には、より簡単に粒子状のろ材を交換する手法として、活性炭吸着塔(ろ過塔)の下部に設けた活性炭引抜き装置によって活性炭吸着塔から使用済の活性炭粒子を引抜いた後に、活性炭吸着塔の横に設けた新活性炭供給装置によって新たな活性炭を活性炭吸着塔に補充することが提案されている。
【先行技術文献】
【特許文献】
【0005】
特開昭60-54782号公報
【発明の概要】
【発明が解決しようとする課題】
【0006】
しかし、特許文献1の手法では、ろ過塔からろ材を抜き出す際や補充する際にろ過塔や配管の内壁面にろ材が付着しやすく、ろ材の抜き出しや補充にロスが生じる。特に活性炭は粒子が小さくろ過塔や配管の壁面に付着しやすいため、ロスが大きくなる。また、特許文献1の活性炭吸着装置6は自重式のため、活性炭ろ過塔の下部に十分な空間を確保する必要があり、ろ過装置全体は大型になって複雑である。
【0007】
本発明の一つの目的は、粒子状のろ材を、ロスを低減しつつ簡便にろ過塔から抜き出せるろ過装置、ろ材抜出装置およびろ材抜出方法を提供することにある。
また、本発明の一つの目的は、粒子状のろ材を、ロスを低減しつつ簡便にろ過塔に補充できるろ材補充装置およびろ材補充方法を提供することにある。
また、本発明の一つの目的は、ろ過塔の粒子状のろ材を、ロスを低減しつつ簡便に交換できるろ材交換方法を提供することにある。
【課題を解決するための手段】
【0008】
本発明者らは、鋭意検討を重ねた結果、ろ過塔からのろ材の抜き出しやろ過塔へのろ材の補充において水の力を利用することにより、ロスを低減しつつ簡便にろ材の抜き出しや補充が行えることを見出し、本発明に至った。
【0009】
すなわち、本発明は、以下の構成を含む。
[1]粒子状のろ材が充填されるろ過層を有するろ過塔と、
前記ろ材を抜き出すための水を前記ろ過層の底部から上部に向かう方向に前記ろ過塔内に供給するための水供給配管と、を備え、
前記ろ過塔には、前記ろ過塔内の前記ろ材を水とともに抜き出すための、抜出配管を接続可能な抜出口部が設けられ、
前記抜出口部には抜出バルブが設けられている、ろ過装置。
[2]前記抜出口部が、前記ろ過塔における前記ろ過層の底部に設けられている、[1]に記載のろ過装置。
[3]粒子状のろ材が充填されるろ過層を有するろ過塔と、前記ろ材を抜き出すための水を前記ろ過層の底部から上部に向かう方向に前記ろ過塔内に供給するための水供給配管とを備え、前記ろ過塔内の前記ろ材を水とともに抜き出すための抜出口部が前記ろ過塔に設けられ、前記抜出口部に抜出バルブが設けられているろ過装置における前記ろ過塔から、ろ材を抜き出すためのろ材抜出装置であって、
前記抜出口部に接続される、前記ろ過塔内から前記ろ材を水とともに抜き出すための抜出配管を備える、ろ材抜出装置。
[4]前記ろ過塔から抜き出したろ材を回収するろ材回収タンクをさらに備え、
前記抜出配管における前記抜出口部と接続される一端とは逆側の他端が、前記ろ材回収タンクに接続される、[3]に記載のろ材抜出装置。
[5][3]または[4]に記載のろ材抜出装置を用いて前記ろ過塔から粒子状のろ材の抜き出す方法であって、
前記抜出配管を前記抜出口部に接続し、前記水供給配管から前記ろ過塔内に水を供給して、前記ろ過塔内から前記抜出配管を通じて前記ろ材を水とともに抜き出す、ろ材抜出方法。
[6]前記ろ過塔における前記ろ過層の底部に設けられた前記抜出口部に前記抜出配管の一端を接続してろ材を抜き出す、[5]に記載のろ材抜出方法。
[7]粒子状のろ材が充填されるろ過層を有するろ過塔と、前記ろ過塔内に被処理水を通水するための被処理水通水配管とを備えたろ過装置における前記ろ過塔にろ材を補充するためのろ材補充装置であって、
前記ろ材を保管するためのろ材保管タンクと、
前記ろ材を水とともに前記ろ過塔に補充するためのろ材補充配管と、
動力源と、を備え、
前記動力源によって前記ろ材を含むろ材含有水が前記ろ材保管タンクから前記ろ材補充配管を通じて前記ろ過塔に供給されることにより、前記ろ過塔に前記ろ材が補充される、ろ材補充装置。
[8]前記ろ材補充配管の一端が前記被処理水通水配管の途中に接続され、前記ろ材補充配管の他端が前記ろ材保管タンクに接続されている、[7]に記載のろ材補充装置。
[9]前記動力源がポンプである、[7]または[8]に記載のろ材補充装置。
[10]前記動力源として前記被処理水通水配管にエジェクターが設けられ、前記エジェクターの駆動により、前記ろ材含有水が前記ろ材補充配管から前記被処理水通水配管を通じて前記ろ過塔に供給される、[7]に記載のろ材補充装置。
[11][7]~[10]のいずれかに記載のろ材補充装置を用いて前記ろ過塔に粒子状のろ材を補充する方法であって、
前記ろ材保管タンクから前記ろ材含有水を前記ろ過塔へと供給することにより、前記ろ過塔に前記ろ材を補充する、ろ材補充方法。
[12]前記ろ材含有水中の水とろ材との質量比が1:1~10:1である、[11]に記載のろ材補充方法。
[13][8]または[10]に記載のろ材補充装置を用いて前記ろ過塔に粒子状のろ材を補充する方法であって、
前記ろ材保管タンクからの前記ろ材含有水を、被処理水とともに前記被処理水通水配管を通じて前記ろ過塔へと供給することにより、前記ろ過塔に前記ろ材を補充する、ろ材補充方法。
[14][5]または[6]に記載のろ材抜出方法によってろ過塔から粒子状のろ材を抜き出すこと、および、[11]~[13]のいずれかに記載のろ材補充方法によって前記ろ過塔に新たな粒子状のろ材を補充すること、の少なくとも一方を含む、ろ材交換方法。
【発明の効果】
【0010】
本発明の一実施形態によれば、粒子状のろ材を、ロスを低減しつつ簡便にろ過塔から抜き出せるろ過装置、ろ材抜出装置およびろ材抜出方法が提供される。
本発明の一実施形態によれば、粒子状のろ材を、ロスを低減しつつ簡便にろ過塔に補充できるろ材補充装置およびろ材補充方法が提供される。
本発明の一実施形態によれば、ろ過塔の粒子状のろ材を、ロスを低減しつつ簡便に交換できるろ材交換方法が提供される。
【図面の簡単な説明】
(【0011】以降は省略されています)
この特許をJ-PlatPat(特許庁公式サイト)で参照する
関連特許
他の特許を見る