TOP
|
特許
|
意匠
|
商標
特許ウォッチ
Twitter
他の特許を見る
10個以上の画像は省略されています。
公開番号
2025088817
公報種別
公開特許公報(A)
公開日
2025-06-12
出願番号
2023203545
出願日
2023-12-01
発明の名称
方向転換装置および仕分けシステム
出願人
株式会社椿本チエイン
代理人
個人
,
個人
主分類
B65G
39/04 20060101AFI20250605BHJP(運搬;包装;貯蔵;薄板状または線条材料の取扱い)
要約
【課題】搬送経路の主たる搬送方向に対する搬送安定性を確保しながら、方向転換時における抵抗力の低減化が図られ、小型化、省電力化、搬送能力の向上及び長寿命化を実現可能な方向転換装置および物品の高速仕分けが可能な仕分けシステムを提供すること。
【解決手段】ターンローラタイプの方向転換装置において、複数の搬送ローラ120の一部または全部は、円筒状外周面122を有する円筒部121と、回転軸線方向の少なくとも一側に設けられ球面状外周面124を有する球面部123とを備え、円筒状外周面122と球面状外周面124とを接続する曲面状の外周面126を有する導入部125が設けられた構成とされる。仕分けシステムは、上記方向転換装置を備えてなる。
【選択図】図7A
特許請求の範囲
【請求項1】
複数列のローラ列と、前記ローラ列と平行に配置され前記ローラ列を構成する複数の搬送ローラを一斉に水平軸線まわりに回転させるラインシャフトと、前記ローラ列における複数の前記搬送ローラを前記搬送ローラの向きを揃えて垂直軸線まわりに回動させる回動機構を備えた方向転換装置であって、
複数の前記搬送ローラの一部または全部は、円筒状外周面を有する円筒部と、回転軸線方向の少なくとも一側に設けられ球面状外周面を有する球面部とを備え、前記円筒状外周面と前記球面状外周面とを接続する曲面状の外周面を有する導入部が設けられていることを特徴とする方向転換装置。
続きを表示(約 360 文字)
【請求項2】
前記搬送ローラは、付勢部材によって前記ラインシャフトと接触状態を保つように付勢されており、
前記球面部の曲率中心が前記搬送ローラの回転軸線上に位置され、
前記搬送ローラの回動軸線が、前記球面部の曲率中心を含み、前記回転軸線が法線となる面上を通ることを特徴とする請求項1に記載の方向転換装置。
【請求項3】
前記導入部の外周面は、前記回転軸線を含む断面において、前記円筒部の前記円筒状外周面及び前記球面部の前記球面状外周面の各々に対し前記搬送ローラの外周面が凹状とならないよう接続されていることを特徴とする請求項1に記載の方向転換装置。
【請求項4】
請求項1乃至請求項3のいずれかに記載の方向転換装置を備えることを特徴とする仕分けシステム。
発明の詳細な説明
【技術分野】
【0001】
本発明は、物品の搬送方向を転換させる方向転換装置および当該方向転換装置を備えた仕分けシステムに関する。
続きを表示(約 2,700 文字)
【背景技術】
【0002】
現在、物品搬送経路の途中で物品の搬送方向を転換する方向転換装置として、いわゆる「ターンローラタイプ」のものが知られている(例えば特許文献1,2参照)。
この種の方向転換装置においては、物品搬送経路における主たる搬送方向及び幅方向に複数配列され水平軸線まわりに回転自在に支持された複数の搬送ローラを複数のラインシャフトによって一斉に摩擦駆動することで物品を物品搬送経路における主たる搬送方向に搬送する。そして、搬送ローラをエアシリンダなどのアクチュエータによって垂直軸線まわりに回動させて搬送ローラの回転軸線とラインシャフトの回転軸線とが斜めになった状態で駆動力を伝達することで物品搬送経路における主たる搬送方向と異なる方向への方向転換が可能に構成されている。
【0003】
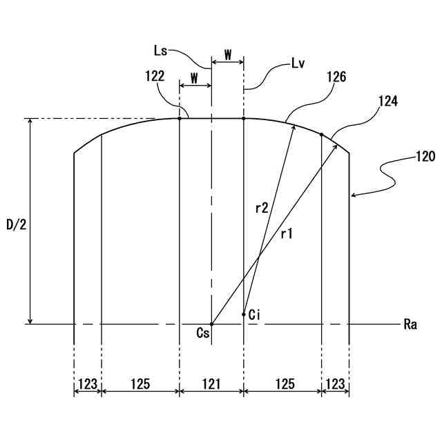
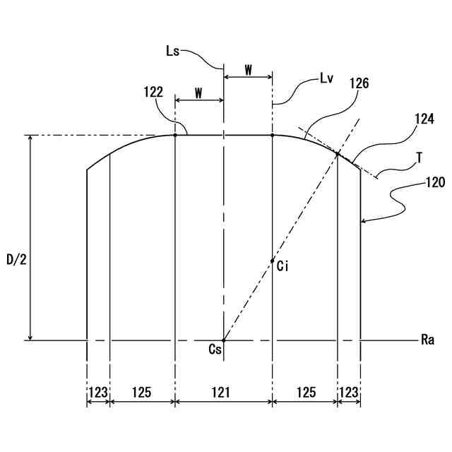
搬送ローラとしては、例えば、図11Aに示すように、球面状外周面124を有した構成の搬送ローラ120aや、図11Bに示すように、円筒状外周面122を有する円筒部121が回転軸線方向中央部に設けられた構成の搬送ローラ120bなどが用いられている。図11Aに示す搬送ローラ120aにおいては、球面状外周面124は、回転軸線Raを含む断面において、例えば回転軸線Raと搬送ローラ120aの幅方向の中心線との交点を曲率中心Csとする円弧の一部により構成されている。図11Bに示す搬送ローラ120bにおいては、円筒部121の両側の各々に連続する部分が、回転軸線Raを含む断面において、例えば回転軸線Raと搬送ローラ120bの幅方向の中心線との交点を曲率中心Csとする球面状外周面124を有した球面部123となっている。
【先行技術文献】
【特許文献】
【0004】
特許第2911809号公報
特許第5197269号公報
【発明の概要】
【発明が解決しようとする課題】
【0005】
而して、ターンローラタイプの方向転換装置において、迅速且つ確実な仕分け動作を行うためには、物品の方向転換に際して搬送ローラを回動させるときの抵抗力は小さい方が望ましい。この点においては、搬送ローラの回動に伴うラインシャフトとの摩擦抵抗が大きく変化することがないことから、図11Aに示す構成の搬送ローラ120aを用いることが好ましい。
しかしながら、図11Aに示す構成の搬送ローラ120aでは、ラインシャフトから搬送ローラ120aに伝達する駆動力を大きくすることができないため、物品の搬送力が弱くなり、また、方向の安定性も低下し、物品搬送経路における主たる搬送方向に対する物品の搬送安定性が低いといった問題がある。
一方、図11Bに示す構成の搬送ローラ120bでは、円筒部121を備えることで、多少の外乱を受けても、物品搬送経路における主たる搬送方向に対する物品の搬送安定性を確保することができる。
しかしながら、図11Bに示す構成の搬送ローラ120bでは、搬送ローラ120bを回動させるときの抵抗力が大きくなるため、迅速且つ確実な仕分け動作を行うために、推力の大きいアクチュエータが必要となる。これにより、装置の大型化、消費エネルギーの増大化やアクチュエータの作動時の騒音が大きくなるといった問題を生ずることとなる。
【0006】
本発明は、以上のような事情に基づいてなされたものであり、搬送経路の主たる搬送方向に対する搬送安定性を確保しながら、方向転換時における抵抗力の低減化が図られ、小型化、省電力化、搬送能力の向上及び長寿命化を実現可能な方向転換装置を提供することを目的とする。
また、本発明の他の目的は、物品の高速仕分けが可能な仕分けシステムを提供することにある。
【課題を解決するための手段】
【0007】
本発明は、複数列のローラ列と、前記ローラ列と平行に配置され前記ローラ列を構成する複数の搬送ローラを一斉に水平軸線まわりに回転させるラインシャフトと、前記ローラ列における複数の前記搬送ローラを前記搬送ローラの向きを揃えて垂直軸線まわりに回動させる回動機構を備えた方向転換装置であって、複数の前記搬送ローラの一部または全部は、円筒状外周面を有する円筒部と、回転軸線方向の少なくとも一側に設けられ球面状外周面を有する球面部とを備え、前記円筒状外周面と前記球面状外周面とを接続する曲面状の外周面を有する導入部を設けた構成とすることにより、前記課題を解決するものである。
【0008】
また、本発明の仕分けシステムは、上記の方向転換装置を備えた構成とすることにより、前記課題を解決するものである。
【発明の効果】
【0009】
本請求項1に係る発明によれば、基本的には、搬送ローラが円筒部を備えることで、搬送ローラを搬送駆動方向が物品搬送経路の主たる搬送方向となる通常ポジションとした状態において、物品搬送経路の主たる搬送方向に対する物品の搬送安定性を確保することができる。また、搬送ローラが球面部を備えることで、搬送ローラを回動させて搬送駆動方向が物品搬送経路の主たる搬送方向と異なる方向となる切替ポジション(搬送ローラが所定角度傾いた状態)に切り替えたときの搬送ローラの回転姿勢を安定させることができる。
しかも、搬送ローラが導入部を備えることで、円筒部から球面部への形状変化が緩やかになるため、搬送ローラを回動させてポジションを切り替えるときの抵抗を低減することができる。これにより、回動機構を、エア容積の小さいエアシリンダや、電動アクチュエータ、電磁ソレノイドといった推力の小さいアクチュエータを備えた構成とすることが可能となるので、方向転換装置の小型化及び省電力化を実現可能である。また、搬送ローラのポジション切替時の抵抗が低減することで、動作速度を向上させることが可能となって搬送能力の向上を図ることができると共に、摺動部品や搬送ローラの摩耗や劣化を抑制することができて長寿命化を実現可能である。
【0010】
本請求項2に係る発明によれば、搬送ローラを通常ポジション及び切替ポジションのいずれのポジションとした場合であっても、搬送ローラのラインシャフトに対する適正な接触状態を維持することができる。
本請求項3に係る発明によれば、搬送ローラのポジションの切替を円滑に行うことができる。
(【0011】以降は省略されています)
この特許をJ-PlatPat(特許庁公式サイト)で参照する
関連特許
他の特許を見る