TOP
|
特許
|
意匠
|
商標
特許ウォッチ
Twitter
他の特許を見る
公開番号
2025088768
公報種別
公開特許公報(A)
公開日
2025-06-11
出願番号
2024208158
出願日
2024-11-29
発明の名称
可変有効焦点距離を有する透過型電子顕微鏡
出願人
エフ イー アイ カンパニ
,
FEI COMPANY
代理人
弁理士法人ITOH
主分類
H01J
37/295 20060101AFI20250604BHJP(基本的電気素子)
要約
【課題】可変有効焦点距離を有する透過型電子顕微鏡(TEM)を提供する。
【解決手段】TEMは、第1のポート及び第2のポートの各々は、ビームの波面を操作するための波面操作デバイスを受容するように構成されている。第1のポート及び第2のポートの各々は、投影アセンブリ領域、第1のレンズ領域、及び第2のレンズ領域のうちの異なる領域内に位置する。コントローラは、第1のレンズ及び第2のレンズの励起を制御するように構成されている。第1のモードにおいて、コントローラは、第1のレンズ及び第2のレンズを制御して、回折パターンを第2の回折平面に向けるように構成されており、第2の回折平面は第1のポート平面と一致する。第2のモードにおいて、コントローラは、第1のレンズ及び第2のレンズを制御して、回折パターンを第3の回折平面に向けるように構成されており、第3の回折平面は第2のポート平面と一致する。
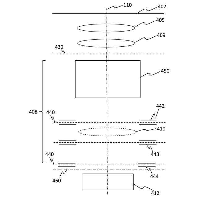
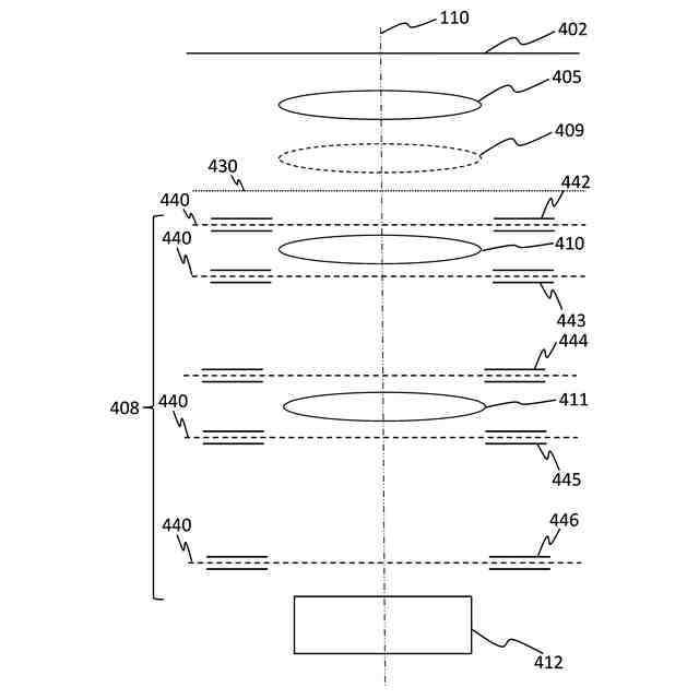
【選択図】図4
特許請求の範囲
【請求項1】
透過型電子顕微鏡(TEM)であって、
サンプルを保持するように構成されたサンプルホルダと、
前記サンプルホルダに向けて電子のビームを供給するように構成された電子源と、
前記サンプルホルダを出た後の前記電子のビームを受け取り、第1の回折平面に回折パターンを生成するように構成された一次レンズと、
前記一次レンズを出た後の前記電子のビームを受け取り、前記サンプルホルダ内に存在するサンプルの画像を形成するように構成された中間レンズアセンブリであって、第1のレンズ領域を占める第1のレンズと、第2のレンズ領域を占める第2のレンズと、を順に含む、中間レンズアセンブリと、
前記サンプルの前記画像を受け取るように構成された投影アセンブリであって、投影アセンブリ領域を占める、投影アセンブリと、
第1のポート平面内の第1のポート及び第2のポート平面内の第2のポートであって、前記第1のポート及び前記第2のポートの各々は、前記ビームの波面を操作するための波面操作デバイスを受容するように構成されており、
前記第1のポート及び前記第2のポートの各々は、前記投影アセンブリ領域、前記第1のレンズ領域、及び前記第2のレンズ領域のうちの異なる領域内に位置する、第1のポート及び第2のポートと、
前記第1のレンズ及び前記第2のレンズの励起を制御するように構成されたコントローラと、を含み、
第1のモードにおいて、前記コントローラは、前記第1のレンズ及び前記第2のレンズを制御して、前記回折パターンを第2の回折平面に向けるように構成されており、前記第2の回折平面は前記第1のポート平面と一致し、
第2のモードにおいて、前記コントローラは、前記第1のレンズ及び前記第2のレンズを制御して、前記回折パターンを第3の回折平面に向けるように構成されており、前記第3の回折平面は前記第2のポート平面と一致する、透過型電子顕微鏡(TEM)。
続きを表示(約 640 文字)
【請求項2】
前記第1のポートに受容されるように構成され、かつ前記第2のポートに受容されるように構成された波面操作デバイスを含む、請求項1に記載のTEM。
【請求項3】
前記第1のポート及び前記第2のポートはそれぞれ、入口及び出口を備える、請求項1に記載のTEM。
【請求項4】
前記第1のポート及び前記第2のポートのうちの少なくとも1つは、前記第1のレンズと前記第2のレンズとの間にある、請求項1に記載のTEM。
【請求項5】
前記波面操作デバイスが、位相板などの位相操作デバイスを含む、請求項1に記載のTEM。
【請求項6】
前記位相板がレーザ位相板を含む、請求項5に記載のTEM。
【請求項7】
前記一次レンズが、前記サンプルホルダを磁場に入れるように構成されている、請求項1に記載のTEM。
【請求項8】
前記一次レンズと前記中間レンズアセンブリとの間に二次レンズを更に含み、前記二次レンズは、前記サンプルホルダを磁場に入れないように構成されている、請求項1に記載のTEM。
【請求項9】
前記第1のポートが前記第1のレンズ領域内に位置する、請求項1に記載のTEM。
【請求項10】
前記第1のポートが、前記一次レンズと前記中間レンズアセンブリの前記第1のレンズとの間に位置する、請求項9に記載のTEM。
(【請求項11】以降は省略されています)
発明の詳細な説明
【技術分野】
【0001】
本開示は、透過型電子顕微鏡法の分野に関する。
続きを表示(約 2,300 文字)
【背景技術】
【0002】
透過型電子顕微鏡(Transmission Electron Microscope;TEM)では、電子源によって生成された電子のビームは、サンプルを照らす電子のビームに形成される。サンプルは非常に薄く、したがって、電子の一部は散乱されずにサンプルを通過し、また電子の一部はサンプルによって散乱される。散乱電子の一部はサンプル内で弾性的に散乱されるが、他の散乱電子は非弾性的に散乱され、散乱電子は、サンプルに入射する角度とは異なる角度でサンプルから出射する。蛍光板又はCCDカメラなどの検出器上にサンプルを結像することによって、画像平面内の強度変化を記録することができる。強度変動は、顕微鏡内で散乱電子の一部が吸収されることに部分的に起因し、また散乱電子と非散乱電子との間の干渉に部分的に起因する。生体組織などの薄いローインピーダンス材料では、位相コントラストが支配的であり、このコントラストは主に、弾性散乱電子を伴う干渉プロセスによって引き起こされる。このような材料は、通常、位相物体と呼ばれる。
【0003】
電子が互いに干渉することによって生じる画像のコントラストは、電子が散乱される角度及び適用される焦点ぼけの量に依存する。特定の空間周波数を有する物体特徴部は、特定の角度下でビームを散乱させ、散乱角度は空間周波数に比例する。正確に焦点が合った位相物体を結像するとき、コントラストは全ての空間周波数に対して0に近い。焦点ぼけを適用すると、低い空間周波数では、散乱角度は0に近く、コントラストは依然として0に近い。より高い空間周波数では、コントラストは、空間周波数に応じて、正のコントラストと負のコントラストとの間で変動する。このコントラスト変動は、いわゆるコントラスト伝達関数(Contrast Transfer Function;CTF)によって記述され、これは、正弦関数のように振動し、0の空間周波数に対して0で始まる。CTFは低い空間周波数に対して0に近いので、大きな構造は画像内でよく見えない。
【0004】
1947年に、Boerschは、位相板を導入すると、低い空間周波数が最大値を示すCTFがもたらされ、したがって、大きい構造がより良好に結像され得ることを説明しており、「Ueber die Kontraste von Atomen im Elektronenmikroskop」,H.Boersch,Z.Naturforschung 2A(1947),p.615-633を参照されたい。このような位相板は、TEMにうまく導入されている。
【0005】
位相板は、サンプルを照らす平行ビームが、サンプルを通過した後に対物レンズによって集束される平面、いわゆる後焦点面に配置される構造である。この平面に回折パターンが形成される。全ての非散乱電子は一点に集束されるが、散乱電子は他の位置に到達する。位相板は、例えば散乱電子と非散乱電子との間のπ/2の位相シフトを引き起こし、それによって、CTFの正弦様の挙動を余弦様の挙動に変換する。
【0006】
位相板はまた、この第1の回折平面と共役な平面に配置することもできる。そのような共役面では、回折パターンを係数Mによって拡大(縮小)させることができる。そのような平面は、対物レンズの焦点距離のM倍として定義される、いわゆる有効焦点距離f
eff
を有する。そのような共役面内で位相板を使用して、位相板の配置のためのより多くの空間を作り出すこと、及びf
eff
の最適値を選択する際の自由度を有することは、有利であり得る。f
eff
の大きな値は、通常、CTFの余弦様の挙動の開始(「カットオン周波数」)を改善する。
【0007】
現在、CWレーザに基づく位相板(レーザ位相板、Laser Phase Plate;LPP)が、透過型電子顕微鏡内で使用するために調査されているが、電子ビーム付近のLPPハードウェアのサイズ及びサンプル領域付近の繊細なレーザ光学素子の汚染リスクにより、対物レンズ領域内での使用が困難になっている。更に、LPPは、十分に低いカットオン周波数を有するために大きな値のf
eff
を必要とする。したがって、後焦点面に共役な平面にLPPを配置することが魅力的である。
【0008】
TEM内での位相板の使用に加えて、画像補正器を組み込むことが知られており、画像補正器は、結像光学系の収差を補正し、それによってTEMの画像品質を改善する。
【0009】
例えば、補正システムは、TEMの対物レンズと投影システムとの間に配置され得る。補正システムは、レンズダブレットの形態の伝達システムを含み得、対物レンズの後焦点面を六極子レンズ上に結像する。次いで、上記六極子レンズは、レンズのダブレットによって別の六極子レンズ上に結像され、最後に、アダプタレンズを使用して、TEMの投影システムの入口に物体の画像を形成する。
【0010】
通常、これらの従来技術の構成の共役回折平面のいずれかに対して達成可能であり得る拡大量に関して、柔軟性はほとんど又は全くない。顕微鏡設計は、1つの特定の倍率を達成するように調整される。
(【0011】以降は省略されています)
この特許をJ-PlatPat(特許庁公式サイト)で参照する
関連特許
他の特許を見る