TOP
|
特許
|
意匠
|
商標
特許ウォッチ
Twitter
他の特許を見る
公開番号
2025088404
公報種別
公開特許公報(A)
公開日
2025-06-11
出願番号
2023203085
出願日
2023-11-30
発明の名称
侵入防止システム
出願人
大和ハウス工業株式会社
代理人
個人
,
個人
主分類
G06Q
50/10 20120101AFI20250604BHJP(計算;計数)
要約
【課題】利便性を向上させることができる侵入防止システムを提供する。
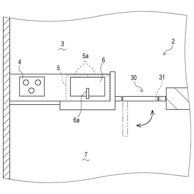
【解決手段】ロック状態とロック解除状態とに切り替え可能な侵入防止柵30と、特定エリアの出入口を通行しようとする者が大人か子供かを判別する判別部と、侵入防止柵30をロック解除状態にする侵入防止停止処理と、侵入防止柵30をロック状態にすると共に、判別部の判別結果が大人である場合は侵入防止柵30をロック解除状態に切り替える一方、判別部の判別結果が子供である場合は侵入防止柵30のロック状態を維持する侵入防止実行処理と、を切り替え可能な侵入防止制御部と、特定エリアでの行動に関する情報を取得する作業検知部20と、特定エリアで特定行動をとっていることを検出する特定行動検出部と、を具備し、侵入防止制御部は、特定行動を検出した場合は、侵入防止実行処理を実行し、特定行動を検出していない場合は、侵入防止停止処理を実行する。
【選択図】図1
特許請求の範囲
【請求項1】
特定エリアの出入口の通行を防止するロック状態と、前記ロック状態を解除するロック解除状態と、に切り替え可能な侵入防止部と、
前記特定エリアの出入口を通行しようとする者が、第一の対象者か、前記第一の対象者と異なる第二の対象者かを判別する判別部と、
前記侵入防止部を前記ロック解除状態にする侵入防止停止処理と、前記侵入防止部を前記ロック状態にすると共に、前記判別部の判別結果が前記第一の対象者である場合は前記侵入防止部を前記ロック解除状態に切り替える一方、前記判別部の判別結果が前記第二の対象者である場合は前記侵入防止部の前記ロック状態を維持する侵入防止実行処理と、を切り替えて実行可能な侵入防止制御部と、
前記第一の対象者の前記特定エリアでの行動に関する情報を取得する第一情報取得部と、
前記第一情報取得部が取得した情報に基づいて、前記第一の対象者が、前記特定エリアで特定行動をとっていることを検出する特定行動検出部と、
を具備し、
前記侵入防止制御部は、
前記特定行動検出部が前記特定行動を検出した場合は、前記侵入防止実行処理を実行し、前記特定行動検出部が前記特定行動を検出していない場合は、前記侵入防止停止処理を実行する、
侵入防止システム。
続きを表示(約 850 文字)
【請求項2】
前記第二の対象者の行動に関する情報を取得する第二情報取得部と、
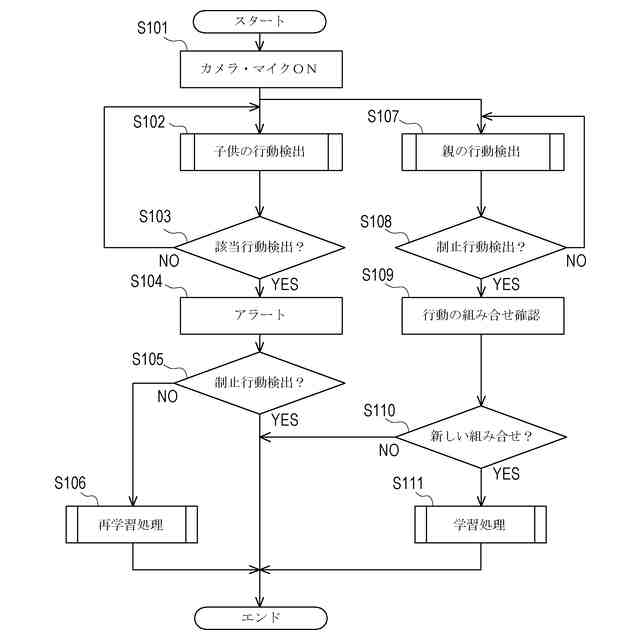
前記第二情報取得部が取得した情報に基づいて、前記第二の対象者が、前記第一の対象者によるケアを要する要ケア行動をとったことを検出する要ケア行動検出部と、
を具備し、
前記侵入防止制御部は、
前記侵入防止実行処理が実行されている場合であって、前記要ケア行動検出部が前記要ケア行動を検出した場合には、前記侵入防止停止処理を実行可能である、
請求項1に記載の侵入防止システム。
【請求項3】
前記要ケア行動検出部が前記要ケア行動を検出した場合に、報知を行う報知部を具備する、
請求項2に記載の侵入防止システム。
【請求項4】
前記第一情報取得部が取得する情報には、
前記特定エリアにおける熱の情報、前記特定エリアに設置された収納部の扉の開閉の情報、及び前記特定エリアで使用される水の流量の情報のうちの少なくとも一つが含まれる、
請求項1に記載の侵入防止システム。
【請求項5】
前記第一の対象者の特定エリア外での行動に関する情報を取得する第三情報取得部と、
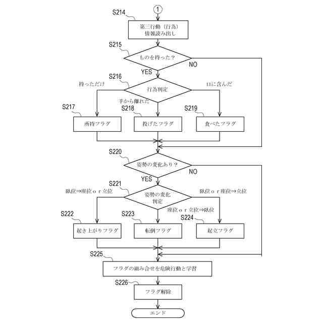
前記第三情報取得部が取得した情報に基づいて、前記第一の対象者が、前記第二の対象者の行動に対するケアを行うケア行動をとったことを検出するケア行動検出部と、
前記ケア行動検出部により検出された前記ケア行動の情報と、前記ケア行動の対象となった前記第二の対象者の行動に関する情報と、の組み合わせを記憶すると共に、当該第二の対象者の行動に関する情報を要ケア行動情報として学習する学習部と、
を具備し、
前記要ケア行動検出部は、
前記第二の対象者の行動の情報が、前記要ケア行動情報と一致した場合に、当該第二の対象者の行動が前記要ケア行動であることを検出する、
請求項2又は請求項3に記載の侵入防止システム。
発明の詳細な説明
【技術分野】
【0001】
本発明は、侵入防止システムの技術に関する。
続きを表示(約 1,600 文字)
【背景技術】
【0002】
従来、所定の空間への対象者の侵入を防止するシステムの技術は公知となっている。例えば、特許文献1に記載の如くである。
【0003】
特許文献1には、幼児が一定のエリアから外に出ることを防止するための幼児用ゲート装置が記載されている。上記幼児用ゲート装置は、出入り口に配置された扉に対して移動可能な引手部が設けられており、上記引手部を移動させることで扉のロック及びロック解除を切り替え可能に形成されている。上記幼児用ゲート装置では、扉のロックの解除を行う際には、引手部を二方向に移動させるという2つの動作を要する。
【0004】
上記幼児用ゲート装置によれば、扉のロックの解除の操作を、幼児にとっては困難なものにしたことで、幼児が出入り口を通過することを防止することができる。上記幼児用ゲート装置を所望のエリア(例えばキッチン等)に設置した場合には、上記エリアで大人が作業を行う際には扉のロックを行い、当該エリアへの幼児の侵入を防止することが可能である。
【0005】
しかしながら、上記幼児用ゲート装置を、キッチンの出入口等の生活動線となる通路に配置した場合は、大人が上記通路を通行するたびにロックの解除の操作を行う必要がある。このため、上記通路を通行する際の利便性を損なうおそれがあり、更なる改善が望まれる。
【先行技術文献】
【特許文献】
【0006】
特開2009-30376号公報
【発明の概要】
【発明が解決しようとする課題】
【0007】
本発明は以上の如き状況に鑑みてなされたものであり、その解決しようとする課題は、利便性を向上させることができる侵入防止システムを提供することである。
【課題を解決するための手段】
【0008】
本発明の解決しようとする課題は以上の如くであり、次にこの課題を解決するための手段を説明する。
【0009】
即ち、請求項1においては、特定エリアの出入口の通行を防止するロック状態と、前記ロック状態を解除するロック解除状態と、に切り替え可能な侵入防止部と、前記特定エリアの出入口を通行しようとする者が、第一の対象者か、前記第一の対象者と異なる第二の対象者かを判別する判別部と、前記侵入防止部を前記ロック解除状態にする侵入防止停止処理と、前記侵入防止部を前記ロック状態にすると共に、前記判別部の判別結果が前記第一の対象者である場合は前記侵入防止部を前記ロック解除状態に切り替える一方、前記判別部の判別結果が前記第二の対象者である場合は前記侵入防止部の前記ロック状態を維持する侵入防止実行処理と、を切り替えて実行可能な侵入防止制御部と、前記第一の対象者の前記特定エリアでの行動に関する情報を取得する第一情報取得部と、前記第一情報取得部が取得した情報に基づいて、前記第一の対象者が、前記特定エリアで特定行動をとっていることを検出する特定行動検出部と、を具備し、前記侵入防止制御部は、前記特定行動検出部が前記特定行動を検出した場合は、前記侵入防止実行処理を実行し、前記特定行動検出部が前記特定行動を検出していない場合は、前記侵入防止停止処理を実行するものである。
【0010】
請求項2においては、前記第二の対象者の行動に関する情報を取得する第二情報取得部と、前記第二情報取得部が取得した情報に基づいて、前記第二の対象者が、前記第一の対象者によるケアを要する要ケア行動をとったことを検出する要ケア行動検出部と、を具備し、前記侵入防止制御部は、前記侵入防止実行処理が実行されている場合であって、前記要ケア行動検出部が前記要ケア行動を検出した場合には、前記侵入防止停止処理を実行可能であるものである。
(【0011】以降は省略されています)
この特許をJ-PlatPat(特許庁公式サイト)で参照する
関連特許
他の特許を見る