TOP
|
特許
|
意匠
|
商標
特許ウォッチ
Twitter
他の特許を見る
10個以上の画像は省略されています。
公開番号
2025088301
公報種別
公開特許公報(A)
公開日
2025-06-11
出願番号
2023202919
出願日
2023-11-30
発明の名称
発光装置および発光装置の製造方法
出願人
日亜化学工業株式会社
代理人
個人
,
個人
,
個人
主分類
H10H
20/855 20250101AFI20250604BHJP()
要約
【課題】表面の光沢が低減された発光装置および発光装置の製造方法を提供する。
【解決手段】本開示の発光装置の製造方法は、発光素子10と、発光素子10が配置される上面を備える基体20と、を含む発光装置中間体を準備する発光装置中間体準備工程と、底面Bと側面Sとで規定される凹部Cを有する成形型Mであって、底面Bは第1底面B1と、第1底面B1の周囲に配置される第2底面B2と、を含む成形型Mを準備する成形型準備工程と、凹部C内に、第1光学部材31と、粒状体30pを含む第2光学部材32と、含む光学部材30を配置する光学部材配置工程と、光学部材30内に基体20の上面側を挿入する挿入工程と、を有し、光学部材配置工程は、第1底面B1上に第1光学部材31を配置する第1光学部材配置工程と、第1光学部材31上及び第2底面B2上に第2光学部材32を配置する第2光学部材配置工程と、を有する。
【選択図】図1B
特許請求の範囲
【請求項1】
発光素子と、前記発光素子が配置される上面を備える基体と、を含む発光装置中間体を準備する発光装置中間体準備工程と、
底面と側面とで規定される凹部を有する成形型であって、前記底面は第1底面と、前記第1底面の周囲に配置される第2底面と、を含む成形型を準備する成形型準備工程と、
前記凹部内に、第1光学部材と、粒状体を含む第2光学部材と、を含む光学部材を配置する光学部材配置工程と、
前記光学部材内に前記基体の上面側を挿入する挿入工程と、
を有し、
前記光学部材配置工程は、前記第1底面上に前記第1光学部材を配置する第1光学部材配置工程と、前記第1光学部材上及び前記第2底面上に前記第2光学部材を配置する第2光学部材配置工程と、を有する発光装置の製造方法。
続きを表示(約 1,400 文字)
【請求項2】
前記第2底面は平坦な平面であり、前記第1底面は前記第2底面から凹んだ凹面である、請求項1に記載の発光装置の製造方法。
【請求項3】
前記第1光学部材配置工程は、前記第1底面上に開口部を備え、前記第2底面を覆う第1マスクを配置する工程と、前記開口部内に露出された前記第1底面上に前記第1光学部材を配置する工程と、前記第1マスクを除去する工程と、を含む、請求項1又は請求項2に記載の発光装置の製造方法。
【請求項4】
前記第1光学部材配置工程において、前記第1光学部材の上面が前記第2底面よりも高い位置に位置するように、前記第1底面上に前記第1光学部材を配置し、
前記挿入工程において、前記第1光学部材と前記基体との間に位置する前記第2光学部材の少なくとも一部を、前記第2底面上に移動させる、請求項1又は請求項2に記載の発光装置の製造方法。
【請求項5】
前記発光装置中間体は、前記発光素子を被覆し前記基体上に配置される凸状の透光性部材を更に有し、
前記挿入工程は、前記透光性部材と前記第1光学部材との間に位置する前記第2光学部材の少なくとも一部を、前記第2底面上に移動させる工程を含む、請求項1又は請求項2に記載の発光装置の製造方法。
【請求項6】
前記発光装置中間体は、前記発光素子を被覆し前記基体上に配置される凸状の透光性部材を更に有し、
前記第1光学部材配置工程において、前記第1光学部材の上面が前記第2底面よりも高い位置に位置するように、前記第1底面上に前記第1光学部材を配置し、
前記挿入工程は、前記透光性部材と前記第1光学部材との間に位置する前記第2光学部材の少なくとも一部を、前記第2底面上に移動させる工程を含む、請求項1又は請求項2に記載の発光装置の製造方法。
【請求項7】
発光素子と、前記発光素子が配置される上面を備える基体と、を含む発光装置中間体を準備する発光装置中間体準備工程と、
底面と側面とで規定される凹部を有する成形型であって、前記底面は第1底面と、前記第1底面の周囲に配置される第2底面と、を含む成形型を準備する成形型準備工程と、
前記凹部内に、第1光学部材と、粒状体を含む第2光学部材と、を含む光学部材を配置する光学部材配置工程と、
前記光学部材内に前記基体の上面側を挿入する挿入工程と、
を有し、
前記光学部材配置工程は、前記第2底面上に前記第2光学部材を配置する第2光学部材配置工程と、前記第2光学部材上及び前記第1底面上に前記第1光学部材を配置する第1光学部材配置工程と、を有する発光装置の製造方法。
【請求項8】
前記第2底面は平坦な平面であり、前記第1底面は前記第2底面から凹んだ凹面である、請求項7に記載の発光装置の製造方法。
【請求項9】
前記第2光学部材配置工程は、前記第1底面を覆うと共に前記第2底面を露出させる第2マスクを配置する工程と、露出された前記第2底面上に前記第2光学部材を配置する工程と、前記第2マスクを除去する工程と、を含む、請求項7又は請求項8に記載の発光装置の製造方法。
【請求項10】
前記光学部材は、前記粒状体と、樹脂と、を含み、
前記粒状体の比重は、前記樹脂の比重よりも大きい、請求項1又は請求項7に記載の発光装置の製造方法。
(【請求項11】以降は省略されています)
発明の詳細な説明
【技術分野】
【0001】
本開示は、発光装置および発光装置の製造方法に関する。
続きを表示(約 2,300 文字)
【背景技術】
【0002】
発光素子を封止する封止部材の表面の光沢が抑えられた発光装置が知られている。
【先行技術文献】
【特許文献】
【0003】
特許第5953736号公報
特開2022-37897号公報
【発明の概要】
【発明が解決しようとする課題】
【0004】
本開示は、上面の光沢が低減された発光装置および発光装置の製造方法を提供することを目的とする。
【課題を解決するための手段】
【0005】
本開示の発光装置の製造方法は、
発光素子と、前記発光素子が配置される上面を備える基体と、を含む発光装置中間体を準備する発光装置中間体準備工程と、
底面と側面とで規定される凹部を有する成形型であって、前記底面は第1底面と、前記第1底面の周囲に配置される第2底面と、を含む成形型を準備する成形型準備工程と、
前記凹部内に、第1光学部材と、粒状体を含む第2光学部材と、を含む光学部材を配置する光学部材配置工程と、
前記光学部材内に前記基体の上面側を挿入する挿入工程と、
を有し、
前記光学部材配置工程は、前記第1底面上に前記第1光学部材を配置する第1光学部材配置工程と、前記第1光学部材上及び前記第2底面上に前記第2光学部材を配置する第2光学部材配置工程と、を有する。
【0006】
本開示の他の発光装置の製造方法は、
発光素子と、前記発光素子が配置される上面を備える基体と、を含む発光装置中間体を準備する発光装置中間体準備工程と、
底面と側面とで規定される凹部を有する成形型であって、前記底面は第1底面と、前記第1底面の周囲に配置される第2底面と、を含む成形型を準備する成形型準備工程と、
前記凹部内に、第1光学部材と、粒状体を含む第2光学部材と、を含む光学部材を配置する光学部材配置工程と、
前記光学部材内に前記基体の上面側を挿入する挿入工程と、
を有し、
前記光学部材配置工程は、前記第2底面上に前記第2光学部材を配置する第2光学部材配置工程と、前記第2光学部材上及び前記第1底面上に前記第1光学部材を配置する第1光学部材配置工程と、を有する。
【0007】
本開示の発光装置は、
発光素子と、
前記発光素子が配置される基体と、
前記基体の一部および前記発光素子を被覆し、粒状体を含む光学部材と、
を備え、
前記光学部材の上面は、上面視において発光素子と重なる第1面と、前記第1面の周囲に配置される第2面と、を有し、前記第2面は前記粒状体の形状に起因する粗面である。
【発明の効果】
【0008】
本開示によれば、上面の光沢が低減された発光装置および発光装置の製造方法を提供することができる。
【図面の簡単な説明】
【0009】
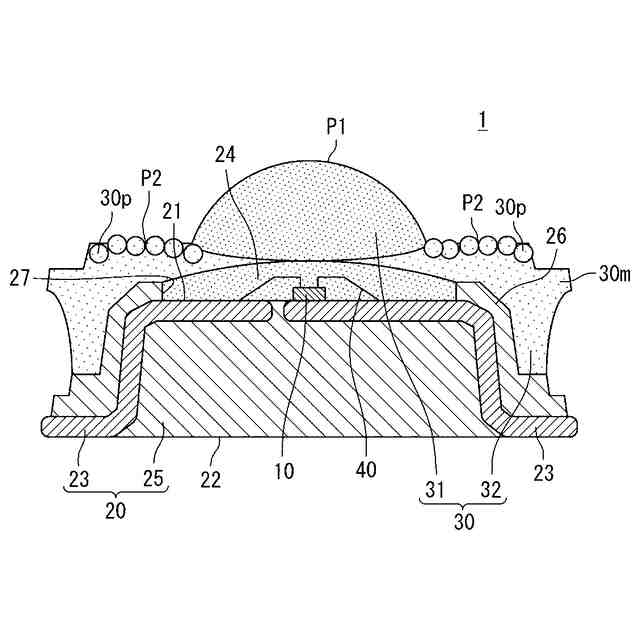
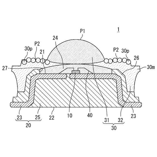
第1実施形態に係る発光装置の模式上面図である。
図1AのIB-IB線における模式断面図である。
第1実施形態に係る発光装置の製造方法のフローチャートである。
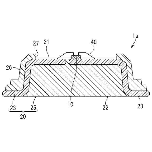
第1実施形態に係る発光装置の製造方法の模式工程断面図である。
第1実施形態に係る発光装置の製造方法の模式工程断面図である。
第1実施形態に係る発光装置の製造方法の模式工程上面図である。
第1実施形態に係る発光装置の製造方法の模式工程断面図である。
第1実施形態に係る発光装置の製造方法の模式工程断面図である。
第1実施形態に係る発光装置の製造方法の模式工程断面図である。
第1実施形態に係る発光装置の製造方法の模式工程断面図である。
第1実施形態に係る発光装置の製造方法の模式工程断面図である。
第1実施形態に係る発光装置の製造方法の模式工程断面図である。
第1実施形態に係る発光装置の製造方法の模式工程断面図である。
第1実施形態に係る発光装置の製造方法の変形例の模式工程断面図である。
第1実施形態に係る発光装置の製造方法の変形例の模式工程断面図である。
第2実施形態に係る発光装置の模式断面図である。
第2実施形態に係る発光装置の製造方法のフローチャートである。
第2実施形態に係る発光装置の製造方法の模式工程断面図である。
第2実施形態に係る発光装置の製造方法の模式工程断面図である。
第2実施形態に係る発光装置の製造方法の模式工程断面図である。
第2実施形態に係る発光装置の製造方法の模式工程断面図である。
第3実施形態に係る発光装置の模式断面図である。
他の実施形態に係る発光装置の模式断面図である。
他の実施形態に係る発光装置の模式断面図である。
他の実施形態に係る発光装置の模式断面図である。
他の実施形態に係る発光装置の模式断面図である。
実施形態に係る変形例の一部を拡大した模式斜視図である。
実施形態に係る変形例の一部を拡大した模式断面図である。
【発明を実施するための形態】
【0010】
以下、図面を参照しながら、本開示を実施するための実施形態を説明する。なお、以下に説明する発光装置は、本開示の技術思想を具体化するためのものであって、特定的な記載がない限り、本開示を以下のものに限定しない。
(【0011】以降は省略されています)
この特許をJ-PlatPat(特許庁公式サイト)で参照する
関連特許
他の特許を見る