TOP
|
特許
|
意匠
|
商標
特許ウォッチ
Twitter
他の特許を見る
公開番号
2025088275
公報種別
公開特許公報(A)
公開日
2025-06-11
出願番号
2023202875
出願日
2023-11-30
発明の名称
冷蔵庫用収容容器、冷蔵庫
出願人
東芝ライフスタイル株式会社
代理人
弁理士法人サトー
主分類
F25D
25/00 20060101AFI20250604BHJP(冷凍または冷却;加熱と冷凍との組み合わせシステム;ヒートポンプシステム;氷の製造または貯蔵;気体の液化または固体化)
要約
【課題】本実施形態は、蓋部材の開閉を容易に行うことができ、使い勝手の向上を図ることができる技術案を提供する。
【解決手段】冷蔵庫の貯蔵室内に配置される冷蔵庫用収容容器は、上面に開口部を有し、内部に貯蔵物を収容可能な容器本体部材と、開口部を閉じる蓋部材と、を備え、蓋部材は、当該蓋部材の軸受部を、容器本体部材の軸部に係止させることにより、容器本体部材の上部において、開口部を閉じる閉方向と開口部を開く開方向とに回動可能に設けられ、軸受部は、開口部側の部分に開放部を有しており、蓋部材が開方向における最大回動位置である上限開位置に回動した状態において、当該蓋部材に上限開位置よりもさらに開方向側に回動させる外力が加えられると、軸受部のうち開放部よりも上側の部分が弾性変形して軸受部が軸部に係止する状態が解除され、蓋部材が容器本体部材から外れる。
【選択図】図13
特許請求の範囲
【請求項1】
冷蔵庫の貯蔵室内に配置される収容容器であって、
上面に開口部を有し、内部に貯蔵物を収容可能な容器本体部材と、
前記開口部を閉じる蓋部材と、
を備え、
前記蓋部材は、当該蓋部材に設けられている軸受部を、前記容器本体部材に設けられている軸部に係止させることにより、前記容器本体部材の上部において、前記開口部を閉じる閉方向と前記開口部を開く開方向とに回動可能に設けられ、
前記軸受部は、前記開口部側の部分に開放部を有しており、
前記蓋部材が前記開方向における最大回動位置である上限開位置に回動した状態において、当該蓋部材に前記上限開位置よりもさらに開方向側に回動させる外力が加えられると、前記軸受部のうち前記開放部よりも上側の部分が弾性変形して前記軸受部が前記軸部に係止する状態が解除され、前記蓋部材が前記容器本体部材から外れる冷蔵庫用収容容器。
続きを表示(約 830 文字)
【請求項2】
前記軸部は、当該軸部が延伸する方向に交差する断面が非円形状であり、
前記蓋部材が前記上限開位置よりも閉方向側である所定の取外し位置に回動した状態において前記軸部が前記開放部に対向する部分の大きさは、前記蓋部材が前記上限開位置に回動した状態において前記軸部が前記開放部に対向する部分の大きさよりも小さい請求項1に記載の冷蔵庫用収容容器。
【請求項3】
前記軸部は、当該軸部が延伸する方向に交差する断面において、円弧状である円弧状部分と、非円弧状である非円弧状部分と、を有する請求項2に記載の冷蔵庫用収容容器。
【請求項4】
前記蓋部材が前記取外し位置に回動した状態において、前記軸部の少なくとも一部は、前記軸受部のうち前記開放部よりも上側の部分の下端よりも上に位置する請求項2に記載の冷蔵庫用収容容器。
【請求項5】
貯蔵室と、
前記貯蔵室内に配置される冷蔵庫用収容容器と、
を備える冷蔵庫であって、
前記冷蔵庫用収容容器は、
上面に開口部を有し、内部に貯蔵物を収容可能な容器本体部材と、
前記開口部を閉じる蓋部材と、
を備え、
前記蓋部材は、当該蓋部材に設けられている軸受部を、前記容器本体部材に設けられている軸部に係止させることにより、前記容器本体部材の上部において、前記開口部を閉じる閉方向と前記開口部を開く開方向とに回動可能に設けられ、
前記軸受部は、前記開口部側の一部に開放部を有しており、
前記蓋部材が前記開方向における最大回動位置である上限開位置に回動した状態において、当該蓋部材に前記上限開位置よりもさらに開方向側に回動させる外力が加えられると、前記軸受部のうち前記開放部よりも上側の部分が弾性変形して前記軸受部が前記軸部に係止する状態が解除され、前記蓋部材が前記容器本体部材から外れる冷蔵庫。
発明の詳細な説明
【技術分野】
【0001】
本発明の実施形態は、冷蔵庫の貯蔵室内に配置される冷蔵庫用収容容器、および、貯蔵室内に冷蔵庫用収容容器が配置される冷蔵庫に関する。
続きを表示(約 2,800 文字)
【背景技術】
【0002】
例えば特許文献1には、冷蔵庫用収容容器が冷蔵庫の貯蔵室内に配置されることが開示されている。冷蔵庫用収容容器内には、例えば生鮮食品類などといった貯蔵物を収容可能である。
【先行技術文献】
【特許文献】
【0003】
特開2023-93815号公報
【発明の概要】
【発明が解決しようとする課題】
【0004】
特許文献1に開示されている冷蔵庫用収容容器は、内部に貯蔵物を収容可能な容器本体部材と、この容器本体部材の上面に形成されている開口部を閉じる蓋部材と、を備えている。そして、開口部の開閉に際し、蓋部材は、容器本体部材から完全に分離される構成となっている。この構成においては、使用者は、蓋部材を開く際には、蓋部材を容器本体部材から分離する作業が必要であり、また、分離した蓋部材を載置するスペースを確保しなければならない。一方、蓋部材を閉じる際には、使用者は、分離した蓋部材を持ってくる作業が必要であり、また、蓋部材を容器本体部材に固定する作業が必要である。このように、従来の冷蔵庫用収容容器においては、特に使い勝手の面で改良が要求されている。
【0005】
本実施形態は、蓋部材の開閉を容易に行うことができ、使い勝手の向上を図ることができる技術案を提供する。
【課題を解決するための手段】
【0006】
本実施形態に係る冷蔵庫用収容容器は、冷蔵庫の貯蔵室内に配置される収容容器であって、上面に開口部を有し、内部に貯蔵物を収容可能な容器本体部材と、前記開口部を閉じる蓋部材と、を備え、前記蓋部材は、当該蓋部材に設けられている軸受部を、前記容器本体部材に設けられている軸部に係止させることにより、前記容器本体部材の上部において、前記開口部を閉じる閉方向と前記開口部を開く開方向とに回動可能に設けられ、前記軸受部は、前記開口部側の部分に開放部を有しており、前記蓋部材が前記開方向における最大回動位置である上限開位置に回動した状態において、当該蓋部材に前記上限開位置よりもさらに開方向側に回動させる外力が加えられると、前記軸受部のうち前記開放部よりも上側の部分が弾性変形して前記軸受部が前記軸部に係止する状態が解除され、前記蓋部材が前記容器本体部材から外れる。
【0007】
本実施形態に係る冷蔵庫は、貯蔵室を備え、本実施形態に係る冷蔵庫用収容容器が前記貯蔵室内に配置される。
【図面の簡単な説明】
【0008】
本開示の第1実施形態に係る冷蔵庫の構成例を概略的に示す正面図
本開示の第1実施形態に係る野菜室内の構成例を概略的に示す縦断側面図
本開示の第1実施形態に係る冷蔵庫用収容容器の構成例を概略的に示すものであって、蓋部材が閉じられている状態例を示す斜視図
本開示の第1実施形態に係る冷蔵庫用収容容器の構成例を概略的に示すものであって、蓋部材が開かれている状態例を示す斜視図
本開示の第1実施形態に係る冷蔵庫用収容容器の構成例を概略的に示す側面図
本開示の第1実施形態に係る蓋部材の構成例を概略的に示す斜視図
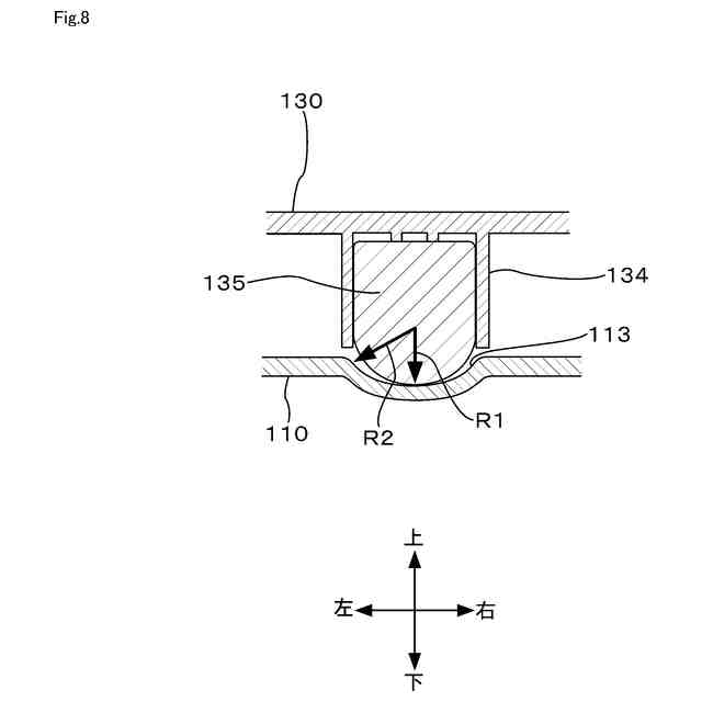
本開示の第1実施形態に係る弾性部材およびその周辺部分の構成例を概略的に示す斜視図
本開示の第1実施形態に係る弾性部材およびその周辺部分の構成例を概略的に示す縦断面図
本開示の第1実施形態に係る冷蔵庫用収容容器が野菜室内に配置されている状態例を概略的に示す縦断側面図
本開示の第1実施形態に係る冷蔵庫用収容容器の構成例を概略的に示すものであって、蓋部材が閉じられている状態例を示す平面図
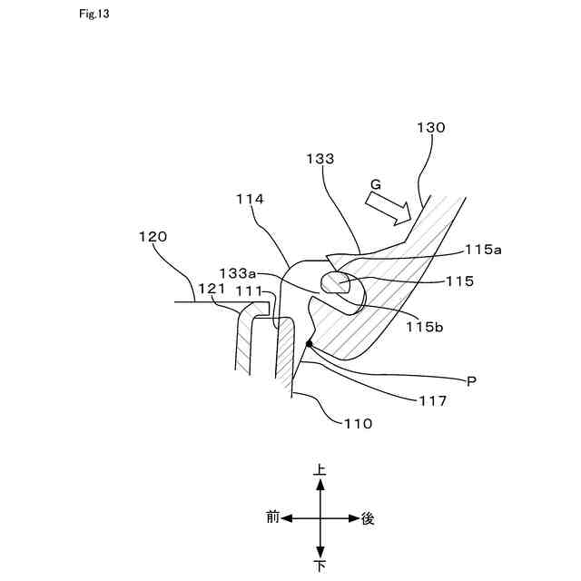
本開示の第1実施形態に係る軸部および軸受部の構成例を概略的に示すものであって、蓋部材が所定の取外し位置に回動した状態例を概略的に示す縦断側面図
本開示の第1実施形態に係る軸部および軸受部の構成例を概略的に示すものであって、蓋部材が所定の上限開位置に回動した状態例を概略的に示す縦断側面図
本開示の第1実施形態に係る軸部および軸受部の構成例を概略的に示すものであって、軸受部の一部が弾性変形した状態例を概略的に示す縦断側面図
本開示の第1実施形態に係るものであって、隙間において空気が流れる状態例を概略的に示す縦断面図
本開示の第1実施形態に係るものであって、隙間および凹部において空気が流れる状態例を概略的に示す縦断面図
本開示の第2実施形態に係る冷蔵庫用収容容器の構成例を概略的に示すものであって、蓋部材が閉じられている状態例を示す斜視図
本開示の第2実施形態に係る冷蔵庫用収容容器の構成例を概略的に示すものであって、冷蔵庫用収容容器を構成する複数の部材が分離された状態例を示す斜視図
本開示の第2実施形態に係る通気部およびその周辺部分の構成例を概略的に示す縦断側面図
本開示の第2実施形態に係る通気部およびその周辺部分の構成例を概略的に示す横断平面図
本開示の第3実施形態に係る冷蔵庫用収容容器の構成例を概略的に示すものであって、蓋部材が閉じられている状態例を示す斜視図
本開示の第3実施形態に係る冷蔵庫用収容容器の構成例を概略的に示すものであって、冷蔵庫用収容容器を構成する複数の部材が分離された状態例を示す斜視図
本開示の第3実施形態に係る通気部およびその周辺部分の構成例を概略的に示す縦断側面図
本開示の第3実施形態に係る通気部およびその周辺部分の構成例を概略的に示す横断平面図
本開示の変形実施形態に係る冷蔵庫用収容容器の構成例を概略的に示す側面図
本開示の変形実施形態に係る冷蔵庫用収容容器が野菜室内に配置されている状態例を概略的に示す縦断側面図
【発明を実施するための形態】
【0009】
以下、冷蔵庫に係る複数の実施形態について図面を参照しながら説明する。なお、複数の実施形態において実質的に同一の要素には同一の符号を付して、その説明を省略する。
【0010】
(第1実施形態)
図1に例示する冷蔵庫10は、その外郭を構成する矩形箱状の断熱箱体11の内部に複数の貯蔵室12,13,14,15,16を形成している。貯蔵室12,13,14,15,16の内部には、例えば食品類などといった各種の貯蔵物を貯蔵することが可能である。詳しい図示は省略するが、断熱箱体11は、内箱と外箱との間に断熱材を備えた構成である。断熱箱体11を構成する断熱材としては、例えば、真空断熱パネル、発泡ウレタン、断熱性材料を成形した断熱成形体などといった種々の断熱材を適用することができる。
(【0011】以降は省略されています)
この特許をJ-PlatPat(特許庁公式サイト)で参照する
関連特許
他の特許を見る