TOP
|
特許
|
意匠
|
商標
特許ウォッチ
Twitter
他の特許を見る
10個以上の画像は省略されています。
公開番号
2025087430
公報種別
公開特許公報(A)
公開日
2025-06-10
出願番号
2023202087
出願日
2023-11-29
発明の名称
基板搬送装置、基板処理装置、および検査方法
出願人
株式会社SCREENホールディングス
代理人
個人
,
個人
,
個人
,
個人
,
個人
主分類
H01L
21/677 20060101AFI20250603BHJP(基本的電気素子)
要約
【課題】メンテナンスの必要な時期を自動で知覚し、メンテナンスが容易な基板搬送装置を提供する。
【解決手段】基部材の上面に設けられ、基板Wの周縁が当接するガイド部材32aと、ガイド部材32aに当接した基板Wを検知するセンサ22aと、基部材31の上面に設けられ、基板Wの周縁が当接するガイド部材得34aと、ガイド部材34aに当接した基板Wを検知するセンサ26aと、を備えた取得用ハンド11aと、センサ22aが基板Wを検知するタイミングと、センサ26aが基板Wを検知するタイミングとの差異に基づいて基板Wに対する取得用ハンド11aの傾斜状態を判定する比較部41を備える。
【選択図】図9
特許請求の範囲
【請求項1】
水平姿勢の基板を搬送可能なハンドを有する基板搬送装置であって、
前記ハンドは、
基部材と、
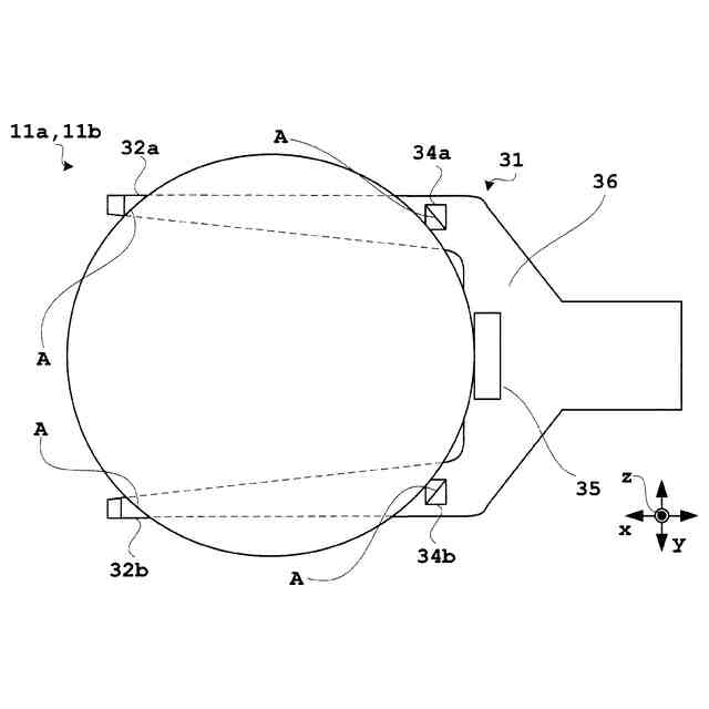
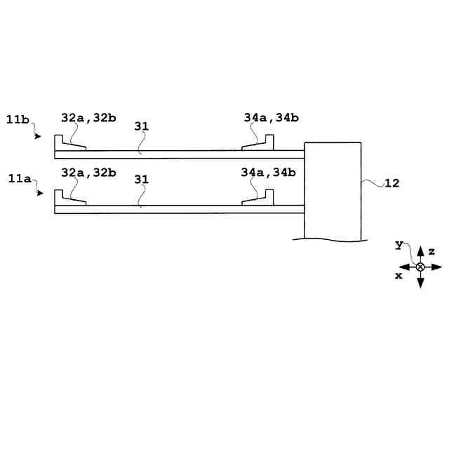
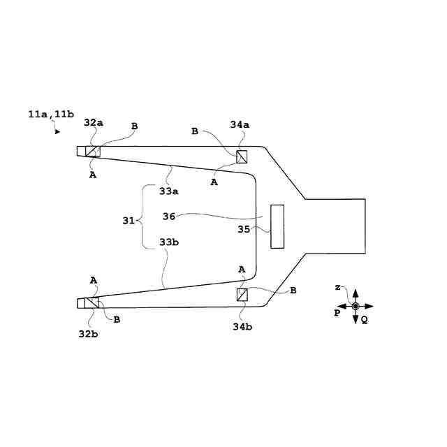
前記基部材の上面に設けられ、基板の周縁が当接する複数個のガイドと、
前記各ガイドに当接した基板を個別に検知する複数個のセンサと、を備え、
前記各センサが基板を個別に検知する各タイミングの時間差に基づいて前記基板に対する前記ハンドの傾斜状態を判定する判定部を備える
ことを特徴とする基板搬送装置。
続きを表示(約 1,700 文字)
【請求項2】
請求項1に記載の基板搬送装置において、
前記基部材の先端部に設けられる第1の前記ガイドと、
前記基部材の基端部に設けられる第2の前記ガイドと、
前記第1の前記ガイドに当接した基板を検知する第1の前記センサと、
前記第2の前記ガイドに当接した基板を検知する第2の前記センサ、を備え、
前記基部材の基端部と前記基部材の先端部とを結ぶ方向を前後方向とした場合に、
前記判定部は、前記第1のセンサが基板を検知するタイミングと、前記第2のセンサが基板を検知するタイミングとの時間差に基づいて、前記ハンドの前後方向の傾斜状態を判定する
ことを特徴とする基板搬送装置。
【請求項3】
請求項1に記載の基板搬送装置において、
前記基部材の基端部と前記基部材の先端部とを結ぶ方向を前後方向、前記前後方向に対して水平面内で直交する方向を左右方向とした場合に、
前記基部材の先端部における前記左右方向の一端側に設けられる第1の前記ガイドと、
前記基部材の先端部における前記左右方向の他端側に設けられる第2の前記ガイドと、
前記第1のガイドに当接した基板を検知する第1の前記センサと、
前記第2のガイドに当接した基板を検知する第2の前記センサ、を備え、
前記判定部は、前記第1のセンサが基板を検知するタイミングと、前記第2のセンサが基板を検知するタイミングとの時間差に基づいて、前記ハンドの左右方向の傾斜状態を判定する
ことを特徴とする基板搬送装置。
【請求項4】
請求項3に記載の基板搬送装置において、
前記ハンドは、
前記基部材の基端部に設けられ、基板の周縁が当接する少なくとも1つの第3の前記ガイドと、
前記第3のガイドに当接した基板を検知する第3のセンサと、を備え、
前記判定部は、
前記第1のセンサが基板を検知するタイミングと、前記第3のセンサが基板を検知するタイミングとの時間差に基づいて前記ハンドの前後方向の傾斜状態を判定し、
前記第1のセンサが基板を検知するタイミングと、前記第2のセンサが基板を検知するタイミングとの時間差に基づいて前記ハンドの左右方向の傾斜状態を判定する
ことを特徴とする基板搬送装置。
【請求項5】
請求項1に記載の基板搬送装置において、
前記時間差を示す指標値が所定値よりも大きいことを通知する通知部を備える
ことを特徴とする基板搬送装置。
【請求項6】
請求項1に記載の基板搬送装置において、
前記ハンドを昇降させる昇降機構と、
前記昇降機構を制御する昇降制御部を備え、
前記昇降制御部は、
静止状態にある基板の下部に位置する前記ハンドを上昇させて前記複数個のガイドに基板を当接させる
ことを特徴とする基板搬送装置。
【請求項7】
請求項1に記載の基板搬送装置において、
前記判定部は、前記各センサが基板を個別に検知する各タイミングの間で、経時的に最も離間した2つのタイミングの時間差に基づいて前記基板に対する前記ハンドの傾斜状態を判定する
ことを特徴とする基板搬送装置。
【請求項8】
請求項1に記載の基板搬送装置において、
前記各センサは、触覚センサであり、前記基部材と前記各ガイドの間にそれぞれ設けられる
ことを特徴とする基板搬送装置。
【請求項9】
請求項1に記載の基板搬送装置において、
前記各ガイドは、基板の下部を接触させる支持部と、基板の外周面を接触させる壁部とを備える
ことを特徴とする基板搬送装置。
【請求項10】
請求項1に記載の基板搬送装置において、
前記基部材は、前記各センサが埋設される複数個の凹部を備える
ことを特徴等する基板搬送装置。
(【請求項11】以降は省略されています)
発明の詳細な説明
【技術分野】
【0001】
本発明は、半導体基板、液晶表示用や有機EL(Electroluminescence)表示装置などのFPD(Flat Panel Display)用基板、フォトマスク用ガラス基板、光ディスク用基板等の各種基板を搬送する基板搬送装置およびそれを備えた基板処理装置に関する。
続きを表示(約 2,000 文字)
【背景技術】
【0002】
従来、基板処理を行う上で必要となる基板搬送を実現する基板搬送装置として、複数の触覚センサを有するハンド本体部を有するものがある。基板が複数の触覚センサの上に乗れば、触覚センサはZ軸方向の力を検出する。この様にして、基板が正常にハンド本体部に載置されたことを認識することができる。また、触覚センサによりハンド本体部のZ軸方向の角度ズレを検出することもできる。
【先行技術文献】
【特許文献】
【0003】
特開2022-91240号公報
【発明の概要】
【発明が解決しようとする課題】
【0004】
しかしながら、従来の触覚センサを備えた基板搬送装置は、触覚センサを完全に生かす構成となっていない。例えば、特許文献1の構成によれば、触覚センサを用いて基板搬送の異常を検出するに留まっている。
【0005】
現在においては、メンテナンスが容易な基板搬送装置が要請されている。メンテナンスを容易とするには、メンテナンスの必要な時期を自動で知覚すればよい。触覚センサは、基板とハンド本体部の位置関係のズレを検出できるものと考えられるが、それを実現する具体的な構成については未検討である。
【0006】
本発明は、この様な事情に鑑みてなされたものであって、メンテナンスの必要な時期を自動で知覚し、メンテナンスが容易な基板搬送装置および基板処理装置を提供することを目的とする。また、本発明は、基板搬送装置のメンテナンスの必要時期を検査する検査方法を提供することを目的とする。
【課題を解決するための手段】
【0007】
本発明は、上記課題を解決するために次の様な構成をとる。
すなわち、本発明は、水平姿勢の基板を搬送可能なハンドを有する基板搬送装置であって、
前記ハンドは、
基部材と、
前記基部材の上面に設けられ、基板の周縁が当接する複数個のガイドと、
前記各ガイドに当接した基板を個別に検知する複数個のセンサと、を備え、
前記各センサが基板を個別に検知する各タイミングの時間差に基づいて前記基板に対する前記ハンドの傾斜状態を判定する判定部を備える
ことを特徴とする基板搬送装置である。
【0008】
[作用・効果]上述の構成によれば、基部材の上面に設けられ、基板の周縁が当接する複数個のガイドと、各ガイドに当接した基板を個別に検知する複数個のセンサと、を備えたハンドと、各センサが基板を個別に検知する各タイミングの時間差に基づいて基板に対するハンドの傾斜状態を判定する判定部を備える。この様に構成すれば、ハンドの経時的な変化を継続的に検出することができる基板搬送装置が提供できる。一方のセンサが基板を検知するタイミングと、他方のセンサが基板を検知するタイミングとは、所定の関係がある。ハンドが保持する基板の各々について当該タイミングを測定していくうちに所定の関係が崩れれば、ハンドの基板に対する位置ズレが発生していることが判定できる。従って本発明によれば、メンテナンスの必要な時期を自動で知覚し、メンテナンスが容易な基板搬送装置が提供できる。
【0009】
また、上述の基板搬送装置において、
前記基部材の先端部に設けられる第1の前記ガイドと、
前記基部材の基端部に設けられる第2の前記ガイドと、
前記第1の前記ガイドに当接した基板を検知する第1の前記センサと、
前記第2の前記ガイドに当接した基板を検知する第2の前記センサ、を備え、
前記基部材の基端部と前記基部材の先端部とを結ぶ方向を前後方向とした場合に、
前記判定部は、前記第1のセンサが基板を検知するタイミングと、前記第2のセンサが基板を検知するタイミングとの時間差に基づいて、前記ハンドの前後方向の傾斜状態を判定すれば好ましい。
【0010】
[作用・効果]上述の構成によれば、第1のガイドは基部材の先端部に設けられ、第2のガイドは基部材の基端部に設けられる。そして、第1のガイドには、基板を検知する第1のセンサが備えられ、第2のガイドには基板を検知する第2センサが備えられる。そして、判定部は、第1のセンサが基板を検知するタイミングと、第2のセンサが基板を検知するタイミングとの時間差に基づいて、ハンドの前後方向の傾斜状態を判定する。基板搬送装置を運転していくと、先端部が基端部に対して傾斜状態が変化するハンドの経時変化が発生することがある。上述の構成によれば、第1ガイドは、基部材の先端部に設けられ、第2ガイドは基部材の基端部に設けられているので、このような経時変化を容易に検知することができる。
(【0011】以降は省略されています)
この特許をJ-PlatPat(特許庁公式サイト)で参照する
関連特許
他の特許を見る