TOP
|
特許
|
意匠
|
商標
特許ウォッチ
Twitter
他の特許を見る
公開番号
2025087092
公報種別
公開特許公報(A)
公開日
2025-06-10
出願番号
2023201504
出願日
2023-11-29
発明の名称
端部折りテープ貼り装置
出願人
株式会社フジキカイ
代理人
弁理士法人岡田国際特許事務所
主分類
B65B
61/24 20060101AFI20250603BHJP(運搬;包装;貯蔵;薄板状または線条材料の取扱い)
要約
【課題】装置を大型化することなく、簡易な構成で袋体のシール部を含む端部を折り込んで袋体の裏面にテープを貼り付けることができる、端部折りテープ貼り装置を提供する。
【解決手段】端部折りテープ貼り装置は、内容物Aを充填し横シールを施して袋詰めされた物品Wを、物品Wの横シール部7が上下方向に位置するように傾斜した姿勢で載置して搬送可能な搬送面35を有する傾斜コンベヤ31と、搬送面35に載置された物品Wにおける上側の横シール部7を含む上端部5を、物品Wの裏面3側に向けて折り込む折込み手段32と、折込み手段32によって上端部5が折り込まれた状態が維持された物品Wを、搬送面35に沿って横方向Xに移送する移送手段33と、移送手段33による物品Wの横方向Xへの移送に伴い、上端部5が折り込まれた状態が維持された物品Wの裏面3と上端部5に、横方向XにテープTを貼り付けるテープ貼り手段50を備える。
【選択図】図2
特許請求の範囲
【請求項1】
内容物を充填し横シールを施して袋詰めされた物品を、前記物品の横シール部が搬送方向と交差する上下方向に位置するように傾斜した姿勢で載置して搬送可能な搬送面を有する傾斜コンベヤと、
前記搬送面に載置された前記物品における上側の前記横シール部を含む上端部を、前記物品の裏面側に向けて折り込む折込み手段と、
前記折込み手段によって前記上端部が折り込まれた状態が維持された前記物品を、前記搬送面に沿って横方向に移送する移送手段と、
前記移送手段による前記物品の横方向への移送に伴い、前記上端部が折り込まれた状態が維持された前記物品の裏面と前記上端部に、横方向にテープを貼り付けるテープ貼り手段と、を備える端部折りテープ貼り装置。
続きを表示(約 940 文字)
【請求項2】
前記物品を上流から前記傾斜コンベヤに向けて搬送する物品搬送コンベヤと、
前記物品搬送コンベヤによって搬送されてくる前記物品を、前記傾斜コンベヤに移載する移載手段と、を備え、
前記傾斜コンベヤは、
前記搬送面に沿って横方向に移送される前記物品の下端側を支持する第1支持部と、
前記搬送面と同一平面を成す基準面上において前記第1支持部より下方の位置から前記基準面に沿って上昇可能に配設され、前記搬送面に載置された前記物品の下端側を支持する第2支持部を有し、前記第2支持部を前記第1支持部と同じ高さ位置まで上昇させることで、前記物品を前記搬送面に沿って上方にスライド移動させることが可能な昇降手段と、を備えることを特徴とする、請求項1に記載の端部折りテープ貼り装置。
【請求項3】
前記傾斜コンベヤは、
前記移載手段によって前記搬送面に載置された前記物品が前記昇降手段によって上方にスライド移動したときに、前記物品の前記上端部が前記基準面上における上方側にはみ出すように、前記基準面に沿って前記搬送面の上方側に延在する搬送端面を有しており、
前記折込み手段は、
前記搬送端面から上方側にはみ出した前記上端部に、前記物品の表面側から当接し、前記物品の厚さ方向に移動することで前記上端部を折り曲げる第1折込み部と、
前記第1折込み部によって折り曲げられた前記上端部に外側から当接する当接面を有し、前記当接面が前記搬送端面の背面に沿って移動することで前記横シール部と前記物品の裏面が対面するように前記上端部を折り込むと共に、前記傾斜コンベヤの前記搬送端面と前記当接面との間で前記上端部を保持する第2折込み部と、を備えることを特徴とする、請求項2に記載の端部折りテープ貼り装置。
【請求項4】
前記テープ貼り手段は、
前記傾斜コンベヤにおける前記搬送端面に隣接するように配設されており、
前記物品の前記上端部における前記横シール部と前記物品の裏面に跨るように、前記テープを前記横シール部に沿って貼り付けることを特徴とする、請求項3に記載の端部折りテープ貼り装置。
発明の詳細な説明
【技術分野】
【0001】
本発明は、袋体の端部を折り込んでテープを貼り付ける、端部折りテープ貼り装置に関する。
続きを表示(約 3,100 文字)
【背景技術】
【0002】
従来、包装の種類として、包装用の袋に被包装物を充填して横シールすることで、袋体の端部に耳部が形成された形態が知られている。このような袋体は、例えば洋菓子や和菓子などの被包装物によっては、袋体の外観の雅趣性や審美性を高める目的で、袋体の耳部のうち一方又は両方を底面に沿って折り曲げるとともに、袋体に所定幅の帯材を巻き付ける包装形態が採用される場合がある。例えば特許文献1には、袋体の耳部を折り曲げ、その耳部に帯材を貼り付ける包装形態が開示されている。
【先行技術文献】
【特許文献】
【0003】
特開昭58-109347号公報
【発明の概要】
【発明が解決しようとする課題】
【0004】
ところで、袋体に帯材を巻き付けた包装形態は、製袋充填包装機で自動包装された袋体の一方又は両方の耳部を袋体の裏面側に折り曲げて、折り曲げられた耳部を袋体の裏面に対して糊又はテープで貼り付けることによって製造されている。しかしながら、袋体の耳部の折曲げ及びテープ等による貼付けは、手作業によって行われているのが現状であり、生産効率等の観点から自動化が望まれていた。
【0005】
本発明は、装置を大型化することなく、簡易な構成で袋体のシール部を含む端部を折り込んで袋体の裏面にテープを貼り付けることができる、端部折りテープ貼り装置を提供することを目的とする。
【課題を解決するための手段】
【0006】
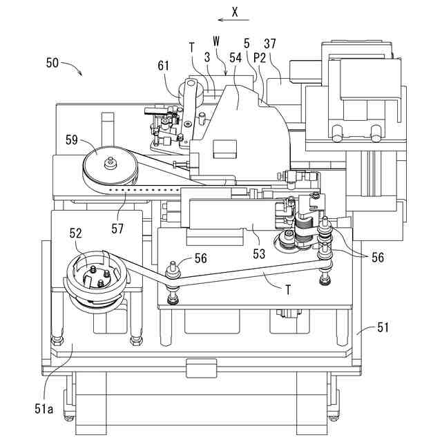
上記課題を解決するために、本発明の端部折りテープ貼り装置は次の手段をとる。先ず請求項1に係る発明は、内容物(A)を充填し横シールを施して袋詰めされた物品(W)を、前記物品(W)の横シール部(7)が搬送方向と交差する上下方向に位置するように傾斜した姿勢で載置して搬送可能な搬送面(35)を有する傾斜コンベヤ(31)と、前記搬送面(35)に載置された前記物品(W)における上側の前記横シール部(7)を含む上端部(5)を、前記物品(W)の裏面(3)側に向けて折り込む折込み手段(32)と、前記折込み手段(32)によって前記上端部(5)が折り込まれた状態が維持された前記物品(W)を、前記搬送面(35)に沿って横方向(X)に移送する移送手段(33)と、前記移送手段(33)による前記物品(W)の横方向(X)への移送に伴い、前記上端部(5)が折り込まれた状態が維持された前記物品(W)の裏面(3)と前記上端部(5)に、横方向(X)にテープ(T)を貼り付けるテープ貼り手段(50)とを備える。
【0007】
この請求項1に係る発明によれば、内容物(A)を充填し横シールを施して袋詰めされた物品(W)を、横シール部(7)が上下に位置するように傾斜した姿勢で傾斜コンベヤ(31)の搬送面(35)に載置し得る。これにより、内容物(A)が自重で搬送面(35)に沿って袋の下方にずれるため、袋の上方に内容物(A)が位置しないスペースが生じて、物品(W)の上端部(5)を折り込むときの干渉を防ぎ得る。搬送面(35)上において傾斜した姿勢が維持されている物品(W)は、折込み手段(32)によって、上端部(5)が物品(W)の裏面(3)側に向かって、横シール部(7)が物品(W)の裏面(3)と対面するように折り込まれる。物品(W)は、上端部(5)が折り込まれた状態が維持されて、移送手段(33)によって搬送面(35)に沿って横方向(X)に移送される。すなわち、物品(W)は横シールの方向が移送方向に沿うように移送される。物品(W)が横方向(X)に移動することに伴って、テープ貼り手段(50)によって、折り込まれた上端部(5)と物品(W)の裏面(3)に対し、横方向(X)にテープ(T)が貼り付けられる。したがって、物品(W)の横シール部(7)を含む上端部(5)の折込みとテープ貼りを自動で行うことができる。よって、簡易な構成で袋体のシール部(7)を含む端部(5)を折り込んで袋体の裏面(3)にテープ(T)を貼り付けることができる、端部折りテープ貼り装置を提供し得る。
【0008】
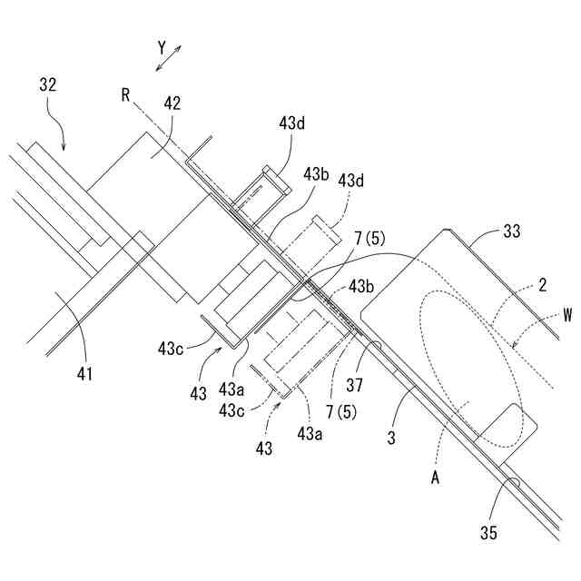
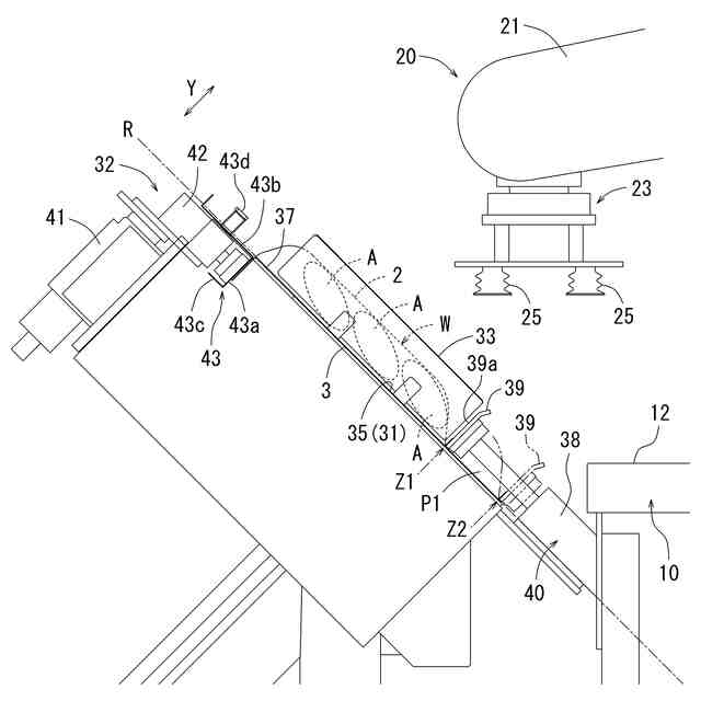
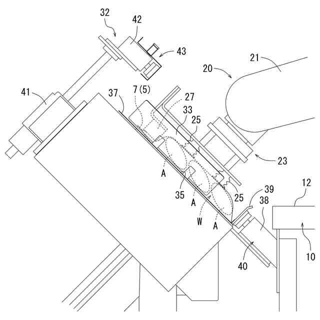
次に、請求項1に従属する請求項2に係る発明は、前記物品(W)を上流から前記傾斜コンベヤ(31)に向けて搬送する物品搬送コンベヤ(10)と、前記物品搬送コンベヤ(10)によって搬送されてくる前記物品(W)を、前記傾斜コンベヤ(31)に移載する移載手段(20)とを備え、前記傾斜コンベヤ(31)は、前記搬送面(35)に沿って横方向(X)に移送される前記物品(W)の下端部(6)を支持する第1支持部(36)と、前記搬送面(35)と同一平面を成す基準面(R)上において前記第1支持部(36)より下方の位置(Z2)から前記基準面(R)に沿って上昇可能に配設され、前記搬送面(35)に載置された前記物品(W)の下端部(6)を支持する第2支持部(39)を有し、前記第2支持部(39)を前記第1支持部(36)と同じ高さ位置(Z1)まで上昇させることで、前記物品(W)を前記搬送面(35)に沿って上方にスライド移動させることが可能な昇降手段(40)を備えることを特徴とする。
【0009】
この請求項2に係る発明によれば、物品搬送コンベヤ(10)によって搬送されてきた物品(W)を、移載手段(20)によって傾斜コンベヤ(31)の搬送面(35)に載置する。これにより、上流から搬送されてきた物品(W)を傾斜した姿勢にすることができる。さらに、傾斜コンベヤ(31)が第2支持部(39)を有する昇降手段(40)を備えていることにより、第2支持部(39)によって下端部(6)を支持された物品(W)が、傾斜した姿勢で搬送面(35)に沿って上方にスライド移動し得る。昇降手段(40)によって、物品(W)を傾斜した姿勢で一定以上の速度で上昇させることにより、袋に充填された内容物(A)に慣性力が働き、内容物(A)をより確実に搬送面(35)に沿った袋の下方に位置させることができる。また、第2支持部(39)が第1支持部(36)と同じ高さ位置(Z1)まで移動することで、移送手段(33)による物品(W)の横方向(X)の移送をスムーズに行うことができる。
【0010】
次に、請求項2に従属する請求項3に係る発明は、前記傾斜コンベヤ(31)は、前記移載手段(20)によって前記搬送面(35)に載置された前記物品(W)が前記昇降手段(40)によって上方にスライド移動したときに、前記物品(W)の前記上端部(5)が前記基準面(R)上における上方側にはみ出すように、前記基準面(R)に沿って前記搬送面(35)の上方側に延在する搬送端面(37)を有しており、前記折込み手段(32)は、前記搬送端面(37)から上方側にはみ出した前記上端部(5)に、前記物品(W)の表面(2)側から当接し、前記物品(W)の厚さ方向に移動することで前記上端部(5)を折り曲げる第1折込み部(41,43)と、前記第1折込み部(41,43)によって折り曲げられた前記上端部(5)に外側から当接する当接面(43a,43b)を有し、前記当接面(43a,43b)が前記搬送端面(37)の背面に沿って移動することで前記横シール部(7)と前記物品(W)の裏面(3)が対面するように前記上端部(5)を折り込むと共に、前記傾斜コンベヤ(31)の前記搬送端面(37)と前記当接面(43b)との間で前記上端部(5)を保持する第2折込み部(42,43)とを備えることを特徴とする。
(【0011】以降は省略されています)
この特許をJ-PlatPat(特許庁公式サイト)で参照する
関連特許
他の特許を見る