TOP
|
特許
|
意匠
|
商標
特許ウォッチ
Twitter
他の特許を見る
公開番号
2025086366
公報種別
公開特許公報(A)
公開日
2025-06-09
出願番号
2023200278
出願日
2023-11-28
発明の名称
電動圧縮機
出願人
三菱重工サーマルシステムズ株式会社
代理人
個人
,
個人
,
個人
主分類
H02K
1/16 20060101AFI20250602BHJP(電力の発電,変換,配電)
要約
【課題】ステータに生じる振動がハウジングの内周面に伝達されることを低減し、かつ冷媒流路の面積を十分に確保する。
【解決手段】スクロール圧縮機構を駆動するモータ50は、ステータ51と、ロータ52と、を備え、ステータ51は、外周部51bと、複数のティース部51aと、を有し、外周部51bは、第1位置に形成される第1切欠部51c1と、第2位置に形成されるとともに第1切欠部51c1よりも周方向CDの長さが長い第2切欠部51c2と、を有し、第1切欠部51c1が形成される第1位置は、外周部51bがフロントハウジング30の内周面30aと接触する領域に挟まれた位置であり、第2切欠部51c2が形成される第2位置は、外周部51bとフロントハウジング30の内周面30aとが接触しない領域に挟まれ、かつ内周面30aに冷媒が流通する冷媒流路10bが形成される位置であるスクロール圧縮機を提供する。
【選択図】図2
特許請求の範囲
【請求項1】
軸線に沿って延びる筒状に形成されるハウジングと、
前記ハウジングの内部に配置されるとともに前記軸線回りに回転して冷媒を圧縮する圧縮部と、
前記圧縮部を前記軸線回りに回転駆動するモータと、を備え、
前記モータは、
前記ハウジングの内部に前記軸線に沿って延びるように配置されるステータと、
前記ステータの内周側に配置されるロータと、を備え、
前記ステータは、外周部と、
前記外周部から前記軸線に向けて突出するように前記軸線回りの周方向の複数位置に配置されるとともにコイル巻線が巻き回される複数のティース部と、を有し、
前記外周部は、複数の前記ティース部が配置される前記周方向の前記複数位置に含まれる第1位置に形成される第1切欠部と、複数の前記ティース部が配置される前記周方向の前記複数位置に含まれる第2位置に形成されるとともに前記第1切欠部よりも前記周方向の長さが長い第2切欠部と、を有し、
前記第1切欠部が形成される前記第1位置は、前記外周部が前記ハウジングの内周面と接触する領域に挟まれた位置であり、
前記第2切欠部が形成される前記第2位置は、前記外周部と前記ハウジングの前記内周面とが接触しない領域に挟まれ、かつ前記内周面に前記冷媒が流通する冷媒流路が形成される位置である電動圧縮機。
続きを表示(約 210 文字)
【請求項2】
前記第1切欠部の前記周方向の第1長さは、前記ティース部の内周側端部の前記周方向の長さよりも短く、
前記第2切欠部の前記周方向の第2長さは、前記ティース部の内周側端部の前記周方向の長さよりも長い請求項1に記載の電動圧縮機。
【請求項3】
複数の前記第1切欠部および複数の前記第2切欠部は、前記周方向に沿って均等の間隔で配置される請求項1または請求項2に記載の電動圧縮機。
発明の詳細な説明
【技術分野】
【0001】
本開示は、電動圧縮機に関するものである。
続きを表示(約 1,700 文字)
【背景技術】
【0002】
従来、モータにより圧縮機を駆動して冷媒を圧縮する電動圧縮機が知られている(例えば、特許文献1参照)。特許文献1では、ステータの外周面の周方向の複数の位置に位置決め部を設け、位置決め部に挿入される締結ボルトをハウジングに締結することにより、ステータをハウジングに固定している。
【先行技術文献】
【特許文献】
【0003】
特開2022-60787号公報
【発明の概要】
【発明が解決しようとする課題】
【0004】
モータを収容するハウジングに締結ボルトを用いずにステータを固定する方法として、例えば、ハウジングを加熱して膨張させた状態でステータを挿入し、ステータの外周部とハウジングの内周面とが接触した状態とする焼き嵌めを行う方法が知られている。
【0005】
しかしながら、焼き嵌めによりステータの外周部をハウジングの内周面と接触させると、モータを駆動する際にステータに生じる振動がステータの外周部を介してハウジングの内周面に伝達され、ハウジングの表面に大きな振動が生じてしまう。また、ステータの外周部とハウジングの内周面とが接触する領域が広くなると、ハウジングに流入した冷媒を圧縮機に流通させるための冷媒流路の面積を十分に確保することができない。
【0006】
本開示は、このような事情に鑑みてなされたものであって、モータを駆動する際にステータに生じる振動がステータの外周部を介してハウジングの内周面に伝達されることを低減し、かつ冷媒流路の面積を十分に確保することが可能な電動圧縮機を提供することを目的とする。
【課題を解決するための手段】
【0007】
本開示の一態様に係るスクロール圧縮機は、軸線に沿って延びる筒状に形成されるハウジングと、前記ハウジングの内部に配置されるとともに前記軸線回りに回転して冷媒を圧縮する圧縮部と、前記圧縮部を前記軸線回りに回転駆動するモータと、を備え、前記モータは、前記ハウジングの内部に前記軸線に沿って延びるように配置されるステータと、前記ステータの内周側に配置されるロータと、を備え、前記ステータは、外周部と、前記外周部から前記軸線に向けて突出するように前記軸線回りの周方向の複数位置に配置されるとともにコイル巻線が巻き回される複数のティース部と、を有し、前記外周部は、複数の前記ティース部が配置される前記周方向の前記複数位置に含まれる第1位置に形成される第1切欠部と、複数の前記ティース部が配置される前記周方向の前記複数位置に含まれる第2位置に形成されるとともに前記第1切欠部よりも前記周方向の長さが長い第2切欠部と、を有し、前記第1切欠部が形成される前記第1位置は、前記外周部が前記ハウジングの内周面と接触する領域に挟まれた位置であり、前記第2切欠部が形成される前記第2位置は、前記外周部と前記ハウジングの前記内周面とが接触しない領域に挟まれ、かつ前記内周面に前記冷媒が流通する冷媒流路が形成される位置である。
【発明の効果】
【0008】
本開示によれば、モータを駆動する際にステータに生じる振動がステータの外周部を介してハウジングの内周面に伝達されることを低減し、かつ冷媒流路の面積を十分に確保することが可能な電動圧縮機を提供することができる。
【図面の簡単な説明】
【0009】
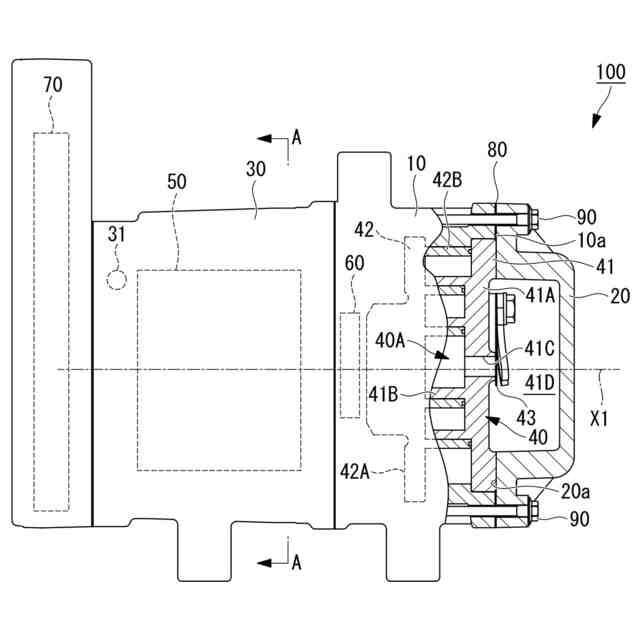
本開示の一実施形態に係るスクロール圧縮機の概略構成を示す縦断面図である。
図1に示すスクロール圧縮機のA-A矢視断面図である。
図2に示すステータの断面図である。
【発明を実施するための形態】
【0010】
本開示の一実施形態にかかるスクロール圧縮機(電動圧縮機)100について、図面を参照して説明する。本実施形態のスクロール圧縮機100は、例えば、車両用空気調和機に用いられるものである。
(【0011】以降は省略されています)
この特許をJ-PlatPat(特許庁公式サイト)で参照する
関連特許
他の特許を見る