TOP
|
特許
|
意匠
|
商標
特許ウォッチ
Twitter
他の特許を見る
公開番号
2025085582
公報種別
公開特許公報(A)
公開日
2025-06-05
出願番号
2024074183
出願日
2024-05-01
発明の名称
ボルトナットキャップならびにそれを用いたボルトナットおよび鋼構造物の保護または補修方法
出願人
川田工業株式会社
,
MKエンジニアリング株式会社
代理人
弁理士法人銀座マロニエ特許事務所
主分類
F16B
37/14 20060101AFI20250529BHJP(機械要素または単位;機械または装置の効果的機能を生じ維持するための一般的手段)
要約
【課題】製造が容易で施工性と耐候性に優れたボルトナットキャップを提供する。
【解決手段】ポリイミド樹脂、ポリアクリル酸エステル系樹脂、ポリ塩化ビニル系樹脂、ポリカーボネート系樹脂、ポリエチレンテレフタレート系樹脂、ポリアミド系樹脂、アクリロニトリル-ブタジエン-スチレン共重合体よりなる群から選択される少なくとも一種からなる熱可塑性樹脂を含有する組成物を射出成形して形成されたボルトナットキャップであって、紫外線波長域315~380nmの範囲の透過率が10%以下であり、ISO4892-2に準拠して、キセノンアークランプを用いた2000時間の暴露試験を行う促進耐候性試験後の黄変指数が2.0以下である。このボルトナットキャップを用いたボルトおよびナットの一方または両方の保護または補修方法および鋼構造物の保護または補修方法を提供する。
【選択図】図2
特許請求の範囲
【請求項1】
ポリイミド樹脂、ポリアクリル酸エステル系樹脂、ポリ塩化ビニル系樹脂、ポリカーボネート系樹脂、ポリエチレンテレフタレート系樹脂、ポリアミド系樹脂、アクリロニトリル-ブタジエン-スチレン共重合体よりなる群から選択される少なくとも一種からなる熱可塑性樹脂を含有する組成物を射出成形して形成されたボルトナットキャップであって、
紫外線波長域315~380nmの範囲の透過率が10%以下であり、
ISO4892-2に準拠して、キセノンアークランプを用いた2000時間の暴露試験を行う促進耐候性試験後の黄変指数が2.0以下である、ボルトナットキャップ。
続きを表示(約 1,000 文字)
【請求項2】
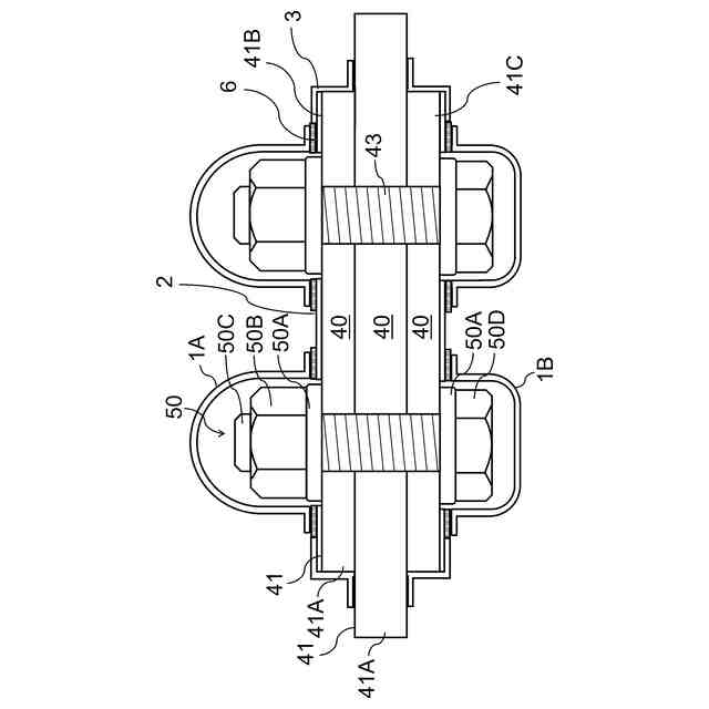
半球状または円板状の天部と、前記天部が角をもたずに全周で一方端に接続する円筒状の胴部と、前記胴部の他方端に全周で接続する環状円板のフランジ部と、を備え、
天部および胴部の厚み公差が、-15%~+15%の範囲にある、請求項1に記載のボルトナットキャップ。
【請求項3】
JIS K7361-1-1997で規定された測定方法に準拠して測定した可視光域波長の全光線透過率が75%以上である、請求項1に記載のボルトナットキャップ。
【請求項4】
ISO4892-2に準拠して、キセノンアークランプを用いた2000時間の暴露試験を行う促進耐候性試験後の引張強度が試験前の引張強度の80%以上である、請求項1に記載のボルトナットキャップ。
【請求項5】
粘接着剤を用い、請求項1~4のいずれか1項に記載のボルトナットキャップを、ボルトおよびナットの一方または両方の突出部を被覆するようにして固定することを含む、ボルトおよびナットの一方または両方の保護または補修方法。
【請求項6】
鋼材と、該鋼材に固定されたボルトおよびナットとを備えた鋼構造物の保護または補修方法であって、
片面に粘着剤を有する平面状防食シートを用い、ボルトおよびナットと前記鋼材のコバとを除く前記鋼材の平面に、前記平面状防食シートの粘着剤を有する面をあてがって貼り付ける工程と、
断面Z形の内面または外面に粘着剤を有するZ形防食シートを用い、前記平面状防食シートの下にまたは上から、前記鋼材のコバに沿うように、前記Z形防食シートの粘着剤を有する面をあてがって貼り付ける工程と、
粘接着剤を用い、請求項1~4のいずれか1項に記載のボルトナットキャップを、ボルトおよびナットの一方または両方の突出部を被覆するようにして前記平面状防食シートの上に固定する工程と、
を含む、鋼構造物の保護または補修方法。
【請求項7】
前記平面状防食シートおよび前記Z形防食シートは、
外面側にフッ素系樹脂層と、粘着剤を塗布する面に熱可塑性樹脂層と、を有し、
紫外線波長域315~380nmの範囲の透過率が10%以下であり、
JIS K7361-1-1997で規定された測定方法に準拠して測定した可視光域波長の全光線透過率が75%以上であり、
厚みが30~2000μmの範囲である、請求項6に記載の鋼構造物の保護または補修方法。
発明の詳細な説明
【技術分野】
【0001】
本発明は、屋内外に設置されるボルト及び/ 又はナットの接合面からの突出部を被覆するためのボルトナットキャップに関する。また、本発明はボルトナットキャップを用いたボルトナットおよび鋼構造物の保護または補修方法に関する。
続きを表示(約 1,700 文字)
【背景技術】
【0002】
橋梁、水門、建築物、海洋構造物及びプラント等の主要な部材が鋼材で構成される鋼構造物は、ボルト及びナットを使用した締結方法が採用されている。このボルトナット結合を使用した場合、ボルトの頭部、及びナットは、一般に、接合面から突出した状態となるため、太陽光、風雨、潮風等の劣化因子の影響を受けやすく、徐々に劣化が進行し、発錆から腐食に至り、鋼構造物の機能を損なうという問題がある。接合面から突出したボルトの頭部及びナットの表面には防食塗装が施されているが、ボルト及びナットの表面は複雑な形状を有していることが多く、均一な塗装が困難なため、適切な塗膜厚の確保が難しいだけでなく、雨水や飛来塩分が滞留しやすいことから、ボルトナット近辺の防食塗装が剥離してしまい、劣化が進行しやすいという問題がある。
【0003】
そこで、ボルト及びナットの突出部に樹脂製のキャップ(ボルトナットキャップ)を被せることで、ボルト及びナットを保護し、錆の発生を防止する手法が検討されている(たとえば、特許文献1)。
【先行技術文献】
【特許文献】
【0004】
特開2021-038764号公報
【発明の概要】
【発明が解決しようとする課題】
【0005】
しかしながら、特許文献1に記載の技術は、少なくともフッ素系樹脂層とフッ素系樹脂を含有しない熱可塑性樹脂層をこの順に備える必要があり、平面状であれば実現できるが、複雑なキャップ形状とするにはそれぞれの樹脂層の厚みの管理が難しい問題があった。
【0006】
また、平板上の基材を熱成形すると天板と胴をつなぐ肩部の厚みが薄くなってしまう問題があった。厚みの薄い部分は、強度や耐候性に劣り、紫外線や酸素が透過しやすくなるおそれがあった。
【0007】
本発明は、上記課題に鑑みてなされたものであり、製造が容易で施工性と耐候性に優れたボルトナットキャップを提供することを目的としている。また、そのボルトナットキャップを用いたボルトナットおよび鋼構造物の保護又は補修方法を提案することを目的とする。
【課題を解決するための手段】
【0008】
上記課題を有利に解決する本発明のボルトナットキャップは、ポリイミド樹脂、ポリアクリル酸エステル系樹脂、ポリ塩化ビニル系樹脂、ポリカーボネート系樹脂、ポリエチレンテレフタレート系樹脂、ポリアミド系樹脂、アクリロニトリル-ブタジエン-スチレン共重合体よりなる群から選択される少なくとも一種からなる熱可塑性樹脂を含有する組成物を射出成形して形成されたボルトナットキャップであって、紫外線波長域315~380nmの範囲の透過率が10%以下であり、ISO4892-2に準拠して、キセノンアークランプを用いた2000時間の暴露試験を行う促進耐候性試験後の黄変指数が2.0以下であることを特徴とする。
【0009】
なお、本発明のボルトナットキャップは、
(a)半球状または円板状の天部と、前記天部が角をもたずに全周で一方端に接続する円筒状の胴部と、前記胴部の他方端に全周で接続する環状円板のフランジ部と、を備え、
天部および胴部の厚み公差が、-15%~+15%の範囲にあること、
(b)JIS K7361-1-1997で規定された測定方法に準拠して測定した可視光域波長の全光線透過率が75%以上であること、
(c)ISO4892-2に準拠して、キセノンアークランプを用いた20000時間の暴露試験を行う促進耐候性試験後の引張強度が試験前の引張強度の80%以上であること、
などが好ましい解決手段になり得る。
【0010】
上記課題を有利に解決する本発明にかかるボルトおよびナットの一方または両方の保護または補修方法は、粘接着剤を用い、上記いずれかのボルトナットキャップを、ボルトおよびナットの一方または両方の突出部を被覆するようにして固定することを含むことを特徴とする。
(【0011】以降は省略されています)
この特許をJ-PlatPat(特許庁公式サイト)で参照する
関連特許
川田工業株式会社
自動半円切欠装置
1日前
川田工業株式会社
溶接システムおよび溶接速度調整方法
1か月前
川田工業株式会社
作業管理装置、作業管理システム、及び作業管理方法
1か月前
川田工業株式会社
ボルトナットキャップならびにそれを用いたボルトナットおよび鋼構造物の保護または補修方法
5か月前
個人
留め具
1か月前
個人
鍋虫ねじ
3か月前
個人
回転伝達機構
3か月前
個人
紛体用仕切弁
3か月前
個人
ホース保持具
7か月前
個人
差動歯車用歯形
5か月前
個人
トーションバー
7か月前
個人
ジョイント
2か月前
個人
給排気装置
1か月前
株式会社不二工機
電磁弁
6か月前
株式会社不二工機
電磁弁
5か月前
個人
ナット
24日前
個人
ナット
2か月前
個人
地震の揺れ回避装置
4か月前
個人
ゲート弁バルブ
9日前
個人
吐出量監視装置
2か月前
カヤバ株式会社
緩衝器
1か月前
兼工業株式会社
バルブ
25日前
カヤバ株式会社
ダンパ
5か月前
カヤバ株式会社
緩衝器
4か月前
カヤバ株式会社
緩衝器
4か月前
カヤバ株式会社
ダンパ
5か月前
柿沼金属精機株式会社
分岐管
3か月前
株式会社ノーリツ
分配弁
6か月前
個人
固着具と固着具の固定方法
6か月前
株式会社ノーリツ
分配弁
6か月前
個人
固着具と固着具の固定方法
7か月前
アズビル株式会社
回転弁
2か月前
株式会社ニフコ
クリップ
9日前
株式会社ノーリツ
分配弁
6か月前
個人
固着具と固着具の固定方法
6か月前
株式会社奥村組
制振機構
2か月前
続きを見る
他の特許を見る