TOP
|
特許
|
意匠
|
商標
特許ウォッチ
Twitter
他の特許を見る
10個以上の画像は省略されています。
公開番号
2025084185
公報種別
公開特許公報(A)
公開日
2025-06-03
出願番号
2023197869
出願日
2023-11-22
発明の名称
検出装置
出願人
株式会社ジャパンディスプレイ
代理人
ポレール弁理士法人
主分類
G01B
7/16 20060101AFI20250527BHJP(測定;試験)
要約
【課題】測定対象が曲率半径変化の激しい形状の表面を有する場合であっても、1つの検出装置によって、測定対象の表面の湾曲形状を精度よく検知することが可能とする技術を提供する。
【解決手段】検出装置において、第2ひずみゲージCDBの第2ひずみゲージ素子GBと第3ひずみゲージCDCの第3ひずみゲージ素子GCとは、基板の厚さ方向Zにおける中心の位置から対称に配置され、かつ、平面視において、重畳している。第1ひずみゲージCDAの第1ひずみゲージ素子GAと第4ひずみゲージCDDの第4ひずみゲージ素子GDとは、基板の厚さ方向Zにおける中心の位置から対称に配置され、かつ、平面視において、重畳している。平面視において、第1ひずみゲージ素子GAと第2ひずみゲージ素子GBとは、基板の長さ方向Xにずれている。また、平面視において、第3ひずみゲージ素子GCと第4ひずみゲージ素子GDとは、基板の長さ方向Xにずれている。
【選択図】図1
特許請求の範囲
【請求項1】
帯状のフレキシブルな基板と、
前記基板に設けられ、前記基板の長さ方向に所定の間隔を置いて一列状に設けられた複数の第1ひずみゲージ素子を含む第1ひずみゲージと、
前記基板に設けられ、前記基板の長さ方向に所定の間隔を置いて一列状に設けられた複数の第2ひずみゲージ素子を含む第2ひずみゲージと、
前記基板に設けられ、前記基板の長さ方向に所定の間隔を置いて一列状に設けられた複数の第3ひずみゲージ素子を含む第3ひずみゲージと、
前記基板に設けられ、前記基板の長さ方向に所定の間隔を置いて一列状に設けられた複数の第4ひずみゲージ素子を含む第4ひずみゲージと、
前記第1~4ひずみゲージ素子のおのおのに接続される検出回路と、を含み、
前記第1~4ひずみゲージのおのおのは、前記基板において、前記第1~4ひずみゲージの延在方向が前記基板の長さ方向に沿うように、絶縁層を介して配置され、
前記第1~4ひずみゲージは、この順に、前記第1~4ひずみゲージの延在方向が同一方向となるように、前記基板の厚さ方向に積層され、
前記第2ひずみゲージ素子と前記第3ひずみゲージ素子とは、前記基板の厚さ方向における中心の位置から対称に配置され、かつ、平面視において、重畳し、
前記第1ひずみゲージ素子と前記第4ひずみゲージ素子とは、前記基板の厚さ方向における中心の位置から対称に配置され、かつ、平面視において、重畳し、
平面視において、前記第1ひずみゲージ素子と前記第2ひずみゲージ素子とは、前記基板の長さ方向にずれており、
平面視において、前記第3ひずみゲージ素子と前記第4ひずみゲージ素子とは、前記基板の長さ方向にずれている、
検出装置。
続きを表示(約 1,200 文字)
【請求項2】
請求項1に記載の検出装置において、
前記第1~4ひずみゲージ素子のおのおのは、対応する複数のひずみゲージ素子が等間隔で前記基板の長さ方向に配置され、
平面視における前記第1ひずみゲージ素子と前記第2ひずみゲージ素子とのずれ量は、隣接するひずみゲージ素子の配置間隔の1/2とされ、
平面視における前記第3ひずみゲージ素子と第4ひずみゲージ素子のずれ量は、隣接するひずみゲージ素子の配置間隔の1/2とされる、検出装置。
【請求項3】
請求項1に記載の検出装置において、
前記第1ひずみゲージは第1センサ基板に配置され、
前記第2ひずみゲージは第2センサ基板に配置され、
前記第3ひずみゲージは第3センサ基板に配置され、
前記第4ひずみゲージは第4センサ基板に配置され、
前記第2センサ基板と前記第3センサ基板とは、前記第1センサ基板と前記第4センサ基板に対して、前記基板の長さ方向にずれて配置されている、検出装置。
【請求項4】
請求項1に記載の検出装置において、
前記第2ひずみゲージと前記第3ひずみゲージとにおいて、対応する1つの第2ひずみゲージ素子と対応する1つの第3ひずみゲージ素子とが直列に接続される様に、直列接続され、その一端は第1の基準電位に接続され、その他端は第1の基準電位よりも高い第2の基準電位に接続され、
前記第1ひずみゲージと前記第4ひずみゲージとにおいて、対応する1つの第1ひずみゲージ素子と対応する1つの第4ひずみゲージ素子とが直列に接続される様に、直列接続され、その一端は前記第1の基準電位に接続され、その他端は前記第2の基準電位に接続されている、検出装置。
【請求項5】
請求項1に記載の検出装置において、
ひずみがない状態において、前記第2ひずみゲージ素子の抵抗値と前記第3ひずみゲージ素子の抵抗値は同じであり、前記第1ひずみゲージ素子の抵抗値と前記第4ひずみゲージ素子の抵抗値とは同じである、検出装置。
【請求項6】
請求項5に記載の検出装置において、
ひずみがある状態において、前記第2ひずみゲージ素子の抵抗値と前記第3ひずみゲージ素子の抵抗値は異なり、前記第1ひずみゲージ素子の抵抗値と前記第4ひずみゲージ素子の抵抗値とは異なる、検出装置。
【請求項7】
請求項6に記載の検出装置において、
前記検出回路は、
前記第2ひずみゲージ素子の抵抗値と前記第3ひずみゲージ素子の抵抗値とに基づいて前記基板の第1曲率半径を求め、
前記第1ひずみゲージ素子の抵抗値と前記第4ひずみゲージ素子の抵抗値に基づいて前記基板の第2曲率半径を求め、
前記第1曲率半径と前記第2曲率半径とに基づいて物体の形状を特定する、検出装置。
発明の詳細な説明
【技術分野】
【0001】
本開示は、検出装置に関する。
続きを表示(約 3,000 文字)
【背景技術】
【0002】
検出装置として、歪検出装置がある。歪検出装置の一例として、フレキシブルなフィルム状あるいはシート状の歪ゲージセンサが知られている。歪ゲージセンサは、帯状のフレキシブルなシート基材の表面に並んで設けられた歪ゲージ(ひずみゲージ素子)と、これらの歪ゲージに通電するための複数本の信号線と、を有している。また、シートの表裏に複数の歪ゲージが設けられている。表面側の歪ゲージは、裏面側の歪ゲージとそれぞれ対向して配置されている。歪ゲージセンサを表面の湾曲した被検体(測定対象)に巻き付け、各歪ゲージの抵抗変化を検出することにより、被検体の表面の湾曲形状を検知することができる。
【先行技術文献】
【特許文献】
【0003】
特開2013-185966号公報
特開2013-96821号公報
【発明の概要】
【発明が解決しようとする課題】
【0004】
この開示の課題は、測定対象が曲率半径の変化が激しい形状の表面を有する場合であっても、1つの検出装置によって、測定対象の表面の湾曲形状を精度よく検知することが可能とする技術を提供することにある。
【課題を解決するための手段】
【0005】
本開示に係る検出装置は、
帯状のフレキシブルな基板と、
前記基板に設けられ、前記基板の長さ方向に所定の間隔を置いて一列状に設けられた複数の第1ひずみゲージ素子を含む第1ひずみゲージと、
前記基板に設けられ、前記基板の長さ方向に所定の間隔を置いて一列状に設けられた複数の第2ひずみゲージ素子を含む第2ひずみゲージと、
前記基板に設けられ、前記基板の長さ方向に所定の間隔を置いて一列状に設けられた複数の第3ひずみゲージ素子を含む第3ひずみゲージと、
前記基板に設けられ、前記基板の長さ方向に所定の間隔を置いて一列状に設けられた複数の第4ひずみゲージ素子を含む第4ひずみゲージと、
前記第1~4ひずみゲージ素子のそれぞれに接続される検出回路と、を含み、
前記第1~4ひずみゲージのおのおのは、前記基板において、前記第1~4ひずみゲージの延在方向が前記基板の長さ方向に沿うように、絶縁層を介して配置され、
前記第1~4ひずみゲージは、この順に、前記第1~4ひずみゲージの延在方向が同一方向となるように前記基板の厚さ方向に積層され、
前記第2ひずみゲージ素子と前記第3ひずみゲージ素子とは、前記基板の厚さ方向における中心の位置から対称に配置され、かつ、平面視において、重畳し、
前記第1ひずみゲージ素子と前記第4ひずみゲージ素子とは、前記基板の厚さ方向における中心の位置から対称に配置され、かつ、平面視において、重畳し、
平面視において、前記第1ひずみゲージ素子と前記第2ひずみゲージ素子とは、前記基板の長さ方向にずれており、
平面視において、前記第3ひずみゲージ素子と前記第4ひずみゲージ素子とは、前記基板の長さ方向にずれている。
【図面の簡単な説明】
【0006】
図1は、実施形態に係る歪ゲージセンサ装置の斜視図。
図2は、実施形態に係る歪ゲージセンサ装置の縦断面図。
図3は、図2の線A-Aおよび線B-Bに沿った歪ゲージセンサ装置の断面図。
図4は、変形例に係る歪ゲージセンサ装置の縦断面図。
図5は、実施形態に係る歪ゲージセンサ装置の第2センサパターンおよび第3センサパターンの歪ゲージおよび配線を模式的に示す展開図。
図6は、第1センサシート20Aの第1センサパターンCDAおよび第2センサパターンCDBの積層構造を模式的に示す斜視図。
図7は、変形例に係る歪ゲージセンサ装置を説明する図。
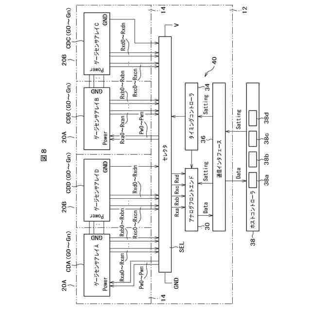
図8は、実施形態に係る歪ゲージセンサ装置のコントローラのブロック図。
図9は、検出時のスキャン動作を示す歪ゲージセンサ装置の第1ないし第4センサパターンおよびコントローラのアナログフロントエンドを展開して示す平面図。
図10は、被検体の表面に設置した状態の実施形態に係る歪ゲージセンサ装置の一部を模式的に示す図。
図11は、検出時のスキャン動作を示す実施形態に係る歪ゲージセンサ装置の第1ないし第4センサパターンおよびコントローラのアナログフロントエンドを展開して示す平面図。
図12は、実施形態に係る歪ゲージセンサ装置の複数の歪ゲージの位置で歪ゲージGA、GDの検出値および歪ゲージGB、GCの検出値に基づいて算出した曲率半径および曲面座標をプロットした曲面形態を説明する図。
【発明を実施するための形態】
【0007】
以下、図面を参照しながら、この開示の実施形態について詳細に説明する。
なお、本開示はあくまで一例にすぎず、当業者において、本開示の主旨を保っての適宜変更であって容易に想到し得るものについては、当然に本開示の範囲に含有されるものである。また、図面は説明をより明確にするため、実際の態様に比べ、各部の幅、厚さ、形状等について模式的に表される場合があるが、あくまで一例であって、本開示の解釈を限定するものではない。また、本明細書と各図において、既出の図に関して前述したものと同様の要素には、同一の符号を付して、詳細な説明を適宜省略することがある。
【0008】
(実施形態)
検出装置の一例として、実施形態に係る歪ゲージセンサ装置10について詳細に説明する。図1は、実施形態に係る歪ゲージセンサ装置の斜視図である。
【0009】
図1に示すように、検出装置としての歪ゲージセンサ装置10は、両面型の歪ゲージセンサを構成している。歪ゲージセンサ装置10は、基材として機能する細長い帯状のフレキシブルなベース基板44と、ベース基板44の第1主面(前面)に貼付された第1センサシート20Aと、ベース基板44の第2主面(背面)に貼付された第2センサシート20Bと、一対のフレキシブル配線板(FPC)14と、当該一対のフレキシブル配線板14を介して第1センサシート20Aおよび第2センサシート20Bに接続された中継基板(駆動回路基板)12と、を備えている。一例では、ベース基板44は、絶縁層であり、ポリエチレンテレフタレート(PET)、ポリイミド等の樹脂で厚さ0.3~0.5mm程度に形成されている。
【0010】
第1センサシート20Aおよび第2センサシート20Bの各々は、後述する図2に示す様に、絶縁層からなる細長い帯状のフレキシブルなシート基材22とシート基材22に設けられた2層の導体パターン(センサパターン)CDA、CDB(CDC、CDD)とを有している。各層のセンサパターンは、複数の歪ゲージG0~Gnを含んでいる。複数の歪ゲージG0~Gnは、シート基材22の長手方向Xの一端から他端に亘り所定の間隔を空けて長手方向Xに一列状に並んで配置されている。長手方向Xは長さ方向Xと言う場合がある。また、ベース基板44とシート基材22とをまとめて、基板(44,22)と言ことがある。
(【0011】以降は省略されています)
この特許をJ-PlatPat(特許庁公式サイト)で参照する
関連特許
他の特許を見る