TOP
|
特許
|
意匠
|
商標
特許ウォッチ
Twitter
他の特許を見る
公開番号
2025083970
公報種別
公開特許公報(A)
公開日
2025-06-02
出願番号
2023197681
出願日
2023-11-21
発明の名称
開閉器、および、開閉器の製造方法
出願人
ニチコン株式会社
代理人
弁理士法人 HARAKENZO WORLD PATENT & TRADEMARK
主分類
H01H
83/02 20060101AFI20250526BHJP(基本的電気素子)
要約
【課題】回路基板に接続用導体が接続される開閉器において電流検知器を備える。
【解決手段】単相3線式の開閉器の接続用導体は、絶縁性フレーム(2)から外部に露出した端子(11U)と、端子から内部へと延伸した第1延伸部(11u1)と、向きを変えて第1延伸部から延伸し、回路基板に接続される第2延伸部(11u2)とを有し、スペーサ(8u)が第1延伸部に固定されて、電流検知器(50u)の貫通穴に内接する。
【選択図】図7
特許請求の範囲
【請求項1】
単相3線式の開閉器であって、
前記開閉器の筐体の少なくとも一部を構成する絶縁性フレームと、
前記絶縁性フレームに固定された接続用導体と、
前記筐体の内部に収容された回路基板と、を備え、
貫通穴が設けられたリング状の形態を有する、前記貫通穴を通過する電流の検知が可能な電流検知器と、
スペーサと、を更に備えており、
前記接続用導体は、前記絶縁性フレームから外部に露出した端子と、前記端子から内部へと延伸した第1延伸部と、前記第1延伸部とは延伸する向きを変えて前記第1延伸部から前記回路基板に向けて延伸し、前記回路基板に電気的に接続される第2延伸部と、を有し、
前記電流検知器は、前記第1延伸部が前記貫通穴を通過する状態で前記接続用導体に装着され、
前記スペーサは、前記接続用導体の前記第1延伸部に固定されて、前記電流検知器の前記貫通穴に内接する、開閉器。
続きを表示(約 900 文字)
【請求項2】
前記絶縁性フレームには、前記電流検知器の外周の一部が嵌合する突出部が設けられている、請求項1に記載の開閉器。
【請求項3】
前記突出部には、前記電流検知器の前記貫通穴を前記第2延伸部が通過することを可能とする、前記電流検知器の外周との干渉を回避する切欠が設けられている、請求項2に記載の開閉器。
【請求項4】
3極分の前記接続用導体が、前記筐体の幅方向に並ぶように、前記絶縁性フレームに固定されており、
当該3極分の前記接続用導体のうちの外側の2極分の前記接続用導体にそれぞれ前記電流検知器が装着されている、請求項1に記載の開閉器。
【請求項5】
単相3線式の線路の接続の切替が可能な、切替開閉器である請求項1から4のいずれか1項に記載の開閉器。
【請求項6】
筐体の少なくとも一部を構成する絶縁性フレームと、
前記絶縁性フレームに固定された接続用導体と、
前記筐体の内部に収容された回路基板と、
貫通穴が設けられたリング状の形態を有する、前記貫通穴を通過する電流の検知が可能な電流検知器と、
スペーサと、を備えた単相3線式の開閉器の製造方法であって、
前記接続用導体は、前記絶縁性フレームから外部に露出した端子と、前記端子から内部へと延伸した第1延伸部と、前記第1延伸部とは延伸する向きを変えて前記第1延伸部から延伸する第2延伸部を有しており、
前記スペーサは、前記第1延伸部に設けられており、
前記絶縁性フレームに固定された前記接続用導体の前記第2延伸部から前記貫通穴を通すように、前記電流検知器を前記接続用導体に係合させる工程と、
前記第1延伸部まで前記接続用導体に沿って、前記電流検知器を移動させる工程と、
前記スペーサが前記電流検知器の貫通穴に内接するように、前記電流検知器を前記第1延伸部において前記接続用導体に装着させる工程と、
前記回路基板に前記第2延伸部の端部をはんだ付けする工程と、をこの順に含む開閉器の製造方法。
発明の詳細な説明
【技術分野】
【0001】
本発明は開閉器、および、開閉器の製造方法に関する。
続きを表示(約 2,500 文字)
【背景技術】
【0002】
単相3線式の開閉器は、例えば住宅等の建築物内の線路のような、比較的低圧の線路に適用される開閉器である。単相3線式の開閉器の構成として、線路に流れる電流が導入されるようにした回路基板を備えるようにすることが提案されている。
【先行技術文献】
【特許文献】
【0003】
特許第7227420号公報
【発明の概要】
【発明が解決しようとする課題】
【0004】
このような構成の開閉器において、線路の電流を検知する機能を内蔵することも期待されている。しかしながら電流のセンサである電流検知器を、回路基板を備える構成の開閉器において、具体的にどのように搭載するかについて、従来十分には検討されていなかった。
【課題を解決するための手段】
【0005】
上記の課題を解決するために、本発明の一態様は、単相3線式の開閉器であって、前記開閉器の筐体の少なくとも一部を構成する絶縁性フレームと、前記絶縁性フレームに固定された接続用導体と、前記筐体の内部に収容された回路基板と、を備え、貫通穴が設けられたリング状の形態を有する、前記貫通穴を通過する電流の検知が可能な電流検知器と、スペーサと、を更に備えており、前記接続用導体は、前記絶縁性フレームから外部に露出した端子と、前記端子から内部へと延伸した第1延伸部と、前記第1延伸部とは延伸する向きを変えて前記第1延伸部から前記回路基板に向けて延伸し、前記回路基板に電気的に接続される第2延伸部と、を有し、前記電流検知器は、前記第1延伸部が前記貫通穴を通過する状態で前記接続用導体に装着され、前記スペーサは、前記接続用導体の前記第1延伸部に固定されて、前記電流検知器の前記貫通穴に内接する。
【0006】
上記の課題を解決するために、本発明の別の一態様は、筐体の少なくとも一部を構成する絶縁性フレームと、前記絶縁性フレームに固定された接続用導体と、前記筐体の内部に収容された回路基板と、貫通穴が設けられたリング状の形態を有する、前記貫通穴を通過する電流の検知が可能な電流検知器と、スペーサと、を備えた単相3線式の開閉器の製造方法であって、前記接続用導体は、前記絶縁性フレームから外部に露出した端子と、前記端子から内部へと延伸した第1延伸部と、前記第1延伸部とは延伸する向きを変えて前記第1延伸部から延伸する第2延伸部を有しており、前記スペーサは、前記第1延伸部に設けられており、前記絶縁性フレームに固定された前記接続用導体の前記第2延伸部から前記貫通穴を通すように、前記電流検知器を前記接続用導体に係合させる工程と、前記第1延伸部まで前記接続用導体に沿って、前記電流検知器を移動させる工程と、前記スペーサが前記電流検知器の貫通穴に内接するように、前記電流検知器を前記第1延伸部において前記接続用導体に装着させる工程と、前記回路基板に前記第2延伸部の端部をはんだ付けする工程と、をこの順に含む。
【発明の効果】
【0007】
本発明の一態様によれば、線路の電流を導入するようにした回路基板を内部に備えた開閉器において、線路の電流を検知する電流検知器を搭載した開閉器を実現することができる。
【図面の簡単な説明】
【0008】
本発明の実施形態に係る開閉器の外観を示す斜視図である。各端子台カバーを外した状態を示す。
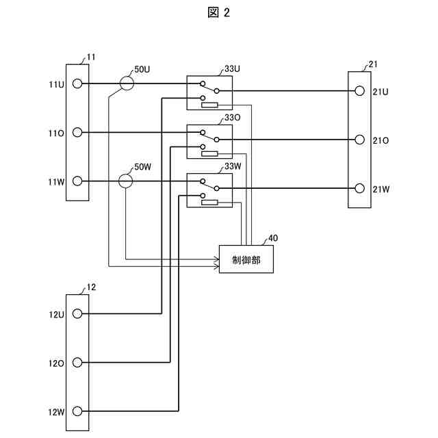
本発明の実施形態に係る開閉器の回路構成を示す回路図である。
本発明の実施形態に係る開閉器の外観を示す平面図である。各端子台カバーを外した状態を示す。
本発明の実施形態に係る開閉器の、図3におけるA-A位置での右側面方向から見た、主要部を示す切断部端面図である。各端子台カバーを外した状態を示す。
本発明の実施形態に係る開閉器の、第1の1次側端子台付近の絶縁性フレームの構成を示す斜視図である。端子台カバーも併せて示される。
本発明の実施形態に係る開閉器の、第1の1次側端子台付近の絶縁性フレームの構成を示す斜視図である。第1電流検知器、第2電流検知器、および、端子台カバーも併せて示される。第1電流検知器は、バスバーに装着される途中の状態が示されている。
本発明の実施形態に係る開閉器の、第1の1次側端子台付近の絶縁性フレームの構成を示す斜視図である。第1電流検知器、第2電流検知器、および、端子台カバーも併せて示される。第1電流検知器は、バスバーに装着される途中の状態が示されている。
本発明の実施形態に係る開閉器の、第1の1次側端子台付近の絶縁性フレームの構成を示す斜視図である。第1電流検知器、第2電流検知器、および、端子台カバーも併せて示される
【発明を実施するための形態】
【0009】
以下、本発明の実施形態について、詳細に説明する。本明細書において述べる各コンポーネント、各材料、および各数値は、特に矛盾のない限り、いずれも単なる一例である。それゆえ、例えば、特に矛盾のない限り、各コンポーネントの位置関係および接続関係は、各図の例に限定されない。本願における各図面に記載した構成の形状および寸法(長さ、幅、高さ等)は、実際の形状および寸法が必ずしも反映されたものではなく、図面の明瞭化および簡略化のために適宜変更されている。
【0010】
〔実施形態〕
<開閉器1の概要と回路構成>
本発明の実施形態に係る開閉器1は、単相3線式の線路に設けられる開閉器である。一例として開閉器1は、2次側の線路の接続先を、2組の1次側の線路である第1線路と第2線路の間で切り替える切替開閉器である。つまり開閉器1は、単相3線式の線路を1組として、開閉器1に接続される2組の1次側の線路と、開閉器1に接続される2次側の線路との間の接続の状態を、切り替えることができる。
(【0011】以降は省略されています)
この特許をJ-PlatPat(特許庁公式サイト)で参照する
関連特許
他の特許を見る