TOP
|
特許
|
意匠
|
商標
特許ウォッチ
Twitter
他の特許を見る
10個以上の画像は省略されています。
公開番号
2025080920
公報種別
公開特許公報(A)
公開日
2025-05-27
出願番号
2023194305
出願日
2023-11-15
発明の名称
船舶推進機
出願人
スズキ株式会社
代理人
個人
,
個人
,
個人
主分類
B63H
20/00 20060101AFI20250520BHJP(船舶またはその他の水上浮揚構造物;関連艤装品)
要約
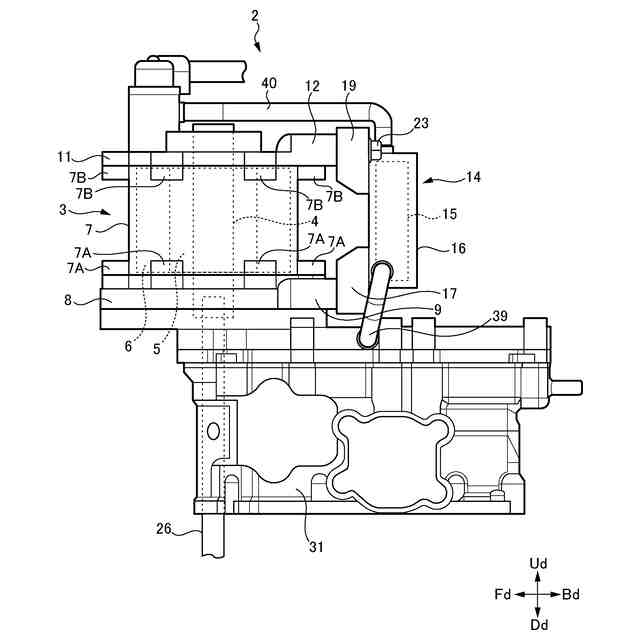
【課題】モータおよびインバータの十分な支持強度を確保しつつ、船舶推進機の大型化を抑えることができるようにする。
【解決手段】船外機は、モータ3およびインバータ14を有するモータユニット2を備え、モータ3は、モータシャフト4、ロータ5およびステータ6が設けられたモータハウジング7と、モータハウジング7の下部が固定されたボトムモータブラケット8と、モータハウジング7の上部が固定されたトップモータブラケット11とを備え、インバータ14の下部はボトムモータブラケット8に取り付けられ、インバータ14の上部はトップモータブラケット11に取り付けられている。
【選択図】図3
特許請求の範囲
【請求項1】
モータと、前記モータの駆動制御を行う駆動電流を生成するインバータと、プロペラと、前記モータの動力を前記プロペラへ伝達する動力伝達機構とを備えた船舶推進機であって、
前記モータは、モータシャフトと、ロータと、ステータと、内側に前記モータシャフト、前記ロータおよび前記ステータが設けられたモータハウジングと、前記モータハウジングの下部が固定された下側モータブラケットと、前記モータハウジングの上部が固定された上側モータブラケットとを備え、
前記インバータの下部は前記下側モータブラケットに取り付けられ、前記インバータの上部は前記上側モータブラケットに取り付けられていることを特徴とする船舶推進機。
続きを表示(約 1,200 文字)
【請求項2】
前記下側モータブラケットには、前記インバータの左部および右部がそれぞれ取り付けられていることを特徴とする請求項1に記載の船舶推進機。
【請求項3】
前記上側モータブラケットには、前記インバータの左部および右部がそれぞれ取り付けられていることを特徴とする請求項1に記載の船舶推進機。
【請求項4】
前記インバータは前記下側モータブラケットおよび前記上側モータブラケットのそれぞれの後部に取り付けられていることを特徴とする請求項1に記載の船舶推進機。
【請求項5】
前記下側モータブラケットは、当該下側モータブラケットの左後部から後方に突出した第1のインバータ取付部、および当該下側モータブラケットの右後部から後方に突出した第2のインバータ取付部を備え、
前記上側モータブラケットは、当該上側モータブラケットの左後部から後方に突出した第3のインバータ取付部、および当該上側モータブラケットの右後部から後方に突出した第4のインバータ取付部を備え、
前記インバータの左下部が前記第1のインバータ取付部に取り付けられ、前記インバータの右下部が前記第2のインバータ取付部に取り付けられ、前記インバータの左上部が前記第3のインバータ取付部に取り付けられ、前記インバータの右上部が前記第4のインバータ取付部に取り付けられていることを特徴とする請求項1に記載の船舶推進機。
【請求項6】
当該船舶推進機の上部には、前記モータ、前記インバータ、および前記モータおよび前記インバータを覆うカバーが設けられ、
前記カバーは下側カバー部および上側カバー部を備え、
前記下側カバー部は前記モータの下部および前記インバータの下部を覆い、前記上側カバー部は前記モータの上部および前記インバータの上部を覆い、前記上側カバー部は前記下側カバー部に対して着脱可能であり、当該船舶推進機の側面視において、前記下側カバー部の上端面は前記インバータの下端面と上端面との間を伸長していることを特徴とする請求項1に記載の船舶推進機。
【請求項7】
前記下側カバー部の上端面は当該上端面の後部が前部よりも低い位置となるように傾斜していることを特徴とする請求項6に記載の船舶推進機。
【請求項8】
前記モータと、前記モータの前記下側モータブラケットおよび前記上側モータブラケットに支持された前記インバータとをそれぞれ有する第1のモータユニットおよび第2のモータユニットを備え、
前記第2のモータユニットは前記第1のモータユニットの上方に配置され、
前記第2のモータユニットは、前記第1のモータユニットにおける前記モータの前記上側モータブラケットと前記第2のモータユニットにおける前記モータの前記下側モータブラケットとを互いに連結することにより、前記第1のモータユニットに支持されていることを特徴とする請求項1に記載の船舶推進機。
発明の詳細な説明
【技術分野】
【0001】
本発明は、船舶を推進させる動力源としてモータ(電動機)を用いた船舶推進機に関する。
続きを表示(約 1,400 文字)
【背景技術】
【0002】
特開2005-153727号公報(特許文献1)には、電動式の船外機が記載されている。この船外機においては、船舶を推進させる動力源としてのモータが船外機の上部に設けられ、プロペラが固定されたプロペラシャフトが船外機の下部に設けられている。また、モータとプロペラシャフトとの間には、上下方向に伸長したドライブシャフトが設けられ、モータの動力はドライブシャフトを介してプロペラシャフトに伝達される。
【0003】
電動式の船舶推進機において、船舶を推進させる動力源としてのモータには交流モータが用いられることが多い。また、交流モータが用いられた場合には、交流モータを駆動するための制御ユニットとして、バッテリからの直流電流を交流電流に変換するインバータが用いられる。従来技術において、インバータは、船外機の上部に設けられ、モータの近傍に配置される。
【先行技術文献】
【特許文献】
【0004】
特開2005-153727号公報
【発明の概要】
【発明が解決しようとする課題】
【0005】
特開2005-153727号公報の図2に示された電動式の船外機においては、船外機の上部にモータカバーが設けられ、モータカバー内に、モータと、モータの回転数を制御する制御ユニットとが設けられている。この船外機においては、モータと制御ユニットとがモータカバーの底部のそれぞれ異なる箇所に分散して支持されている。
【0006】
電動式の船舶推進機において、特開2005-153727号公報の図2に示されたモータおよび制御ユニットの配置方法を採用し、モータとインバータとをモータカバーの底部に分散して支持することとした場合、次のような問題がある。
【0007】
船舶を推進させる動力源である交流モータを駆動させるインバータは、大電流を扱うパワー半導体を備え、また、パワー半導体から発せられる熱を放熱する放熱機構、あるいはパワー半導体を冷却する冷却機構を備えている。それゆえ、船舶を推進させる動力源である交流モータを駆動させるインバータは、家庭用電気機器に用いられるインバータと比較して体積が大きく、重い。
【0008】
そのため、モータとインバータとをモータカバーの底部に分散して支持することとした場合には、それぞれ体積の大きい2つの装置をモータカバーの底部に分散して支持することとなるため、モータカバー、ひいては船舶推進機が大型化するおそれがある。
【0009】
また、モータとインバータとをモータカバーの底部に分散して支持することとした場合には、それぞれ重い2つの装置をモータカバーの底部に分散して支持することとなる。それゆえ、モータおよびインバータを支持するのに十分な強度を確保するために、例えば、モータとインバータとを分散して配置し得る広大な取付面積を有する大型かつ高剛性の基台または台座をモータカバーの底部に設ける必要が生じ、その結果、モータカバー、ひいては船舶推進機が大型化してしまう。
【0010】
本発明は例えば上述したような問題に鑑みなされたものであり、本発明の課題は、モータおよびインバータの十分な支持強度を確保しつつ、船舶推進機の大型化を抑えることができる船舶推進機を提供することにある。
【課題を解決するための手段】
(【0011】以降は省略されています)
この特許をJ-PlatPat(特許庁公式サイト)で参照する
関連特許
スズキ株式会社
排気装置
29日前
スズキ株式会社
排気装置
29日前
スズキ株式会社
車両側部構造
1か月前
スズキ株式会社
モータケース
19日前
スズキ株式会社
運転支援装置
1か月前
スズキ株式会社
動力伝達装置
1か月前
スズキ株式会社
車両用バンパ
19日前
スズキ株式会社
車両前部構造
19日前
スズキ株式会社
車両用変速機
19日前
スズキ株式会社
燃料電池車両
6日前
スズキ株式会社
燃料電池車両
6日前
スズキ株式会社
車両側部構造
28日前
スズキ株式会社
車両側部構造
28日前
スズキ株式会社
運転支援装置
1か月前
スズキ株式会社
車両前部構造
1か月前
スズキ株式会社
車両用送風構造
13日前
スズキ株式会社
車両の制御装置
21日前
スズキ株式会社
積立金管理装置
27日前
スズキ株式会社
車両の制御装置
1か月前
スズキ株式会社
車両用制御装置
28日前
スズキ株式会社
車両用送風構造
13日前
スズキ株式会社
車両用空調装置
1か月前
スズキ株式会社
車両用送風構造
13日前
スズキ株式会社
車両の制御装置
12日前
スズキ株式会社
車両用制御装置
1か月前
スズキ株式会社
クラッチ冷却装置
28日前
スズキ株式会社
衝突被害軽減装置
5日前
スズキ株式会社
ブレーキシステム
20日前
スズキ株式会社
駐車支援システム
1か月前
スズキ株式会社
燃料電池スタック
1か月前
スズキ株式会社
駐車支援システム
1か月前
スズキ株式会社
ハイブリッド車両
19日前
スズキ株式会社
車両のルーフ構造
19日前
スズキ株式会社
内燃機関の制御装置
1か月前
スズキ株式会社
車両用乗員保護装置
1か月前
スズキ株式会社
車両の制御システム
5日前
続きを見る
他の特許を見る