TOP
|
特許
|
意匠
|
商標
特許ウォッチ
Twitter
他の特許を見る
10個以上の画像は省略されています。
公開番号
2025079768
公報種別
公開特許公報(A)
公開日
2025-05-22
出願番号
2024032061
出願日
2024-03-04
発明の名称
遊星歯車機構のサンギヤユニット、変速機
出願人
日本精工株式会社
代理人
個人
,
個人
,
個人
主分類
F16H
1/28 20060101AFI20250515BHJP(機械要素または単位;機械または装置の効果的機能を生じ維持するための一般的手段)
要約
【課題】サンギヤシャフトを安定して回転可能に支持する。
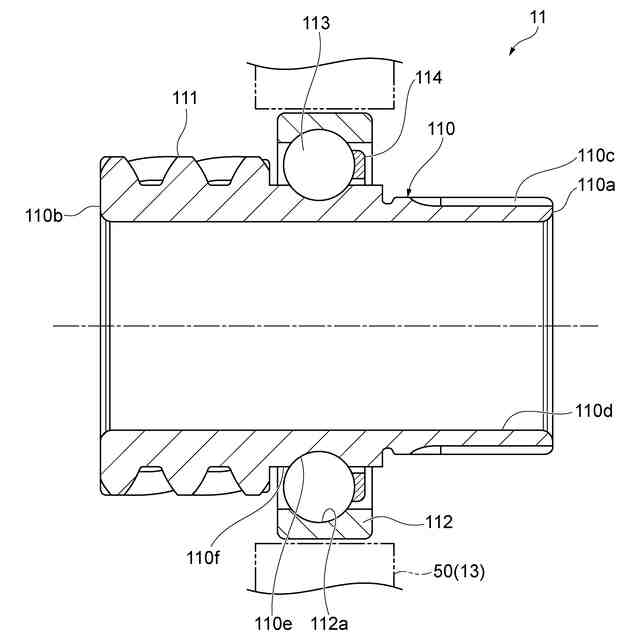
【解決手段】遊星歯車機構10のサンギヤユニット11は、回転力が入力される第1端部110aと、第1端部110aに対して反対側の第2端部110bと、を有し、第1端部110aと第2端部110bとの間の外周面に軸軌道面110eが形成されたサンギヤシャフト110と、第2端部110bに設けられたサンギヤ111と、内周面に外輪軌道面112aが形成された外輪112と、軸軌道面110eと外輪軌道面112aとの間に配置された複数の玉113と、を備える。
【選択図】図4
特許請求の範囲
【請求項1】
遊星歯車機構のサンギヤユニットであって、
回転力を入出力する第1端部と、前記第1端部に対して反対側の第2端部と、を有し、前記第1端部と前記第2端部との間の外周面に軸軌道面が形成されたサンギヤシャフトと、
前記第2端部に設けられ、前記遊星歯車機構の遊星ギヤにかみ合うサンギヤと、
前記サンギヤシャフトを支持する支持部に取り付けられ、前記軸軌道面を囲むように設けられると共に、内周面に外輪軌道面が形成された外輪と、
前記軸軌道面と前記外輪軌道面との間に配置された複数の転動体と、
を備えるサンギヤユニット。
続きを表示(約 1,100 文字)
【請求項2】
前記第1端部の外周面又は内周面には、スプラインが形成されている、請求項1に記載のサンギヤユニット。
【請求項3】
前記サンギヤシャフトは、
前記軸軌道面よりも前記第1端部側の位置において、前記軸軌道面に隣接する溝肩面を外周面に有する溝肩面形成部と、
前記溝肩面形成部よりも前記第1端部側の位置において、前記溝肩面形成部に隣接する嵌込部と、
を有し、
前記サンギヤシャフトの径方向における前記溝肩面形成部の大きさは、前記サンギヤシャフトの径方向における前記嵌込部の大きさよりも大きい、請求項1に記載のサンギヤユニット。
【請求項4】
前記サンギヤシャフトは、前記サンギヤシャフトの軸線方向において前記軸軌道面を挟み込むように前記軸軌道面に隣接する第1溝肩面及び第2溝肩面を有し、
前記第1溝肩面及び前記第2溝肩面は、それぞれ前記サンギヤシャフトの周方向に沿って延在する円環状を呈し、
前記第1溝肩面の外径と前記第2溝肩面の外径とは互いに異なっている、請求項1に記載のサンギヤユニット。
【請求項5】
前記外輪の外周面には、前記サンギヤシャフトの軸線方向において前記支持部と係合する係合部が設けられている、請求項1に記載のサンギヤユニット。
【請求項6】
前記サンギヤシャフトの軸線方向において、前記サンギヤと前記外輪及び前記転動体との間には、隙間が設けられている、請求項1に記載のサンギヤユニット。
【請求項7】
前記サンギヤシャフトには、当該サンギヤシャフトの軸線に沿って延在すると共に、回転軸が通される軸貫通孔が設けられている、請求項1~6のいずれか一項に記載のサンギヤユニット。
【請求項8】
前記サンギヤシャフトの表面部分には硬化層が設けられており、
前記硬化層が設けられた部分は、前記サンギヤシャフトの前記硬化層以外の部分よりも硬度が高く、
前記硬化層の厚さは、前記サンギヤシャフトの前記軸軌道面における肉厚の半分よりも大きい、請求項7に記載のサンギヤユニット。
【請求項9】
請求項7に記載のサンギヤユニットを有する遊星歯車機構と、
前記遊星歯車機構から回転力が伝達されるデファレンシャルケースを有すると共に、前記デファレンシャルケース内に差動機構が設けられたデファレンシャルギヤユニットと、
を備え、
前記軸貫通孔には、前記回転軸として、前記差動機構に接続されるドライブシャフトが通される、変速機。
発明の詳細な説明
【技術分野】
【0001】
本発明は、遊星歯車機構のサンギヤユニット、及び変速機に関する。
続きを表示(約 1,900 文字)
【背景技術】
【0002】
例えば、特許文献1に記載されているように、駆動ユニットの駆動軸の回転速度を減速させて出力する変速機(減速機)がある。この変速機は、ギヤが設けられた回転軸を複数備え、駆動軸の回転を複数の回転軸に順次伝達することによって、回転速度を減速させている。また、遊星歯車機構を用いて回転速度を変速する変速機がある。
【先行技術文献】
【特許文献】
【0003】
特開2017-3048号公報
【発明の概要】
【発明が解決しようとする課題】
【0004】
ここで、遊星歯車機構を備える変速機では、遊星歯車機構のサンギヤユニットのサンギヤシャフトが、軸受を介して支持部に回転可能に支持されている。このサンギヤシャフトにブレが生じると、回転性能や耐久性等が低下する可能性が考えられる。
【0005】
そこで、本発明は、サンギヤシャフトを安定して回転可能に支持可能な遊星歯車機構のサンギヤユニット、及び変速機を提供することを目的とする。
【課題を解決するための手段】
【0006】
本発明に係るサンギヤユニットは、[1]「遊星歯車機構のサンギヤユニットであって、回転力を入出力する第1端部と、前記第1端部に対して反対側の第2端部と、を有し、前記第1端部と前記第2端部との間の外周面に軸軌道面が形成されたサンギヤシャフトと、前記第2端部に設けられ、前記遊星歯車機構の遊星ギヤにかみ合うサンギヤと、前記サンギヤシャフトを支持する支持部に取り付けられ、前記軌道面を囲むように設けられると共に、内周面に外輪軌道面が形成された外輪と、前記軸軌道面と前記外輪軌道面との間に配置された複数の転動体と、を備えるサンギヤユニット。」である。
【0007】
このサンギヤユニットでは、サンギヤシャフトが、転動体及び外輪を介して支持部に支持される。つまり、サンギヤシャフトは、軸受の内輪の機能を兼ねている。このように、このサンギヤユニットは、サンギヤシャフトを支持する機構の部品点数を少なくすることができ、部品精度のばらつき等によるサンギヤシャフトの支持精度の低下を抑制できる。したがって、このサンギヤユニットでは、サンギヤシャフトを安定して回転可能に支持することができる。
【0008】
本発明に係るサンギヤユニットは、[2]「前記第1端部の外周面又は内周面には、スプラインが形成されている、上記[1]に記載のサンギヤユニット。」であってもよい。これにより、サンギヤユニットは、スプラインを介して、他の回転部材との間での回転力の伝達をより確実に行うことができる。
【0009】
本発明に係るサンギヤユニットは、[3]「前記サンギヤシャフトは、前記軸軌道面よりも前記第1端部側の位置において、前記軸軌道面に隣接する溝肩面を外周面に有する溝肩面形成部と、前記溝肩面形成部よりも前記第1端部側の位置において、前記溝肩面形成部に隣接する嵌込部と、を有し、前記サンギヤシャフトの径方向における前記溝肩面形成部の大きさは、前記サンギヤシャフトの径方向における前記嵌込部の大きさよりも大きい、上記[1]又は[2]に記載のサンギヤユニット。」であってもよい。この場合、サンギヤシャフトの外周面において、溝肩面形成部と嵌込部との間に段差が形成される。これにより、サンギヤユニットは、嵌込部に嵌め込んだ部材をこの段差部分に当接させることによって、嵌込部に嵌め込む部材の位置決めを行うことができる。
【0010】
本発明に係るサンギヤユニットは、[4]「前記サンギヤシャフトは、前記サンギヤシャフトの軸線方向において前記軸軌道面を挟み込むように前記軸軌道面に隣接する第1溝肩面及び第2溝肩面を有し、前記第1溝肩面及び前記第2溝肩面は、それぞれ前記サンギヤシャフトの周方向に沿って延在する円環状を呈し、前記第1溝肩面の外径と前記第2溝肩面の外径とは互いに異なっている、上記[1]~[3]のいずれか一つに記載のサンギヤユニット。」であってもよい。軸軌道面に配置された転動体は、第1溝肩面及び第2溝肩面のうち、小径側の溝肩面よりも大径側の溝肩面に乗り上げにくくなる。このように、サンギヤユニットは、第1溝肩面及び第2溝肩面の外径を互いに異ならせることによって、転動体が溝肩面に乗り上げることを抑制しつつ、アキシャル荷重を受け止めることができる。
(【0011】以降は省略されています)
この特許をJ-PlatPat(特許庁公式サイト)で参照する
関連特許
他の特許を見る