TOP
|
特許
|
意匠
|
商標
特許ウォッチ
Twitter
他の特許を見る
公開番号
2025079653
公報種別
公開特許公報(A)
公開日
2025-05-22
出願番号
2023192468
出願日
2023-11-10
発明の名称
水性インキ組成物
出願人
ぺんてる株式会社
代理人
主分類
C09D
11/16 20140101AFI20250515BHJP(染料;ペイント;つや出し剤;天然樹脂;接着剤;他に分類されない組成物;他に分類されない材料の応用)
要約
【課題】マーキングペン、筆ペン等の筆記具または塗布具に充填して使用する、顔料の定着性に優れ、ペン先や筆穂、塗布部の復元性が良好な水性インキ組成物を提供する。
【解決手段】酸化チタンと、23℃時の伸度が400%以上1000%以下のエチレン-酢酸ビニル樹脂エマルジョンと、ポリカーボネート系ウレタン樹脂エマルジョンと、水とからなる水性インキ組成物とした。
【選択図】図1
特許請求の範囲
【請求項1】
少なくとも、白色顔料として酸化チタンと、23℃時の伸度が400%以上1000%以下のエチレン-酢酸ビニル樹脂エマルジョンと、ポリカーボネート系ウレタン樹脂エマルジョンと、水とからなる水性インキ組成物
発明の詳細な説明
【技術分野】
【0001】
本発明は、マーキングペン、筆ペン等の筆記具または塗布具に充填して使用する、顔料の定着性に優れ、ペン先や筆穂、塗布部の復元性が良好な水性インキ組成物に関する。
続きを表示(約 1,600 文字)
【背景技術】
【0002】
従来、水性インキ組成物において、隠蔽力のある筆跡や、光輝性のある筆跡を得るためのインキには、顔料として少なくとも酸化チタンなどの白色顔料、パール顔料や金属粉顔料等の光輝性を有する反射性着色材が用いられている。
【0003】
例えば、酸化チタンを使用した再分散性の良好な水性インキとして、特許文献1には等電点がインキのpHよりも大きい酸化チタンと樹脂粒子と、結合剤としてアクリル系樹脂エマルジョンと、水とを少なくとも含む水性顔料組成物が開示されている。
【0004】
また、特許文献2には、筆跡の定着性に優れた水性インキとして顔料粒子と、体質材と、凝集分散剤と、凝集コントロール剤と、自己架橋型樹脂エマルジョンとしてアクリルエマルジョンと、ポリオレフィン樹脂粒子と、溶媒とを含む水性インキ組成物が開示されている。
【先行技術文献】
【特許文献】
【0005】
特開平11-343443号公報
特開2017-115084号公報
【発明の概要】
【発明が解決しようとする課題】
【0006】
隠蔽性や光沢付与のため酸化チタンやパール顔料や金属粉顔料等の光輝性を有する反射性着色材など粒径の大きい顔料を使用したインキには再分散性の向上や、定着性の付与のためアクリル系樹脂エマルジョンを使用することが知られているが、定着性に優れたタイプのアクリル系樹脂エマルジョンはわずかな水分蒸発により粘度が上昇しやすく、また空気との接触による乾燥で被膜が形成され、ペン先耐乾燥性が悪化したり、一度ペン先が乾燥してしまうと復元できなくなるという問題があった。特にサインペン、マーキングペン、筆ペン、フェルトペンなどに使用される液体保持力の高い繊維収束体中の狭く複雑な隙間から白色顔料として酸化チタンを含むインキを導出するペン先では、インキの粘度がわずかに上昇しただけでインキの流通が遅くなり、カスレなどの問題が発生しやすくなり、ペン先の乾燥が復元しないとインキが十分に残っていても使用できなくなってしまう問題が発生しやすいものであった。
【0007】
本発明は、隠蔽性を付与する顔料を使用したインキであっても、筆跡の定着性に優れ、かつ穂筆タイプの塗布部を備える筆記具で使用しても、ペン先や塗布部が乾燥しても復元することができる水性インキ組成物を提供することを目的とする。
【課題を解決するための手段】
【0008】
本発明は、少なくとも、白色顔料として酸化チタンと、23℃時の伸度が400%以上1000%以下のエチレン-酢酸ビニル樹脂エマルジョンと、ポリカーボネート系ウレタン樹脂エマルジョンと、水とからなる水性インキ組成物を要旨とするものである。
【発明の効果】
【0009】
本発明の水性インキ組成物は、マーキングペン、筆ペン等の筆記具または塗布具に充填して使用する。23℃時の伸度が400%以上1000%以下のエチレン-酢酸ビニル樹脂エマルジョンとポリカーボネート系ウレタン樹脂エマルジョンとを併用して定着剤として使用することで、酸化チタンのような筆跡の定着が難しい顔料であっても筆跡の擦過に強く定着性の良好な筆跡を得ることができる。更にアクリル樹脂エマルジョンなどに比べてインキの水分が減少したときも粘度が上昇しにくく、またエマルジョンが破壊されにくいため、例えペン先が一度乾燥し、かすれた状態になってもキャップをして密閉することでインキ収容部のインキによりペン先部のインキ粘度を低粘度に復帰させることができるものである。
【図面の簡単な説明】
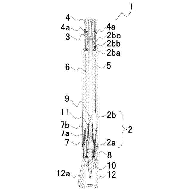
【0010】
塗布具1の縦断面図
【発明を実施するための形態】
(【0011】以降は省略されています)
この特許をJ-PlatPat(特許庁公式サイト)で参照する
関連特許
ぺんてる株式会社
ボールペンチップ
1か月前
ぺんてる株式会社
液体化粧料及び塗布具
2日前
ベック株式会社
被覆材
3か月前
日本化薬株式会社
インク
16日前
ベック株式会社
水性被覆材
4日前
ベック株式会社
被膜形成方法
2か月前
ベック株式会社
被膜形成方法
5日前
日本製紙株式会社
圧着紙
2日前
株式会社日本触媒
インクセット
25日前
日本化薬株式会社
インク組成物
16日前
日本化薬株式会社
前処理組成物
2日前
株式会社KRI
潜熱蓄熱材組成物
2日前
関西ペイント株式会社
塗料組成物
2か月前
ぺんてる株式会社
水性インキ組成物
3か月前
東ソー株式会社
土木用注入薬液組成物
17日前
日澱化學株式会社
ホットメルト接着剤
4日前
シヤチハタ株式会社
油性インキ組成物
2か月前
アイカ工業株式会社
ホットメルト組成物
5日前
アイカ工業株式会社
光硬化型圧着組成物
1か月前
大日精化工業株式会社
顔料分散液
1か月前
AGC株式会社
液状組成物
2か月前
デンカ株式会社
蛍光体
4日前
東ソー株式会社
土質安定化注入薬液組成物
1か月前
マクセル株式会社
粘着テープ
2か月前
東ソー株式会社
土質安定化注入薬液組成物
1か月前
日本化薬株式会社
インク組成物及び捺染方法
2日前
大日本印刷株式会社
積層シート
2日前
リンテック株式会社
粘着シート
3日前
ダイキン工業株式会社
撥剤
2日前
ハニー化成株式会社
防反射処理剤
3か月前
artience株式会社
水性フレキソインキ
3日前
東洋アルミニウム株式会社
複合顔料
16日前
ユニチカ株式会社
易接着フィルム、および積層体
1か月前
日東電工株式会社
粘着シート
2日前
株式会社呉竹
絵具
2か月前
住友理工株式会社
シール部材
3日前
続きを見る
他の特許を見る