TOP
|
特許
|
意匠
|
商標
特許ウォッチ
Twitter
他の特許を見る
10個以上の画像は省略されています。
公開番号
2025071394
公報種別
公開特許公報(A)
公開日
2025-05-08
出願番号
2023176762
出願日
2023-10-12
発明の名称
クリップ
出願人
河村化工株式会社
代理人
個人
,
個人
主分類
F16B
19/10 20060101AFI20250428BHJP(機械要素または単位;機械または装置の効果的機能を生じ維持するための一般的手段)
要約
【課題】取付孔から抜き取るための抜去力が作用した場合でも、クリップ保持部に保持された状態を維持することができるクリップを実現する。
【解決手段】第2部材2の取付孔4に挿入された状態で取付孔4から抜き取るための抜去力が作用したとき、内脚14(第2内脚14B)が取付孔4の内壁面に干渉することにより、第1部材1のクリップ保持部3に対する爪部18の係合状態が維持されるクリップ10とする。
【選択図】図4
特許請求の範囲
【請求項1】
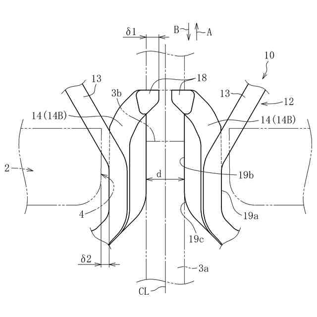
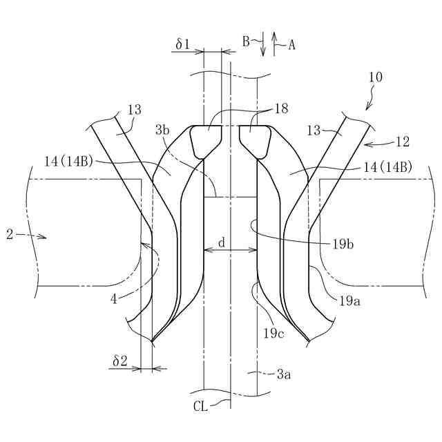
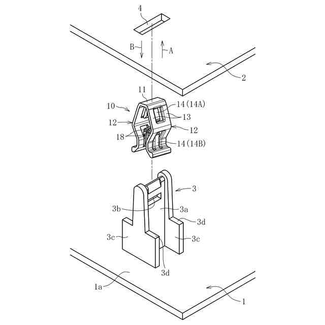
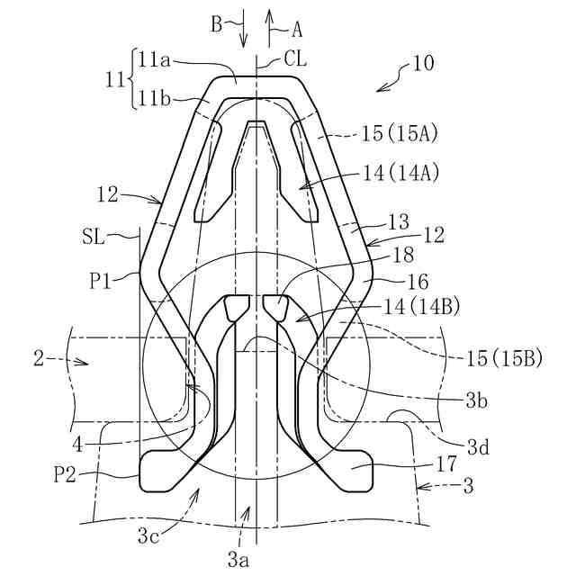
第1部材のクリップ保持部に保持された状態でパネル状の第2部材に設けられた取付孔に挿入されることにより、前記第1部材を前記第2部材に対して分離可能に取り付ける樹脂製のクリップであって、
前記取付孔への挿入を案内する頭部と、前記クリップ保持部を挟んで対向配置され、対向間隔が拡大及び縮小する方向に弾性変形可能な一対の脚部とを一体に有し、
各脚部が、前記取付孔への挿入方向とは反対の方向で前記取付孔の縁と係合可能な一組の外脚と、スリットを介して前記一組の外脚間に配置され、前記取付孔への挿入方向及びその反対方向で前記クリップ保持部と係合可能な爪部を有する内脚とを備え、
前記取付孔に挿入された状態で前記取付孔から抜き取るための抜去力が作用したとき、前記内脚が前記取付孔の内壁面に干渉することにより、前記クリップ保持部に対する前記爪部の係合状態が維持されることを特徴とするクリップ。
続きを表示(約 1,600 文字)
【請求項2】
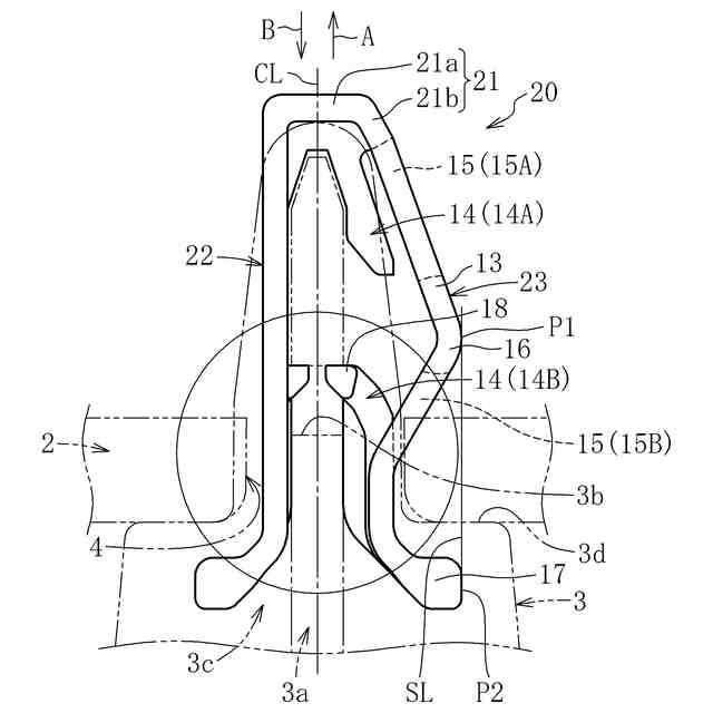
前記脚部が、前記一組の外脚をその長手方向の途中部分で連結する第1連結部を有し、
前記スリットが、第1スリットと、この第1スリットよりも前記頭部から離れた位置に配置される第2スリットとに分割されている請求項1に記載のクリップ。
【請求項3】
前記頭部が、前記取付孔への挿入方向と直交する方向に延びる平坦部と、前記取付孔への挿入方向に対して傾斜し、前記平坦部と前記一対の脚部を接続した一対の側部とを一体に有し、
前記第1スリットのうち前記頭部側の端部が、前記脚部と前記側部の接続点上に配置されている請求項2に記載のクリップ。
【請求項4】
前記内脚として、前記第1スリットを介して前記一組の外脚間に配置され、前記クリップ保持部の先端を拘束可能な第1内脚と、前記第2スリットを介して前記一組の外脚間に配置され、前記取付孔の内壁面との干渉面及び前記爪部を有する第2内脚とが設けられている請求項2又は3に記載のクリップ。
【請求項5】
前記脚部が、前記一組の外脚を前記頭部の反対側の端部で連結する第2連結部を有し、
前記第1連結部のうち前記脚部の弾性変形方向で最も外側に位置する部分と、前記第2連結部のうち前記脚部の弾性変形方向で最も外側に位置する部分とを接続する直線が、クリップの中心線と平行に延びている請求項2又は3に記載のクリップ。
【請求項6】
前記クリップ保持部に保持された状態で、前記一対の脚部のうち前記頭部とは反対側の端部を前記一対の脚部の対向間隔が縮小する方向に加圧することにより、前記クリップ保持部に対する前記爪部の係合代が小さくなる請求項1に記載のクリップ。
【請求項7】
第1部材のクリップ保持部に保持された状態でパネル状の第2部材に設けられた取付孔に挿入されることにより、前記第1部材を前記第2部材に対して分離可能に取り付ける樹脂製のクリップであって、
前記取付孔への挿入を案内する頭部と、前記取付孔への挿入方向に延びた第1脚部と、前記クリップ保持部を挟んで前記第1脚部と対向し、前記第1脚部との対向間隔が拡大及び縮小する方向に弾性変形可能な第2脚部とを一体に有し、
前記第2脚部が、前記取付孔への挿入方向とは反対の方向で前記取付孔の縁と係合可能な一組の外脚と、スリットを介して前記一組の外脚間に配置され、前記取付孔への挿入方向及びその反対方向で前記クリップ保持部と係合可能な爪部を有する内脚とを備え、
前記取付孔に挿入された状態で前記取付孔から抜き取るための抜去力が作用したとき、前記内脚が前記取付孔の内壁面に干渉することにより、前記クリップ保持部に対する前記爪部の係合状態が維持されることを特徴とするクリップ。
【請求項8】
前記第2脚部が、前記一組の外脚をその途中部分で連結する第1連結部を有し、
前記スリットが、第1スリットと、この第1スリットよりも前記頭部から離れた位置に配置される第2スリットとに分割されている請求項7に記載のクリップ。
【請求項9】
前記頭部が、前記取付孔への挿入方向と直交する方向に延びる平端部と、前記取付孔への挿入方向に対して傾斜し、前記平坦部と前記第2脚部を接続した側部とを一体に有し、
前記第1スリットのうち前記頭部側の端部が、前記第2脚部と前記側部の接続点上に配置されている請求項8に記載のクリップ。
【請求項10】
前記内脚として、前記第1スリットを介して前記一組の外脚間に配置され、前記第1脚部と協働して前記クリップ保持部の先端を拘束可能な第1内脚と、前記第2スリットを介して前記一組の外脚間に配置され、前記取付孔の内壁面との干渉面及び前記爪部を有する第2内脚とが設けられている請求項8又は9に記載のクリップ。
(【請求項11】以降は省略されています)
発明の詳細な説明
【技術分野】
【0001】
本発明は、樹脂製のクリップに関し、詳しくは、第1部材をパネル状の第2部材に対して分離可能に取り付けるために使用する樹脂製のクリップに関する。
続きを表示(約 2,400 文字)
【背景技術】
【0002】
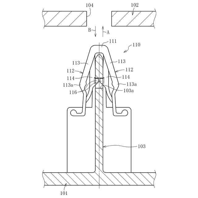
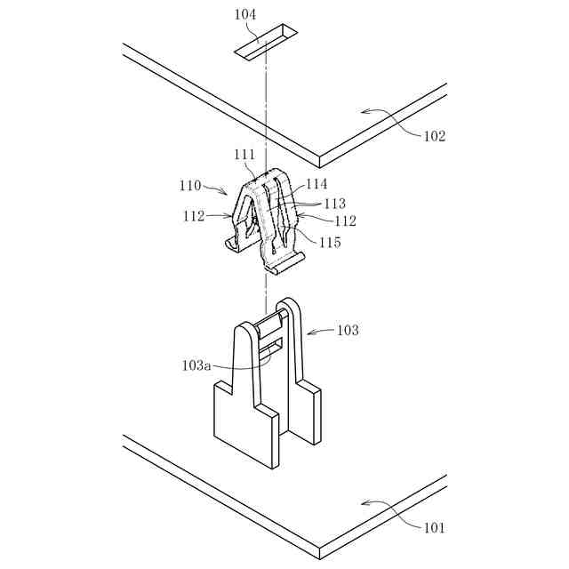
下記の特許文献1には、図8~図10に示すように、第1部材101をパネル状の第2部材102に取り付ける(第1部材101が第2部材102に取り付けられたアセンブリを得る)ために使用される樹脂製のクリップ110が記載されている。このクリップ110は、第1部材101のクリップ保持部103に保持(装着)された状態で第2部材102に設けられた取付孔(長方形状の開口部を有する取付孔)104に挿入されることにより、第1部材101を第2部材102に対して分離可能に取り付ける。
【0003】
クリップ110は、取付孔104への挿入を案内する頭部111と、クリップ保持部103を挟んで対向配置され、対向間隔が拡大及び縮小する方向に弾性変形可能な一対の脚部112,112とを一体に有する。各脚部112は、取付孔104の長辺方向(図9-10においては紙面と直交する方向)に間隔を空けて設けられた一組の外脚113と、スリット115を介して一組の外脚113の間に配置された内脚114とを備える。各外脚113は、取付孔104の外側に向けて張り出した張り出し部113aを有し、各内脚114は、取付孔104の内側に向けて突出した爪部116を有する。
【0004】
上記の構成を有するクリップ110は、各外脚113が取付孔104への挿入方向Aとは反対の方向(取付孔104からの抜き取り方向)Bで第2部材102に設けた取付孔104の縁と係合することにより第2部材102に取り付けられると共に、各内脚114の爪部116が取付孔104への挿入方向A及びその反対方向Bでクリップ保持部103(に設けた孔部103aの縁)と係合することによりクリップ保持部103に保持される。係る構成により、第1部材101がクリップ110を介して第2部材102に取り付けられる。なお、取付孔104に挿入されたクリップ110に対し、これを取付孔104から抜き取るための抜去力を作用させると、各外脚113が取付孔104の縁に倣って弾性変形することで一対の外脚113の対向間隔が縮小する。これにより、各外脚113と第2部材102の係合力が弱まるので、クリップ110を取付孔104から抜き取り、第1部材101と第2部材102を分離することが可能となる。
【0005】
以上で説明したクリップ110は、例えば、第1部材101としての自動車の内装部材を、「インパネ」とも称される第2部材102としての自動車のインストルメントパネルに対して分離可能に取り付けるために使用される。この場合、例えば、インストルメントパネルへのナビゲーション機器やオーディオ機器の組み込み作業や、これら機器の交換作業を効率良く実施することが可能になる。
【先行技術文献】
【特許文献】
【0006】
特開2013-44391号公報
【発明の概要】
【発明が解決しようとする課題】
【0007】
しかしながら、第1部材101としての内装部材を第2部材102としてのインストルメントパネルから分離させる際、クリップ110が取付孔104から抜き取られるよりも先にクリップ110がクリップ保持部103から外れてしまい、クリップ110が第2部材102側に残留するケースが散見されている。クリップ110が第2部材102側に残留したままだと、第1部材101を第2部材102に対して精度良く再取り付けすることが難しくなるので、クリップ110を第2部材102から取り外し、取り外したクリップ110を第1部材101のクリップ保持部103に再度装着させる必要が生じるため、作業効率が低下する。
【0008】
そこで、本発明の主な目的は、第1部材をパネル状の第2部材に対して分離可能に取り付けた樹脂製のクリップに対し、これを第2部材に設けた取付孔から抜き取るための抜去力が作用した場合でも、第1部材(のクリップ保持部)に保持された状態を維持することができるクリップを実現することにある。
【課題を解決するための手段】
【0009】
上記の目的を達成するために創案された本願の第1発明は、第1部材のクリップ保持部に保持された状態でパネル状の第2部材に設けられた取付孔に挿入されることにより、第1部材を第2部材に対して分離可能に取り付ける樹脂製のクリップであって、
上記取付孔への挿入を案内する頭部と、上記クリップ保持部を挟んで対向配置され、対向間隔が拡大及び縮小する方向に弾性変形可能な一対の脚部とを一体に有し、
各脚部が、上記取付孔への挿入方向とは反対方向で上記取付孔の縁と係合可能な一組の外脚と、スリットを介して一組の外脚間に配置され、上記取付孔への挿入方向及びその反対方向で上記クリップ保持部と係合可能な爪部を有する内脚とを備え、
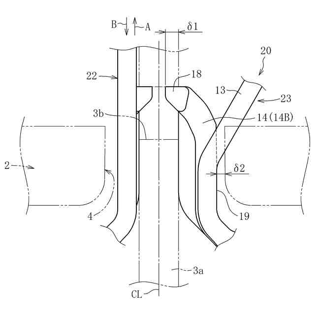
上記取付孔に挿入された状態で上記取付孔から抜き取るための抜去力が作用したとき、上記内脚が上記取付孔の内壁に干渉することにより、上記クリップ保持部に対する爪部の係合状態が維持されることを特徴とする。
【0010】
上記の構成を有する第1発明に係るクリップによれば、これに抜去力が作用したときには、爪部を有する内脚が取付孔の内壁に干渉することにより、第1部材のクリップ保持部に対して爪部が係合した状態、すなわちクリップ保持部に保持された状態を維持することができる。これにより、クリップを用いて第2部材に取り付けられた第1部材を分離する際に、クリップが第2部材側に残留し難くなるので、第2部材からの第1部材の分離、及び第2部材に対する第1部材の再取付を簡便かつ迅速に実施することができる。
(【0011】以降は省略されています)
この特許をJ-PlatPat(特許庁公式サイト)で参照する
関連特許
他の特許を見る