TOP
|
特許
|
意匠
|
商標
特許ウォッチ
Twitter
他の特許を見る
公開番号
2025070949
公報種別
公開特許公報(A)
公開日
2025-05-02
出願番号
2024103908
出願日
2024-06-27
発明の名称
ガスリフトと真空の組み合わせによる深層軟土の効率的な予圧処理方法
出願人
浙江工業大学
代理人
TRY国際弁理士法人
主分類
E02D
3/00 20060101AFI20250424BHJP(水工;基礎;土砂の移送)
要約
【課題】ガスリフトと真空の組み合わせによる軟弱地盤の効率的な予圧処理方法及びそれに基づく工事の実現方法が提供される。
【解決手段】排水板の底部から特定の圧力及び流速のガスを通気し、これによって、正圧力のガスが排水板の板芯に沿って上に流動し、その流動の過程において板芯内の水を運んで上に排水板から排出することができる。水が全部排出された後、真空度はガス環境中のみで伝達されるため、減衰せずに板底に伝達され得る。真空度が-80~-90kPaで安定するときに、空気圧縮機を間欠的に起動して通気し、ガスリフト原理により排水板内の水を完全に排出し、これによって、排水を促進しながら真空圧力を減衰せずに深部へ伝達する目的が達成される。
【選択図】図8
特許請求の範囲
【請求項1】
高含水量流動泥、汚泥地盤及び深厚軟弱地盤の排水予圧処理に使用される、ガスリフトと真空の組み合わせによる軟弱地盤の効率的な予圧処理方法であって、
前記予圧処理方法は、下記のステップを含み、
ステップ(1):ガスリフト原理を真空予圧に適用し、排水板の底部から特定の圧力及び流速のガスを通気し、これによって、正圧力のガスが排水板の板芯に沿って上に流動し、その流動の過程において板芯内の水を運んで上に排水板から排出し、
ステップ(2):ガスリフトにより板芯内における水が全部排出された後、直ちに停止し、板芯はガスで充填されている状態にあり、排水板のヘッドに接続される真空ポンプにより板芯内のガスを継続的に吸い出し、これによって、板芯内のガスは迅速に吸い出され、真空度は、ヘッドから板底にほぼ減衰せずに伝達可能であり、
ステップ(3):排水板の全長範囲の高真空度を実現することによって、排水板の打設深度範囲内の土体は全て高真空圧密圧力下にあることができ、深部土体の排水圧密が促進され、
ステップ(4):1回目のガスリフトが完成した後、板芯真空圧力下で、土体隙間水は排水板の濾過膜を通じて板芯内へ集まり続けることで、再び水で充満するまで板芯内の水位が徐々に上昇し、このとき、ガスリフトを再度行い、板芯内の水を全て排水板外へ再度排出し、このように、排水板の全長範囲内での高真空度排水圧密が再開することを特徴とする、予圧処理方法。
続きを表示(約 1,200 文字)
【請求項2】
前記ステップ(1)において、排水板の板底から通気してガスリフトする際に、排水板ヘッドに接続される真空ポンプによりガスを吸い出し続けることによって、板芯内の水が底部ガスの正圧力による押し上げ及び頂部の真空負圧力による牽引作用を受け、板芯内の水が排水板の全長にわたって迅速に排出されることを特徴とする、請求項1に記載の予圧処理方法。
【請求項3】
前記ステップ(3)及びステップ(4)において、水が全部排出された後、真空度はガス環境中のみで伝達されるため、減衰せずに板底に伝達され、土体圧密の境界条件は真空度の効率的な伝達により改善され、土中間隙圧と排水板内の圧力との圧力差が増加し、これによって、土中水の浸透流速度が速くなり、軟土の真空予圧処理の効率が向上することを特徴とする、請求項1に記載の予圧処理方法。
【請求項4】
下記のステップを含む、請求項1に記載の予圧処理方法に基づく工事の実現方法であって、
ステップ1:排水板の両端にそれぞれ手型コネクタが接続されるように、排水板を改造し、
ステップ2:圧力ガス管路は底部コネクタに接続され、排水板と共に軟弱地盤中に打設され、管路先は、地面でガスリフト正圧管路となるように接続され、
ステップ3:真空管路通は、頂部コネクタにより排水板に接続され、管路先は、地面で真空負圧管路となるように接続され、
ステップ4:ジオテキスタイル及びジオメンブレンを敷設して密封し、
ステップ5:圧力ガス管路及び真空管路をそれぞれ空気圧縮機及び真空ポンプに接続し、
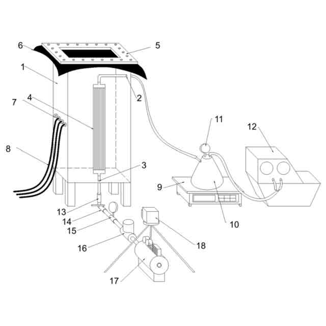
ステップ6:設備を起動して施工を行い、真空度が-80~-90kPaで安定したときに、空気圧縮機を間欠的に起動して送気ガスリフトを行うことを特徴とする、工事の実現方法。
【請求項5】
ニューマダクトにより排水板の底部接続口を空気圧縮機に接続してガスリフト正圧力ガス通路を形成することを特徴とする、請求項4に記載の工事の実現方法。
【請求項6】
前記排水板の底部接続口及びニューマダクトは、排水板を插入する前に既に接続されており、これによって、排水板を軟土に挿入する前後にいずれも注入ガス通路が保持されることを特徴とする、請求項5に記載の工事の実現方法。
【請求項7】
ガスリフト正圧力ガス通路を複数回使用してガスリフト操作を行うことにより排水板の板芯における水の排出を促進することができ、ガスリフト操作の間隔は6時間/回~48時間/回であり、ガスリフトの時間間隔の選択は、前回ガスリフト後の排水板内の水位の上昇速度、排水板頂部と底部の真空勾配の形成速度、排水板周囲の土体隙間水圧力の変化に関係があることを特徴とする、請求項5に記載の工事の実現方法。
発明の詳細な説明
【技術分野】
【0001】
本発明は、地盤工学の技術分野に関し、特に、ガスリフトと真空の組み合わせによる深層軟土の効率的な予圧処理方法及びそれに基づく工事の実現方法に関する。
続きを表示(約 4,100 文字)
【背景技術】
【0002】
効率的に経済的な軟弱地盤と吹付け塗りの超軟質土地の処理方法として、真空予圧技術は沿岸沿いの地域に広く応用されている。施工時には、通常、土にプラスチックの排水板を設置し、その後、土体の表面にジオメンブレンを敷設して密閉空間を形成する。真空ポンプの作用下で、ジオメンブレンの下の真空圧力(工事において85kPaに達することができる)は、排水板に沿って土中の径方向に伝達して安定圧力場を形成し、軟土の浸透固着を促進する。土壌中の水が排水通路に進入した後、下から上へ地盤から排出され、最終的に土体の排水固着を促進し、土体の強度を向上させる効果を達成する。
【0003】
以上から分かるように、土体の浸透圧密過程は、真空圧力によって大きく制御され、その大きさと分布は、土体の浸透固着速度と最終的な補強効果を制御している。しかし、従来の研究及び工事において、排水板内に連続的な流動水が存在するため、真空度が排水板に沿って顕著な減衰効果を有することが発見された
(例えば、排水板の深さが1m延び、真空負の圧力が5-10kPa低下する)。この効果は浅層軟土真空予圧(処理深さ6m以内)処理への悪影響は相対的に限られているが、処理対象が深厚軟土(処理深さが10m以上)であると、深層土体の処理効果に大きく影響する。したがって、深層軟土真空予圧効果を効果的に向上させることができる処理方法が求められている。
【0004】
採鉱、浚渫工事では、通常ガスリフトにより個体、液体をリフトアップ(CN110630226A、CN105775752A)する。その方法は、上昇通路の底部に圧縮空気を注入して入口における流体密度を減少させ、差圧によって、標的(例えば、スラグ又はスラッジ)を鉛直上方に移動させる。従来のガスリフト通路の頂部出口は一般的に大気圧であり、ガスリフト通路の底部から注入された高圧ガスのみによって差圧を形成し、大量の固体液体の引き上げを完了する。真空予圧過程において、通路頂部の出口が真空負圧であり、ガスリフト通路の頂部と底部の圧力差がより大きいため、ガスリフトと真空との組み合わせにより排水板内の水を完全に排出する方法は、上記従来の方法と大きく異なる。また、ガスリフトと真空との組み合わせのガスリフト通路は透水縦通路(例えば、プレキャスト排水板又は袋入り砂井;その側壁が透水)であり、これは、従来のガスリフト方法の密封管路(例えば、鋼管、可撓管等)と著しく異なる。
【0005】
上記した真空予圧及びガスリフトの特徴を総合的に考慮すると、頂部の全行程に真空負圧が作用すると、正圧力のガスが排水板の板芯に沿って上方に流動し、その流動過程において、板芯内の水を持ち出し、最終的に排水板を空にする。ガスリフトが終了した瞬間、板内はガス充填状態にあるが、通路頂部の真空ポンプの継続的な吸引では、ガスが速やかに吸い出される。通路の側壁が透水であることにより、周囲の液体が通路内に再集積されるが、この過程は、軟土の低浸透性に制御されて十分に遅い。これにより、ガスリフトが終了した後に通路内の真空度をほとんど減衰させることなく、板のヘッドから板底に伝達することができる。明らかなように、ガスリフトと真空の組み合わせにより、排水板の全深さの範囲内の真空圧密圧力を効果的に向上させることができ、周囲土体の排水の固結が顕著になり、パネル内の真空度の垂直減衰問題を効果的に解決することができる。現在、ガスリフトと真空の組み合わせによる軟弱地盤予圧処理に関連する特許又は論文はない。
【0006】
軟弱地盤の処理方法において、特許CN104895046A、特許CN106677156A及び特許CN109653186Aは、高圧ガス又は高圧エアロゾルを用いて軟土を擾乱する方法を提案している。特製導管によって高圧の撹拌媒体を土中で回転噴射し、圧力の作用下で土中に螺旋状又は円錐形状の撹拌面/体を形成し、水平排水通路を増加させて、土体の浸透係数を向上させる。論文「アクティブ排水の固結法・ガスリフト効果モデル試験研究」(DOI:10.16285/j.rsm.2020.1645)には、以上の特許の実施において、高圧ガス/エアロゾルが土体において切断作用を発揮した後、縦方向排水通路を介して上方に排出され、その中の水を地面まで急速に持ち運んで、採鉱、浚渫工事におけるガスリフト効果と類似することが記載されている。なお、上記論文におけるエアベント効果は、高圧擾乱時に生じる付加的な効果である。以上の3つの特許及び論文は、主に高圧媒体を利用して乱流土体を切断し、直接排水通路内で通気を行うことではなく、ガスリフト後の真空圧密圧力が顕著に改善される効果に注目していない。上記3つの特許に必要な設備が多く、従来の真空予圧関連装置に加えて、高圧回転噴射設備が必要であり、且つ処理される場所に回転噴射孔を有する媒体配管を追加する必要がある。本発明で提供される、ガスリフトと真空の組み合わせによる軟弱地盤の効率的な予圧処理方法は、排水通路から底部に正圧ガスを直接注入し、通路内の水を一度に排出した後、頂から底まで減衰しない高真空環境を作り出すことで、排水通路の全深さ範囲の土体圧密効果を効果的に向上させ、上記3つの特許(CN104895046A、CN106677156 A及びCN109653186A)と顕著に異なる。
【0007】
排水板自体は、流通性に優れた縦方向排水通路であり、浸透性が悪い軟接着剤で囲まれた後、直接、排水板に高圧ガスを注入して、ガスリフトにおける配管の作用を発揮させることができるため、ガスリフト方法を実施することは可能である。これに基づいて、本発明は、ガスリフトと真空の組み合わせによる軟弱地盤の効率的な予圧処理方法を提供する。この方法では、排水板の底部から特定の圧力及び流速のガスを通気し、板芯内の水が底部のガスの正圧力による押し上げ及び頂部の真空負圧力による牽引作用を受け、全長にわたって板芯内の水を迅速に排出し、高圧ガスの効果を優先的に実現する。排水板に流動水が存在しない場合、排水板ヘッドに接続される真空ポンプは、板芯内の板芯を吸引し続けることにより、真空度をほとんど減衰させることなく、板ヘッドから板底に伝達することができ、固着排水の境界条件が顕著に改善される。既存の特許と比較して、本発明の主な目的は、土体の深いところへの真空圧力の伝達を促進することである。排水板に送気してガスリフト効果を実現しようとする場合、排水板をニューマダクトに接続すればよい。排水板は真空圧力を深部に伝えることができるため、排水の深さが限られていても深部の境界条件には改善効果がある。
【0008】
本発明は、室内モデル試験により上記の説明を証明した。試験結果は、ガスリフト前の排水板の頂部と底部の圧力に差があることを示している。板内の水を一気に排気して排出した後、底部の真空度が急激に上昇し、頂部とほぼ一致する。この条件において、板芯において深さにわたって頂部の最大真空圧力である。土中水が絶えず板芯に浸透し続けるにつれて、板内の真空度がガスリフト前の状態に回復する。完全に排出した後に集水する過程において、土中の浸透速度は減衰のない高真空度の圧力で改善されて上昇するので、送気後の土中浸透固着が顕著に速くなる。土中間隙圧は明らかに急激に低下する。ガスリフトにより排水板の水を完全に排出することにより、真空圧力を減衰せずに底部に伝達することができ、軟土の浸透固着の速度を速めることができることを示している。
【0009】
試験により、ガスリフトの作動原理に従って、排水板に適量且つ連続的な圧縮空気を注入することにより、排水板内の水を完全に排出し、真空圧力が効率的に下へ伝達することを促進する目的が実現され、軟弱地盤の圧密沈降の速度を効果的に向上させることが証明されている。本発明の方法は、排水板の底部に外部空気圧縮機を接続するコネクタを増設すればよいため、取り付けが簡単である。送気ガスリフトは極めて短時間で完了することができ、機械設備の運転負担が低く、運営コストが低く、信頼性が高く、また工事利益と経済効果を有する施工方法である。
【発明の概要】
【0010】
本発明の第1態様では、高含水量流動泥、汚泥地盤及び深厚軟弱地盤の排水予圧処理に使用される、ガスリフトと真空の組み合わせによる軟弱地盤の効率的な予圧処理方法であって、
前記予圧処理方法は、下記のステップを含み、
ステップ(1):ガスリフト原理を真空予圧に適用し、排水板の底部から特定の圧力及び流速のガスを通気し、これによって、正圧力のガスが排水板の板芯に沿って上に流動し、その流動の過程において板芯内の水を運んで上に排水板から排出し、
ステップ(2):ガスリフトにより板芯内における水が全部排出された後、直ちに停止し、板芯はガスで充填されている状態にあり、排水板のヘッドに接続される真空ポンプにより板芯内のガスを継続的に吸い出し、これによって、板芯内のガスは迅速に吸い出され、真空度は、ヘッドから板底にほぼ減衰せずに伝達可能であり、
ステップ(3):排水板の全長範囲の高真空度を実現することによって、排水板の打設深度範囲内の土体は全て高真空圧密圧力下にあることができ、深部土体の排水圧密が促進され、
ステップ(4):1回目のガスリフトが完成した後、板芯真空圧力下で、土体隙間水は排水板の濾過膜を通じて板芯内へ集まり続けることで、再び水で充満するまで板芯内の水位が徐々に上昇し、このとき、ガスリフトを再度行い、板芯内の水を全て排水板外へ再度排出し、このように、排水板の全長範囲内での高真空度排水圧密が再開する予圧処理方法が提供される。
(【0011】以降は省略されています)
この特許をJ-PlatPat(特許庁公式サイト)で参照する
関連特許
浙江工業大学
多機能土柱モデル装置及び使用方法
2か月前
浙江工業大学
固体担持型マンガン触媒及びその製造方法並びに使用方法
10か月前
浙江工業大学
固体リチウム電池のその場電気化学的不動態化及び修復方法
5か月前
浙江工業大学
二重らせん構造の録音と再生のためのスケジューリング方法
8か月前
浙江工業大学
縮合環カルバゾール四座金属白金(II)錯体及びその使用
9か月前
浙江工業大学
同位体酸素で構築された酸化物正極材料、その製造方法、及び使用
4か月前
浙江工業大学
ガスリフトと真空の組み合わせによる深層軟土の効率的な予圧処理方法
7か月前
浙江工業大学
四座シクロメタル化白金(II)錯体、電子デバイス及びそれらの応用
10か月前
浙江工業大学
多孔質アルミナ支持体に基づく高応答感度の触媒燃焼式水素センサの製造方法
11か月前
浙江工業大学
[2.2]-パラシクロファンに基づく金属(II)錯体、電子部品、装置及びその使用
29日前
鹿島建設株式会社
接続方法
20日前
日本車輌製造株式会社
杭打機
今日
株式会社郷土開発
傾斜地の切土工法
19日前
ウエダ産業株式会社
アタッチメント
11日前
エポコラム機工株式会社
地盤改良装置
4日前
日立建機株式会社
建設機械
1か月前
日立建機株式会社
作業機械
1か月前
株式会社クボタ
作業機
19日前
日本車輌製造株式会社
建設機械
4日前
日立建機株式会社
建設機械
6日前
日本車輌製造株式会社
杭打機の表示システム
1か月前
ナブテスコ株式会社
ドーザブレード駆動機構
1か月前
セイコー機器株式会社
親綱支柱
今日
株式会社大林組
掘削支援装置及び掘削支援方法
13日前
株式会社大林組
免震構造及び免震構造の施工方法
1か月前
エポコラム機工株式会社
地盤改良装置及び地盤改良工法
4日前
エポコラム機工株式会社
地盤改良装置及び地盤改良工法
4日前
コベルコ建機株式会社
建設機械
6日前
ヤンマーホールディングス株式会社
作業機械
19日前
コベルコ建機株式会社
建設機械
6日前
ヤンマーホールディングス株式会社
作業機械
19日前
ジャパンパイル株式会社
基礎構造の設計方法及び基礎構造
6日前
個人
斜面保護構造、及び、斜面保護構造施工方法
1か月前
日本製紙株式会社
紙製ドレーン
13日前
住友重機械工業株式会社
作業機械用の遠隔操作システム
1か月前
鹿島建設株式会社
生態系環境改善部材及び生態系環境改善構造
1か月前
続きを見る
他の特許を見る