TOP
|
特許
|
意匠
|
商標
特許ウォッチ
Twitter
他の特許を見る
公開番号
2025070686
公報種別
公開特許公報(A)
公開日
2025-05-02
出願番号
2023181185
出願日
2023-10-20
発明の名称
車両側部構造
出願人
スズキ株式会社
代理人
個人
,
個人
,
個人
,
個人
,
個人
,
個人
主分類
B60R
5/04 20060101AFI20250424BHJP(車両一般)
要約
【課題】車両の荷室に配置されるデッキボードの支持をより安定させる。
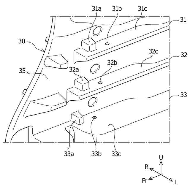
【解決手段】車両側部構造は、車体側部を構成する車体構造体3,5と、車体構造体3,5の内側に、横置きに配置されたデッキボード10と、を有する。車両側部構造は、デッキボード10の移動を規制する規制構造を有し、規制構造は、上下方向に延びる固定部材40と、車体構造体3に設けられ、固定部材40の下部がデッキボード10を介して係合するブラケットと、を有している。
【選択図】図1
特許請求の範囲
【請求項1】
車両側部に配置され、車体側部を構成する車体構造体と、
前記車体構造体の車両内側に、横置きに配置されたデッキボードと、
を有している、車両側部構造であって、
前記デッキボードの移動を規制する規制構造を有し、
前記規制構造は、
車両上下方向に延びる固定部材と、
前記車体構造体に設けられ、前記固定部材の下部が前記デッキボードを介して係合する係合部と、
を有していることを特徴とする、車両側部構造。
続きを表示(約 760 文字)
【請求項2】
前記固定部材は、前記デッキボードの上方側から前記デッキボードに当接する当接部を有し、
前記デッキボードは、前記当接部と、前記車体構造体の前記係合部とによって、挟持されていることを特徴とする、請求項1に記載の車両側部構造。
【請求項3】
前記車両側部は、前記固定部材に対して、車両前後方向に隣接して配置される係止部を有し、
前記係止部及び前記デッキボードの側部のうち、一方には車幅方向に突出する凸部が設けられ、他方には前記凸部が係合する凹部が設けられていることを特徴とする、請求項1に記載の車両側部構造。
【請求項4】
前記係止部は、車幅方向内側に突出する凸部であり、
前記デッキボードの側部には、前記凸部が挿入可能で、車幅方向内側に凹んでいる2つの凹部が設けられ、
2つの凹部は、車両前後方向に互いに間隔を空けて配置され、
前記2つの凹部の間に位置する前記デッキボードに、前記固定部材が係合していることを特徴とする、請求項3に記載の車両側部構造。
【請求項5】
前記固定部材は、車両上下方向に延びる円筒部を有し、
前記デッキボードの車幅方向外側部には、前記固定部材が貫通可能な貫通孔が形成され、
前記固定部材の前記当接部は、前記貫通孔の周囲に位置する前記デッキボードを上方から覆うように配置されていることを特徴とする、請求項2に記載の車両側部構造。
【請求項6】
前記貫通孔には、車両上下方向に延びる円環部材が挿入され、前記円環部材の内部に前記固定部材が挿入され、
前記当接部は、前記円環部材を上方から押圧可能に構成されていることを特徴とする、請求項5に記載の車両側部構造。
発明の詳細な説明
【技術分野】
【0001】
本発明は、車両側部構造に関する。
続きを表示(約 1,400 文字)
【背景技術】
【0002】
例えば乗員が着座するシートが配置される乗員室と、乗員室の後方側に配置される荷室とを有している車両が知られている。通常、荷室には、デッキボードが配置されている。荷室に配置されるデッキボードは、例えば、特許文献1に開示されるような構造が知られている。
【0003】
上記例の構造における荷室の車幅方向の両側部には、例えば内装部材等の側部材が配置されている。当該側部材には、車両室内に突出する支持部が設けられ、当該支持部は、車両前後方向に延びている。デッキボードの側部は、支持部に載置されている。また、デッキボードの前部は、シートの背面に当接可能であり、デッキボードの後部は、バックドア開口部の下部に当接している。
【先行技術文献】
【特許文献】
【0004】
特開2021-54255号公報
【発明の概要】
【発明が解決しようとする課題】
【0005】
ところが、上記例の構造では、デッキボードは、側部材に設けられた支持部に載置されているため、デッキボードが上下方向に移動することは規制されていない。また、デッキボードの前部は、シートに当接しているので、シートの背面をデッキボードが押し付けるように移動する可能性がある。
【0006】
また、上記例の荷室構造を有する車両では、後突等により衝撃荷重が作用すると、車体側部が外側に変形する場合がある。例えば、車両後部に、後方から衝撃荷重が作用すると、車両後部に配置される部材が、車両室内側(車両前方側)に向かって変形する場合がある。このとき、当該部材の変形に合わせて、車両側部に配置される例えばサイドボディアウタパネル等が車両外側(車幅方向外側)に変形する可能性がある。
【0007】
サイドボディアウタパネル等が車幅方向外側に変形すると、当該変形に伴い、インナパネルや、側部材等の内装部材も、車幅方向外側に変形する可能性がある。このような場合、デッキボードが側部材の支持部に載置される状態を維持できなくなる可能性がある。そのため、上記例の構造では、デッキボードを荷室の側部に安定して支持しようとする上で、改善の余地があった。
【0008】
本発明は上記課題を解決するためになされたものであって、その目的は、車両の荷室に配置されるデッキボードの支持をより安定させることが可能な車両側部構造を提供することである。
【課題を解決するための手段】
【0009】
上記目的を達成するための本発明に係る車両側部構造は、車両側部に配置され、車体側部を構成する車体構造体と、前記車体構造体の車両内側に、横置きに配置されたデッキボードと、を有している、車両側部構造であって、前記デッキボードの車幅方向の移動を規制する規制構造を有し、前記規制構造は、車両上下方向に延びる固定部材と、前記車体構造体に設けられ、前記固定部材の下部が前記デッキボードを介して係合する係合部と、を有している。
【発明の効果】
【0010】
本発明によれば、車両の荷室に配置されるデッキボードの支持をより安定させることが可能となる。
【図面の簡単な説明】
(【0011】以降は省略されています)
この特許をJ-PlatPat(特許庁公式サイト)で参照する
関連特許
他の特許を見る