TOP
|
特許
|
意匠
|
商標
特許ウォッチ
Twitter
他の特許を見る
10個以上の画像は省略されています。
公開番号
2025062969
公報種別
公開特許公報(A)
公開日
2025-04-15
出願番号
2023172393
出願日
2023-10-03
発明の名称
台車
出願人
マルイチエクソム株式会社
代理人
個人
主分類
B62B
3/16 20060101AFI20250408BHJP(鉄道以外の路面車両)
要約
【課題】積層しても安定感のある台車(スタッキング台車)を提供すること
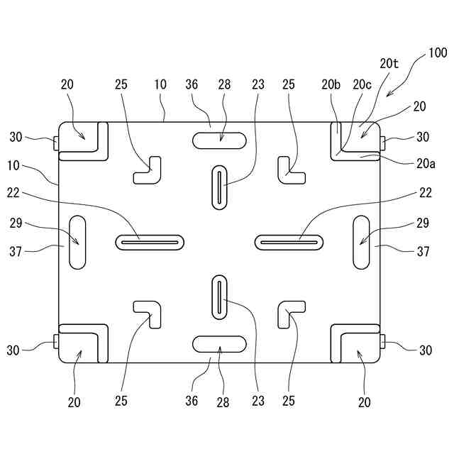
【解決手段】本発明のスタッキング台車200は、台車100が積み重なったものである。台車100は、台車本体部10と、その下面14の四隅に取り付けられたキャスター30とを備えている。台車本体部10の上面11には、四隅に対応する位置において、他の台車のキャスター30を収納するキャスター収納凹部20が設けられている。台車本体部10の上面11には、嵌合凹部25が設けられ、台車本体部10の下面14には、嵌合凸部26が設けられている。台車本体部10が積層された構造において、嵌合凸部26は、嵌合凸部26に挿入され、かつ、上段に配置される台車本体部10のキャスター30の下端30bと、キャスター収納凹部20の上面20tとの間には、隙間(S)が生じた状態となっている。
【選択図】図2
特許請求の範囲
【請求項1】
台車が積み重なったスタッキング台車であって、
前記台車は、
台車本体部と、
前記台車本体部の下面の四隅に取り付けられたキャスターと
を備え、
前記台車本体部の上面には、前記四隅に対応する位置において、上段に配置される台車本体部の下面に取り付けられたキャスターを収納するキャスター収納凹部が設けられており、
前記台車本体部の前記上面には、嵌合凹部が設けられており、
前記上段に配置される台車本体部の下面には、嵌合凸部が設けられており、
前記台車本体部と前記上段に配置される台車本体部とが積層された構造において、
前記上段に配置される台車本体部における前記嵌合凸部は、前記台車本体部における前記嵌合凹部に挿入され、かつ、
前記上段に配置される台車本体部における前記キャスターの下端と、前記台車本体部における前記キャスター収納凹部の上面との間には、隙間が生じた状態となる、スタッキング台車。
続きを表示(約 1,600 文字)
【請求項2】
前記スタッキング台車は、少なくとも4つの台車が積み重なった構造をしており、
前記少なくとも4つの台車のそれぞれは、同一の構造を有している、請求項1に記載のスタッキング台車。
【請求項3】
前記台車本体部の前記上面は、荷物を載せる荷台面であり、
前記台車本体部は、上からみたときに、長方形の形状を有しており、
前記長方形の四辺のそれぞれに取っ手が存在している、請求項1に記載のスタッキング台車。
【請求項4】
前記取っ手は、前記台車本体部の外縁部に形成された貫通孔によって形成されている、請求項3に記載のスタッキング台車。
【請求項5】
前記嵌合凹部および前記嵌合凸部は、互いに嵌合するL字形状を有しており、
前記嵌合凹部および前記嵌合凸部の組み合わせは、1つの前記台車本体部に4つ形成されている、請求項1に記載のスタッキング台車。
【請求項6】
前記台車本体部は、ブロー成形で形成されており、
前記台車本体部には、当該台車本体部の前記上面と前記下面とを接続する接続凹部が形成されており、
前記台車本体部の前記下面には、ブロー成形における吹き込み針の挿入跡が複数形成されている、請求項1に記載のスタッキング台車。
【請求項7】
前記台車本体部は、上から見て、対称形の構造を有しており、
前記台車本体部は、中空構造を有しており、
前記台車本体部の前記上面と前記下面の間の距離の誤差は0.5mm以下である、請求項1から6の何れか一つに記載のスタッキング台車。
【請求項8】
積層可能な台車であって、
前記台車は、
台車本体部と、
前記台車本体部の下面の四隅に取り付けられたキャスターと
を備え、
前記台車本体部の上面には、前記四隅に対応する位置において、前記台車本体部の上に積層される他の台車のキャスターを収納するキャスター収納凹部が設けられており、
前記台車本体部の前記上面には、嵌合凹部が設けられており、
前記台車本体部の前記下面には、前記嵌合凹部に嵌合可能な形状を有する嵌合凸部が設けられており、
前記台車と、その上に積層される他の台車とが積層された構造において、
前記他の台車における前記嵌合凸部は、前記台車における前記嵌合凹部に挿入され、かつ、
前記他の台車における前記キャスターの下端と、前記台車における前記キャスター収納凹部の上面との間には、隙間が生じた状態となる、台車。
【請求項9】
前記台車本体部の前記上面は、荷物を載せる荷台面であり、
前記台車本体部は、上からみたときに、長方形の形状を有しており、
前記台車本体部は、中空構造を有しており、
前記長方形の四辺のそれぞれに取っ手が存在しており、
前記嵌合凹部および前記嵌合凸部は、L字形状を有しており、
前記嵌合凹部および前記嵌合凸部の組み合わせは、1つの前記台車本体部に4つ形成されている、請求項8に記載の台車。
【請求項10】
前記台車本体部は、ブロー成形で形成されており、
前記台車本体部には、当該台車本体部の前記上面と前記下面とを接続する接続凹部が形成されており、
前記台車本体部の前記下面には、ブロー成形における吹き込み針の挿入跡が複数形成されており、
前記台車本体部は、上から見て、対称形の構造を有しており、
前記台車本体部の前記上面と前記下面の間の距離の誤差は0.5mm以下である、請求項8または9に記載の台車。
(【請求項11】以降は省略されています)
発明の詳細な説明
【技術分野】
【0001】
本発明は、台車に関し、特に、鉛直方向に積層可能な台車に関する。
続きを表示(約 1,800 文字)
【背景技術】
【0002】
荷物の運搬においては、台車(運搬台車)を用いると非常に便利である。台車は、通常、木製の板の下にキャスターが設けられており、そのキャスターによって、台車の板の上に載せた荷物をスムーズに運搬することができる。工場などでは複数の台車を使用することが多い。台車を使用していないときには、個々の台車を積み重ねて片付けたいが、重ねると不安定になるとともに、キャスターの出っ張りが邪魔になって、収納スペースが無駄に取られてしまうことが多い。
【0003】
台車の中には、垂直方向に積層することができるものがある(例えば、特許文献1参照)。図12は、特許文献1に開示されている台車(スタック型台車)1000を示している。図12に示した台車1000は、荷台110の下に車輪(キャスター)130が取り付けられた構造をしている。荷台110の上面には、溝部(車輪収納部)120が設けられている。このような構造をしていることにより、複数の台車1000を積み重ねることができる。具体的には、1台目(下側)の台車1000の荷台110に2台目(上側)の台車1000を載せた場合、2台目(上側)の台車1000の車輪130を、1台目(下側)の台車1000の溝部(車輪収納部)120に収納させることができる。このようにして、複数の台車1000を積み重ねることができる。
【先行技術文献】
【特許文献】
【0004】
特開2017-190110号公報
【発明の概要】
【発明が解決しようとする課題】
【0005】
本発明者は、台車(運搬台車)をどのように収納したらよいか日々検討を重ねていた。台車は、車輪(キャスター)があることでその有用性を発揮するものである。そのキャスターがスムーズに回転することで楽に荷物を運搬できるため、キャスターを積み重ねると不安定になるのは当たり前である。ブレーキ付きのキャスターもあるが、いちいち、ブレーキをオン/オフするのは手間がかかり、実用的ではない。
【0006】
図12に示した台車1000では、2台目(上側)の台車1000の車輪130を、1台目(下側)の台車1000の溝部(車輪収納部)120に収納させるものであるが、2台目(上側)の台車1000の車輪130が1台目(下側)の荷台110(溝部120)に接するものであるので、実際にはガタガタして不安定なものである。2台の台車1000の積層であれば、ガタガタしても許容できるが、この台車1000を、5台以上、特に10台以上積層することは車輪のガタガタが影響して難しいとともに、そのような積層状態は不安定であるので危ない。
【0007】
本願発明者はそのような検討を行う中で、鋭意検討した結果、新しいアプローチで新たな構造を持った台車(積層可能な台車、スタッキング台車)を思いつき、本発明に至った。
【0008】
本発明はかかる点に鑑みてなされたものであり、その主な目的は、積層しても安定感のある台車(スタッキング台車)を提供することにある。
【課題を解決するための手段】
【0009】
本発明に係るスタッキング台車は、台車が積み重なったものであり、前記台車は、台車本体部と、前記台車本体部の下面の四隅に取り付けられたキャスターとを備えている。前記台車本体部の上面には、前記四隅に対応する位置において、上段に配置される台車本体部の下面に取り付けられたキャスターを収納するキャスター収納凹部が設けられている。前記台車本体部の前記上面には、嵌合凹部が設けられている。前記上段に配置される台車本体部の下面には、嵌合凸部が設けられている。前記台車本体部と前記上段に配置される台車本体部とが積層された構造において、前記上段に配置される台車本体部における前記嵌合凸部は、前記台車本体部における前記嵌合凹部に挿入され、かつ、前記上段に配置される台車本体部における前記キャスターの下端と、前記台車本体部における前記キャスター収納凹部の上面との間には、隙間が生じた状態となる。
【0010】
ある好適な実施形態において、前記スタッキング台車は、少なくとも4つの台車が積み重なった構造をしている。前記少なくとも4つの台車のそれぞれは、同一の構造を有している。
(【0011】以降は省略されています)
この特許をJ-PlatPat(特許庁公式サイト)で参照する
関連特許
個人
カート
4か月前
個人
走行装置
5か月前
個人
三輪バイク
28日前
個人
電動走行車両
5か月前
個人
駐輪設備
2か月前
個人
閂式ハンドル錠
5か月前
個人
自転車用歩数計
1か月前
個人
ボギー・フレーム
3か月前
個人
三輪電動車両
1か月前
個人
ルーフ付きトライク
2か月前
個人
ルーフ付きトライク
3か月前
個人
“zen-go.”
3か月前
個人
パワーアシスト自転車
3か月前
個人
車の室内高温防止屋根
14日前
井関農機株式会社
作業車両
21日前
株式会社豊田自動織機
産業車両
5か月前
個人
フロントフットブレーキ。
5か月前
個人
乗用自動車のディフューザー
1か月前
豊田鉄工株式会社
小型車両
4か月前
個人
ホイールハブ駆動構造
5か月前
株式会社GEAR
電動カート
3か月前
個人
折り畳み作業机搭載の変型台車
2か月前
個人
自動車のタイヤの位置について
3か月前
個人
二輪車の三次元折りたたみ機構
3か月前
個人
ハブモーターの配線構造
2か月前
船井電機株式会社
車両
3か月前
株式会社アイドゥス企画
老人電動車
1日前
コンビ株式会社
乳母車
1か月前
個人
走行車両等の粉塵飛散防止装置
5か月前
トヨタ自動車株式会社
パネル
5か月前
ヤマハ発動機株式会社
自転車
5か月前
豊田合成株式会社
ハンドル装置
5か月前
ダイハツ工業株式会社
車両構造
3か月前
株式会社カインズ
荷台車
2か月前
ダイハツ工業株式会社
車両構造
1か月前
ダイハツ工業株式会社
車両構造
5か月前
続きを見る
他の特許を見る