TOP
|
特許
|
意匠
|
商標
特許ウォッチ
Twitter
他の特許を見る
10個以上の画像は省略されています。
公開番号
2025058098
公報種別
公開特許公報(A)
公開日
2025-04-09
出願番号
2023167995
出願日
2023-09-28
発明の名称
システム
出願人
ソフトバンクグループ株式会社
代理人
弁理士法人酒井国際特許事務所
主分類
G16H
50/00 20180101AFI20250402BHJP(特定の用途分野に特に適合した情報通信技術)
要約
【課題】本発明が解決しようとする課題は、医療関連データを総合的に活用し、患者と医師の両方に対して高度な推論結果を提供することである。
【解決手段】医療関連データを取り込み、高度な推論の結果を患者向け、医師向けにそれぞれアプリケーションを通じてチャットボットや電子カルテ等にアウトプットするシステム。
【選択図】図1
特許請求の範囲
【請求項1】
医療関連データを取り込み、高度な推論の結果を患者向け、医師向けにそれぞれアプリケーションを通じてチャットボットや電子カルテ等にアウトプットするシステム。
続きを表示(約 150 文字)
【請求項2】
請求項1に記載のシステムで、医療関連データは画像、電子カルテ、ゲノム、検査結果、その他のテキストや音声を含む。
【請求項3】
請求項1または請求項2に記載のシステムで、推論の結果は患者向けにはチャットボットを通じて提供され、医師向けには電子カルテを通じて提供される。
発明の詳細な説明
【技術分野】
【0001】
本開示の技術は、システムに関する。
続きを表示(約 1,500 文字)
【背景技術】
【0002】
特許文献1には、少なくとも一つのプロセッサにより遂行される、ペルソナチャットボット制御方法であって、ユーザ発話を受信するステップと、前記ユーザ発話を、チャットボットのキャラクターに関する説明と関連した指示文を含むプロンプトに追加するステップと前記プロンプトをエンコードするステップと、前記エンコードしたプロンプトを言語モデルに入力して、前記ユーザ発話に応答するチャットボット発話を生成するステップ、を含む、方法が開示されている。
【先行技術文献】
【特許文献】
【0003】
特開2022-180282号公報
【発明の概要】
【発明が解決しようとする課題】
【0004】
本発明が解決しようとする課題は、医療関連データを総合的に活用し、患者と医師の両方に対して高度な推論結果を提供することである。
【課題を解決するための手段】
【0005】
医療関連データを取り込み、高度な推論の結果を患者向け、医師向けにそれぞれアプリケーションを通じてチャットボットや電子カルテ等にアウトプットするシステム。
【図面の簡単な説明】
【0006】
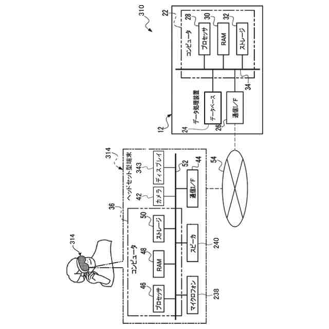
第1実施形態に係るデータ処理システムの構成の一例を示す概念図である。
第1実施形態に係るデータ処理装置及びスマートデバイスの要部機能の一例を示す概念図である。
第2実施形態に係るデータ処理システムの構成の一例を示す概念図である。
第2実施形態に係るデータ処理装置及びスマート眼鏡の要部機能の一例を示す概念図である。
第3実施形態に係るデータ処理システムの構成の一例を示す概念図である。
第3実施形態に係るデータ処理装置及びヘッドセット型端末の要部機能の一例を示す概念図である。
第4実施形態に係るデータ処理システムの構成の一例を示す概念図である。
第4実施形態に係るデータ処理装置及びロボットの要部機能の一例を示す概念図である。
複数の感情がマッピングされる感情マップを示す。
複数の感情がマッピングされる感情マップを示す。
【発明を実施するための形態】
【0007】
以下、添付図面に従って本開示の技術に係るシステムの実施形態の一例について説明する。
【0008】
先ず、以下の説明で使用される文言について説明する。
【0009】
以下の実施形態において、符号付きのプロセッサ(以下、単に「プロセッサ」と称する)は、1つの演算装置であってもよいし、複数の演算装置の組み合わせであってもよい。また、プロセッサは、1種類の演算装置であってもよいし、複数種類の演算装置の組み合わせであってもよい。演算装置の一例としては、CPU(Central Processing Unit)、GPU(Graphics Processing Unit)、GPGPU(General-Purpose computing on Graphics Processing Units)、APU(Accelerated Processing Unit)、又はTPU(Tensor Processing Unit)等が挙げられる。
【0010】
以下の実施形態において、符号付きのRAM(Random Access Memory)は、一時的に情報が格納されるメモリであり、プロセッサによってワークメモリとして用いられる。
(【0011】以降は省略されています)
この特許をJ-PlatPat(特許庁公式サイト)で参照する
関連特許
他の特許を見る