TOP
|
特許
|
意匠
|
商標
特許ウォッチ
Twitter
他の特許を見る
10個以上の画像は省略されています。
公開番号
2025057971
公報種別
公開特許公報(A)
公開日
2025-04-09
出願番号
2023167839
出願日
2023-09-28
発明の名称
画像形成装置
出願人
キヤノン株式会社
代理人
弁理士法人近島国際特許事務所
主分類
G03G
21/14 20060101AFI20250402BHJP(写真;映画;光波以外の波を使用する類似技術;電子写真;ホログラフイ)
要約
【課題】感光体の印刷可能枚数の低下を抑制する。
【解決手段】画像形成装置は、感光体と、前記感光体を回転駆動する駆動源と、を有する画像形成手段と、前記駆動源を制御する制御手段と、給送手段と、を備え、前記制御手段は、所定枚数よりも多い枚数のシートに画像を形成するジョブを実行する場合に、前記給送手段により前記所定枚数のシートが給送された後で前記給送動作を停止させ、シートの給送に関する条件を調整するための調整動作を実行し、前記調整動作の実行後に前記給送動作を再開させるように構成されており、前記制御手段は、前記調整動作を実行する場合に、前記感光体の回転を停止させ、又は、前記感光体の回転速度を、前記画像形成手段がシートに画像を形成する時の前記感光体の回転速度である第1速度から前記第1速度よりも遅い第2速度に変更するモードを実行する。
【選択図】図7
特許請求の範囲
【請求項1】
感光体と、前記感光体を回転駆動する駆動源と、を有し、前記感光体を用いてシートに画像を形成する画像形成手段と、
前記駆動源を制御する制御手段と、
前記画像形成手段に向けて1枚のシートを給送する給送動作を行う給送手段と、
を備え、
前記制御手段は、所定枚数よりも多い枚数のシートに画像を形成するジョブを実行する場合に、前記給送手段により前記所定枚数のシートが給送された後で前記給送動作を停止させ、シートの給送に関する条件を調整するための調整動作を実行し、前記調整動作の実行後に前記給送動作を再開させるように構成されており、
前記制御手段は、前記調整動作を実行する場合に、前記感光体の回転を停止させ、又は、前記感光体の回転速度を、前記画像形成手段がシートに画像を形成する時の前記感光体の回転速度である第1速度から前記第1速度よりも遅い第2速度に変更するモードを実行する、
ことを特徴とする画像形成装置。
続きを表示(約 1,700 文字)
【請求項2】
前記制御手段は、前記調整動作を実行する場合に、前記感光体の回転を停止させる、
ことを特徴とする請求項1に記載の画像形成装置。
【請求項3】
前記制御手段は、前記調整動作を実行する場合に、前記感光体の回転を停止させずに前記感光体の回転速度を前記第1速度から前記第2速度に変更する、
ことを特徴とする請求項1に記載の画像形成装置。
【請求項4】
前記モードは第1のモードであり、
前記制御手段は、前記調整動作の時間長さが第1の長さである場合は、前記第1のモードを実行し、前記調整動作の時間長さが第1の長さよりも短い第2の長さである場合は、前記調整動作を実行する場合に前記感光体の回転速度を前記第1速度で維持する第2のモードを実行する、
ことを特徴とする請求項1に記載の画像形成装置。
【請求項5】
前記画像形成手段は、前記感光体の表面を帯電させる帯電手段と、前記帯電手段に電圧を印加する電圧印加手段と、を更に有し、
前記制御手段は、前記調整動作を実行する場合に、前記電圧印加手段による前記帯電手段への電圧の印加を停止させ、又は、前記電圧印加手段が前記帯電手段に印加する電圧を、前記画像形成手段がシートに画像を形成する時に前記電圧印加手段が前記帯電手段に印加する電圧の値である第1電圧値から前記第1電圧値よりも低い第2電圧値に変更する、
ことを特徴とする請求項1に記載の画像形成装置。
【請求項6】
感光体と、前記感光体の表面を帯電させる帯電手段と、前記帯電手段に電圧を印加する電圧印加手段と、を有し、前記感光体を用いてシートに画像を形成する画像形成手段と、
前記電圧印加手段を制御する制御手段と、
前記画像形成手段に向けて1枚のシートを給送する給送動作を行う給送手段と、
を備え、
前記制御手段は、所定枚数よりも多い枚数のシートに画像を形成するジョブを実行する場合に、前記給送手段により前記所定枚数のシートが給送された後で前記給送動作を停止させ、シートの給送に関する条件を調整するための調整動作を実行し、前記調整動作の実行後に前記給送動作を再開させるように構成されており、
前記制御手段は、前記調整動作を実行する場合に、前記電圧印加手段による前記帯電手段への電圧の印加を停止させ、又は、前記電圧印加手段が前記帯電手段に印加する電圧を、前記画像形成手段がシートに画像を形成する時に前記電圧印加手段が前記帯電手段に印加する電圧の値である第1電圧値から前記第1電圧値よりも低い第2電圧値に変更するモードを実行する、
ことを特徴とする画像形成装置。
【請求項7】
前記制御手段は、前記調整動作を実行する場合に、前記電圧印加手段による前記帯電手段への電圧の印加を停止させる、
ことを特徴とする請求項6に記載の画像形成装置。
【請求項8】
前記制御手段は、前記調整動作を実行する場合に、前記電圧印加手段が前記帯電手段に印加する電圧を前記第1電圧値から前記第2電圧値に変更する、
ことを特徴とする請求項6に記載の画像形成装置。
【請求項9】
前記モードは第1のモードであり、
前記制御手段は、前記調整動作の時間長さが第1の長さである場合は、前記調整動作を実行する場合に前記第1のモードを実行し、前記調整動作の時間長さが第1の長さよりも短い第2の長さである場合は、前記調整動作を実行する場合に、前記電圧印加手段が前記帯電手段に印加する電圧を前記第1電圧値で維持する第2のモードを実行する、
ことを特徴とする請求項6に記載の画像形成装置。
【請求項10】
前記給送手段によって給送されるシートを支持するシート支持部と、
前記シート支持部に支持されたシート束にエアを吹き付けてシートを捌くエア吹き付け動作を行うエア捌き機構と、
を更に備え、
前記調整動作は、前記エア吹き付け動作である、
ことを特徴とする請求項1から9のいずれか1項に記載の画像形成装置。
(【請求項11】以降は省略されています)
発明の詳細な説明
【技術分野】
【0001】
本発明は、シートに画像を形成する画像形成装置に関する。
続きを表示(約 2,200 文字)
【背景技術】
【0002】
特許文献1には、用紙の片側の位置を規定する側面ガイド板と、側面ガイド板に取り付けられ、用紙の端面に空気を吹き込む小型ブロワーと、を備えた給紙装置が記載されている。特許文献2には、エア捌き部により吹き付け動作を行い、吹き付け動作を停止した後、吹き付け動作を停止した状態でシート給送部により給送動作を行うことが記載されている。
【先行技術文献】
【特許文献】
【0003】
特開平04-023747号公報
特開2023-102814号公報
【発明の概要】
【発明が解決しようとする課題】
【0004】
特許文献2の構成において、複数枚のシートに画像を形成するジョブの実行中であって吹き付け動作のために給送動作が停止されている期間中に感光ドラムの回転駆動が継続された場合、累積印刷枚数に対する感光ドラムの摩耗量が増加する。その結果、感光ドラムの印刷可能枚数が低下する可能性があった。つまり、ジョブの実行中に調整動作を行う画像形成装置において、感光体の印刷可能枚数の低下を抑制することが求められていた。
【0005】
そこで、本発明は、感光体の印刷可能枚数の低下を抑制可能な画像形成装置を提供することを目的とする。
【課題を解決するための手段】
【0006】
本発明の一態様は、感光体と、前記感光体を回転駆動する駆動源と、を有し、前記感光体を用いてシートに画像を形成する画像形成手段と、前記駆動源を制御する制御手段と、前記画像形成手段に向けて1枚のシートを給送する給送動作を行う給送手段と、を備え、前記制御手段は、所定枚数よりも多い枚数のシートに画像を形成するジョブを実行する場合に、前記給送手段により前記所定枚数のシートが給送された後で前記給送動作を停止させ、シートの給送に関する条件を調整するための調整動作を実行し、前記調整動作の実行後に前記給送動作を再開させるように構成されており、前記制御手段は、前記調整動作を実行する場合に、前記感光体の回転を停止させ、又は、前記感光体の回転速度を、前記画像形成手段がシートに画像を形成する時の前記感光体の回転速度である第1速度から前記第1速度よりも遅い第2速度に変更するモードを実行する、ことを特徴とする画像形成装置である。
【0007】
本発明の一態様は、感光体と、前記感光体の表面を帯電させる帯電手段と、前記帯電手段に電圧を印加する電圧印加手段と、を有し、前記感光体を用いてシートに画像を形成する画像形成手段と、前記電圧印加手段を制御する制御手段と、前記画像形成手段に向けて1枚のシートを給送する給送動作を行う給送手段と、を備え、前記制御手段は、所定枚数よりも多い枚数のシートに画像を形成するジョブを実行する場合に、前記給送手段により前記所定枚数のシートが給送された後で前記給送動作を停止させ、シートの給送に関する条件を調整するための調整動作を実行し、前記調整動作の実行後に前記給送動作を再開させるように構成されており、前記制御手段は、前記調整動作を実行する場合に、前記電圧印加手段による前記帯電手段への電圧の印加を停止させ、又は、前記電圧印加手段が前記帯電手段に印加する電圧を、前記画像形成手段がシートに画像を形成する時に前記電圧印加手段が前記帯電手段に印加する電圧の値である第1電圧値から前記第1電圧値よりも低い第2電圧値に変更するモードを実行する、ことを特徴とする画像形成装置である。
【発明の効果】
【0008】
本発明によれば、感光体の印刷可能枚数の低下を抑制可能な画像形成装置を提供することができる。
【図面の簡単な説明】
【0009】
実施形態に係る画像形成装置の概略図。
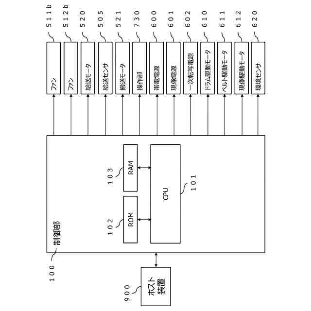
実施形態に係る画像形成装置の制御系を示すブロック図。
実施形態に係る拡張給送装置を示す模式図。
実施形態に係る拡張給送装置を示す模式図。
実施形態に係るプリントジョブの制御方法を示すフローチャート。
実施例1における環境条件とエア吹き付け時間の関係を示す図。
実施例1におけるプリントジョブの制御方法を示すフローチャート。
実施例1における画像形成装置の動作状態を表すシーケンスチャート。
実施例1におけるプリントジョブの制御方法を示すフローチャート。
実施例1における画像形成装置の動作状態を表すシーケンスチャート。
エア吹き付け時間の長さと感光ドラムの印刷可能枚数の低下率との関係を表すグラフ(a)、及びア吹き付け時間の長さと画像形成装置の生産性の低下率との関係を表すグラフ(b)。
実施例2におけるプリントジョブの制御方法を示すフローチャート。
実施例2における画像形成装置の動作状態を表すシーケンスチャート。
実施例3におけるプリントジョブの制御方法を示すフローチャート。
実施例3における画像形成装置の動作状態を表すシーケンスチャート。
【発明を実施するための形態】
【0010】
以下、本開示に係る実施形態について、図面を参照しながら説明する。
(【0011】以降は省略されています)
この特許をJ-PlatPat(特許庁公式サイト)で参照する
関連特許
他の特許を見る