TOP
|
特許
|
意匠
|
商標
特許ウォッチ
Twitter
他の特許を見る
10個以上の画像は省略されています。
公開番号
2025049832
公報種別
公開特許公報(A)
公開日
2025-04-04
出願番号
2023158286
出願日
2023-09-22
発明の名称
被覆用プレス装置
出願人
株式会社ハシマ
代理人
個人
,
個人
主分類
B68G
7/05 20060101AFI20250327BHJP(馬具;詰め物,かわ張りされた物品)
要約
【課題】表皮材を被覆対象物に適切に密着させて被覆することができる被覆用プレス装置を提供する。
【解決手段】被覆用プレス装置10は、柔軟性を有する表皮材31を介してクッション14に載置される被覆対象物32を、クッション14の内部に押圧して沈み込ませることにより、被覆対象物32の被覆面を表皮材31で被覆する。被覆用プレス装置10は、クッション14に載置される表皮材31を加熱するヒータ30を有する。
【選択図】図5
特許請求の範囲
【請求項1】
柔軟性を有する表皮材を介して弾性体に載置される被覆対象物を、前記弾性体の内部に押圧して沈み込ませることにより、前記被覆対象物の被覆面を前記表皮材で被覆するように構成される被覆用プレス装置であって、
前記弾性体に載置される前記表皮材を加熱するように構成されるヒータを有する被覆用プレス装置。
続きを表示(約 940 文字)
【請求項2】
前記ヒータは、柔軟性を有する面状ヒータであって、前記弾性体に載置される前記表皮材の直下に設けられている請求項1に記載の被覆用プレス装置。
【請求項3】
前記ヒータは、炭素繊維製の発熱体を有する請求項2に記載の被覆用プレス装置。
【請求項4】
前記弾性体は、弾性を有するスポンジと、前記スポンジを覆うカバーと、を有し、
前記ヒータは、前記スポンジと前記カバーとの間に介在されている請求項2または請求項3に記載の被覆用プレス装置。
【請求項5】
柔軟性あるいは弾性を有する保護シートをさらに有し、
前記保護シートは、前記ヒータに重ねられている請求項2または請求項3に記載の被覆用プレス装置。
【請求項6】
前記表皮材と前記被覆対象物との間には、ホットメルト型の接着剤が介在され、
前記ヒータは、前記弾性体に載置される前記表皮材を介して、前記接着剤を加熱するように構成される請求項1~請求項3のうちいずれか一項に記載の被覆用プレス装置。
【請求項7】
前記表皮材は、周縁に沿って設けられる紐通し部と、前記紐通し部に通されて両端が互いに近接した位置から引き出される紐と、を有し、
前記被覆対象物が前記表皮材を介して前記弾性体の内部に沈み込んだ状態で、両端が交差された前記紐の両端を互いに逆方向に引っ張るように構成される引張り機構をさらに有する請求項1~請求項3のうちいずれか一項に記載の被覆用プレス装置。
【請求項8】
前記被覆対象物は、椅子の座板である請求項1~請求項3のうちいずれか一項に記載の被覆用プレス装置。
【請求項9】
前記弾性体は、弾性を有する第1のスポンジと、
前記第1のスポンジよりも高い弾性を有する第2のスポンジと、
前記第1のスポンジおよび前記第2のスポンジを覆うカバーと、を有し、
前記第1のスポンジは、前記第2のスポンジに支持されるように重ねられており、
前記ヒータは、前記第1のスポンジと前記カバーとの間に介在されている請求項2または請求項3に記載の被覆用プレス装置。
発明の詳細な説明
【技術分野】
【0001】
本発明は、被覆用プレス装置に関する。
続きを表示(約 1,300 文字)
【背景技術】
【0002】
従来、被覆対象物を表皮材で被覆するための被覆用プレス装置が存在する。たとえば、特許文献1の装置は、高温ガス流で流動化させた粒子床を使用して被覆対象物を表皮材で被覆するとともに、表皮材を支持体に熱接着する。粒子床は、筐体の内部に形成される。筐体の最上部は、透過性の可撓性カバー布により塞がれている。表皮材を支持体に熱接着する際には、表皮材を可撓性カバー布の上に載せ、支持体を表皮材に押し付ける。支持体が粒子床に沈んでいくことに伴い、表皮材および可撓性カバー布が支持体の表面に沿って変形する。支持体と表皮材との間の接着剤層は、粒子床の熱で加熱されることにより活性化する。
【先行技術文献】
【特許文献】
【0003】
特許第5437375号公報
【発明の概要】
【発明が解決しようとする課題】
【0004】
被覆用プレス装置には、たとえば見栄えを確保する観点から、表皮材を被覆対象物に適切に密着させて被覆することが求められる。
【課題を解決するための手段】
【0005】
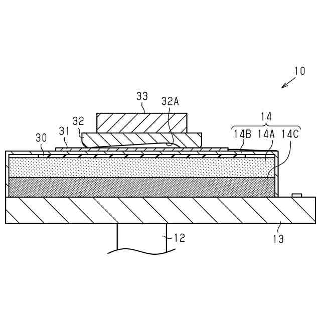
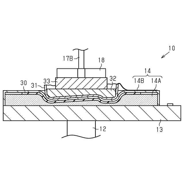
上記課題を解決し得る被覆用プレス装置は、柔軟性を有する表皮材を介して弾性体に載置される被覆対象物を、前記弾性体の内部に押圧して沈み込ませることにより、前記被覆対象物の被覆面を前記表皮材で被覆するように構成される。被覆用プレス装置は、前記弾性体に載置される前記表皮材を加熱するように構成されるヒータを有する。
【0006】
この構成によれば、ヒータにより表皮材が温められる。このため、表皮材が被覆対象物の輪郭形状に倣って弾性変形しやすくなる。したがって、表皮材を被覆対象物に適切に密着させて被覆することができる。
【0007】
上記の被覆用プレス装置において、前記ヒータは、柔軟性を有する面状ヒータであって、前記弾性体に載置される前記表皮材の直下に設けられていてもよい。
この構成によれば、ヒータが弾性体に載置される表皮材の直下に位置することにより、表皮材を迅速に加熱することができる。
【0008】
上記の被覆用プレス装置において、前記ヒータは、炭素繊維製の発熱体を有していてもよい。
この構成によれば、被覆対象物が表皮材を介して弾性体の内部に沈み込むことにより、ヒータが押圧されて弾性変形する。発熱体が炭素繊維製であるため、ヒータの弾性変形に伴う発熱体の断線の発生が抑制される。
【0009】
上記の被覆用プレス装置において、前記弾性体は、弾性を有するスポンジと、前記スポンジを覆うカバーと、を有していてもよい。この場合、前記ヒータは、前記スポンジと前記カバーとの間に介在されていてもよい。
【0010】
この構成によれば、ヒータがカバーにより覆われる。このため、ヒータを保護することができる。
上記の被覆用プレス装置において、柔軟性あるいは弾性を有する保護シートをさらに有していてもよい。この場合、前記保護シートは、前記ヒータに重ねられていてもよい。
(【0011】以降は省略されています)
この特許をJ-PlatPat(特許庁公式サイト)で参照する
関連特許
個人
クラフトキット
3か月前
株式会社K&I
皮革製品の製造方法
5か月前
アキレス株式会社
クッション材
8か月前
株式会社ハシマ
被覆用プレス装置
7か月前
株式会社東洋シート
車両用シート表皮の玉縁構造
5か月前
テイ・エス テック株式会社
車両用シート
9か月前
トヨタ紡織株式会社
外観検査装置
9か月前
トヨタ紡織株式会社
シートバック
3か月前
東海化成工業株式会社
成形体及び成形体の成形方法
12か月前
日本発條株式会社
クリップセット装置
3か月前
日本発條株式会社
サスペンダ及びシートトリム
8か月前
日本発條株式会社
シートパッド及び車両用シート
4か月前
日本発條株式会社
シートトリム及び車両用シート
2か月前
日本発條株式会社
トリムカバー及び車両用シート
7か月前
株式会社イノアックコーポレーション
袋形表皮材及び表皮付き発泡成形品
4か月前
日本発條株式会社
シートパッド及び表皮の皺取り方法
2か月前
日本発條株式会社
情報処理装置、情報処理方法及びプログラム
1か月前
株式会社イノアックコーポレーション
袋材一体発泡成形品
7か月前
株式会社東洋クオリティワン
軟質ポリウレタンフォーム、接着部材および成形型
5か月前
テイ・エス テック株式会社
シート
2か月前
株式会社タチエス
シートクッションのトリムカバーの固定構造およびこれを備えた車両用シート
3か月前
日本発條株式会社
シート表皮の吊り込み構造、車両用シート、及び吊り込み構造部の製造方法
4か月前
青島紗支紡織科技有限公司
充填材の製造装置、充填材の製造方法、及び充填材
12日前
株式会社デンソー
電子制御装置
8か月前
公益財団法人電磁材料研究所
ひずみゲージ、ひずみ測定装置およびひずみ測定方法
10か月前
個人
浮力と重力のバランスを利用した動力発生装置。
7か月前
他の特許を見る