TOP
|
特許
|
意匠
|
商標
特許ウォッチ
Twitter
他の特許を見る
10個以上の画像は省略されています。
公開番号
2025040335
公報種別
公開特許公報(A)
公開日
2025-03-24
出願番号
2023147201
出願日
2023-09-11
発明の名称
光アイソレータ及びその製造方法
出願人
湖北工業株式会社
代理人
弁理士法人プロスペック特許事務所
主分類
G02B
27/28 20060101AFI20250314BHJP(光学)
要約
【課題】 マルチコア光ファイバ用の光アイソレータにおいて、戻り光に起因したクロストークの増加を抑制しながら当該光アイソレータを小型化する。
【解決手段】 光アイソレータ10は、複数の第1コアを備える第1光ファイバ20と、第1レンズ30と、アイソレータユニット群40、50と、第2レンズ60と、複数の第2コアを備える第2光ファイバ70と、が順方向にこの順に所定の軸線に沿って配置されて成る。第1光ファイバの端面の正面視において、第2コアから出射される複数の戻り光のそれぞれと複数の第1コアのそれぞれと、の間の距離のうち最も短い距離を最小距離と規定すると、最小距離の値は、アイソレータユニット群の軸線周りにおける回転に伴い所定の上限値と所定の下限値との間で変動し、アイソレータユニット群は、最小距離の値が、最小距離の変動幅の30%に下限値を加算した値から上限値までの範囲内の値となるような位置で固定されている。
【選択図】 図6
特許請求の範囲
【請求項1】
複数の第1コアを備える第1光ファイバと、第1レンズと、アイソレータユニット群と、第2レンズと、複数の第2コアを備える第2光ファイバと、を備え、これらが順方向においてこの順に所定の軸線に沿って配置されており、前記第1光ファイバと前記第2光ファイバの少なくとも一方がマルチコア光ファイバである、マルチコア光ファイバ用の光アイソレータであって、
前記第1レンズは、前記第1光ファイバの前記第1コアから出射される任意の偏光状態にある光線のそれぞれをコリメートし、
前記アイソレータユニット群は、一対の偏光分離素子と、前記一対の偏光分離素子の間に設けられたファラデー回転子と、を含むアイソレータユニットが1個以上直列に配置されて成り、前記順方向に進行する前記光線のそれぞれを透過させる一方で、逆方向に進行する光線である戻り光のそれぞれを偏光面が互いに直交する第1光線と第2光線とに分離した状態で透過させ、
前記第2レンズは、前記アイソレータユニット群を透過した前記光線のそれぞれが前記第2光ファイバの対応する前記第2コアに入射するように前記光線のそれぞれを収束させ、
前記第1光ファイバの端面の正面視において、前記複数の戻り光のそれぞれと前記複数の第1コアのそれぞれとの間の距離のうち最も短い距離を最小距離と規定すると、
前記最小距離の値は、前記アイソレータユニット群の前記軸線周りにおける回転に伴い所定の上限値と所定の下限値との間で変動し、
前記アイソレータユニット群は、前記最小距離の値が、前記最小距離の変動幅に30%を乗じた値に前記下限値を加算した値から前記上限値までの範囲内の値となるような位置で固定されている、
光アイソレータ。
続きを表示(約 1,900 文字)
【請求項2】
請求項1に記載の光アイソレータにおいて、
前記アイソレータユニット群は、前記最小距離の値が、前記最小距離の変動幅に30%以上を満たす所定の割合を乗じた値に前記下限値を加算した値から前記上限値までの範囲内の値となるような位置で固定されている、
光アイソレータ。
【請求項3】
請求項2に記載の光アイソレータにおいて、
前記割合は60%である、
光アイソレータ。
【請求項4】
請求項1乃至請求項3の何れか一項に記載の光アイソレータにおいて、
前記最小距離の前記下限値は、前記第1光ファイバのコアピッチ以下である、
光アイソレータ。
【請求項5】
請求項4に記載の光アイソレータにおいて、
前記第1光ファイバのコアピッチと前記第2光ファイバのコアピッチは互いに等しい、
光アイソレータ。
【請求項6】
請求項1乃至請求項3の何れか一項に記載の光アイソレータにおいて、
前記第1光ファイバ及び前記第2光ファイバの中心軸線は、前記軸線上に位置している、
光アイソレータ。
【請求項7】
請求項1乃至請求項3の何れか一項に記載の光アイソレータにおいて、
前記アイソレータユニット群は2個のアイソレータユニットを含み、
前記偏光分離素子は、くさび形形状の複屈折性を有する単結晶である、
光アイソレータ。
【請求項8】
マルチコア光ファイバ用の光アイソレータの製造方法であって、
複数の第1コアを備え、その端面が斜研磨されている第1光ファイバと、前記第1コアから出射される任意の偏光状態にある光線のそれぞれをコリメートするように構成された前記第1レンズと、を含む入力側コリメータを準備する工程と、
複数の第2コアを備える第2光ファイバと、前記光線のそれぞれが前記第2光ファイバの対応する前記第2コアに入射するように前記光線のそれぞれを収束するように構成された前記第2レンズと、を含む出力側コリメータを準備する工程と、
一対の四角柱形状を呈する複屈折板と、前記一対の複屈折板の間に設けられたファラデー回転子と、を含むアイソレータユニットが1個以上直列に配置されて成り、前記入力側コリメータから前記出力側コリメータに向かう方向である順方向に進行する前記光線のそれぞれを透過させる一方で、逆方向に進行する光線である戻り光のそれぞれを偏光面が互いに直交する第1光線と第2光線とに分離した状態で透過させるように構成されたアイソレータユニット群を準備する工程と、
前記第1光ファイバと、前記第1レンズと、前記アイソレータユニット群と、前記第2レンズと、前記第2光ファイバと、が、前記順方向においてこの順に所定の軸線に沿って配置されるように、前記入力側コリメータ、前記アイソレータユニット群、及び、前記出力側コリメータを配置する工程と、
前記第1光ファイバの斜研磨方向と、前記順方向において最も前段に位置している前記複屈折板の傾斜方向と、が成す特定角度が所定の特定角度範囲内に含まれるように、前記アイソレータユニット群を前記入力側コリメータ及び前記出力側コリメータに対して相対的に固定する工程と、
を含み、
前記第1光ファイバと前記第2光ファイバの少なくとも一方がマルチコア光ファイバであり、
前記第1光ファイバの端面の正面視において、前記複数の戻り光のそれぞれと前記複数の第1コアのそれぞれとの間の距離のうち最も短い距離を最小距離と規定すると、
前記最小距離の値は、前記アイソレータユニット群の前記軸線周りにおける回転に伴い所定の上限値と所定の下限値との間で変動し、
前記特定角度範囲は、前記最小距離の変動幅に30%を乗じた値に前記下限値を加算した値から前記上限値までの範囲である特定距離範囲に対応する角度範囲である、
光アイソレータの製造方法。
【請求項9】
請求項8に記載の光アイソレータの製造方法において、
前記固定する工程は、更に、
前記特定角度が前記特定角度範囲内に含まれるように前記アイソレータユニット群を前記軸線周りに回転させながら、前記戻り光のそれぞれに起因するクロストークの最大値である逆方向最大クロストークを測定する工程と、
前記逆方向最大クロストークが所定のクロストーク閾値以下となる回転位置で前記アイソレータユニット群を固定する工程と、
を含む、
光アイソレータの製造方法。
発明の詳細な説明
【技術分野】
【0001】
本発明は、マルチコア光ファイバ用の偏光無依存型光アイソレータ及びその製造方法に関する。
続きを表示(約 4,700 文字)
【背景技術】
【0002】
光ファイバ1本当たりの伝送容量を増大させ、1ビット当たりのコストを低減する目的で、マルチコア光ファイバを用いた空間分割多重(SDM:Space Division Multiplexing)技術に関する研究開発が進められている。例えば、従来、光増幅器にはシングルコア光ファイバが用いられ、シングルコア光ファイバからマルチコア光ファイバへの変換、又は、マルチコア光ファイバからシングルコア光ファイバへの変換はファンイン/ファンアウト(FIFO:Fan-in/Fan-out)デバイスにより行われていた。しかしながら、FIFOデバイスの挿入による損失の増加により伝送容量が低下するという問題があったため、近年、マルチコア光ファイバを用いた光増幅器(以下、「MCF光増幅器」とも称する。)が提案されている(非特許文献1参照)。MCF光増幅器によればFIFOデバイスを省略することができるため、FIFOデバイスの挿入損失に起因した伝送容量の低下を抑制することができる。
【先行技術文献】
【非特許文献】
【0003】
若山雄太、外2名、「ファイバーブラッググレーティングベースの利得平坦化フィルターを備えたFIFOレスコア励起マルチコアファイバーアンプ」、The European Conference on Optical Communication、2022
【発明の概要】
【0004】
MCF光増幅器ではマルチコア光ファイバを用いた光アイソレータが必要であるが、戻り光によるクロストークの増加を抑制するために光アイソレータの寸法を大型化せざるを得ないという問題がある。即ち、一般に、光ファイバ用の偏光無依存型光アイソレータは、入力側の光ファイバのコアからの出射光を透過させて出力側の光ファイバの対応するコアに入射させる一方で、出力側の光ファイバの当該コアからの出射光(別言すれば、戻り光)を分離することにより戻り光が入力側の光ファイバの当該コアと結合することを抑制する(即ち、戻り光をアイソレートする)ように構成されている。このような光アイソレータをマルチコア光ファイバに用いる場合、出力側のマルチコア光ファイバの各コアからの戻り光が入力側のマルチコア光ファイバの対応する各コアと結合することは好適に抑制できるものの、当該戻り光が「対応するコア以外のコア」と結合することでクロストークが増加する可能性がある。このため、光アイソレータの寸法を大型化することにより戻り光によるクロストークの増加を抑制することが行われている。光アイソレータの寸法は、マルチコア光ファイバのコア数が多くなるほど大型化する傾向にある。なお、上述した問題はMCF光増幅器に限られず、マルチコア光ファイバ用の偏光無依存型光アイソレータ全般に共通している。
【0005】
本発明は、上述した問題に対処するためになされたものである。即ち、本発明の目的の一つは、マルチコア光ファイバ用の光アイソレータにおいて、戻り光に起因したクロストークの増加を抑制しながら当該光アイソレータを小型化することが可能な技術を提案することにある。
【0006】
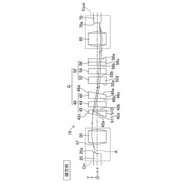
1つ目の発明に係るマルチコア光ファイバ用の光アイソレータ(10)は、
複数の第1コア(C1乃至C4)を備える第1光ファイバ(20)と、第1レンズ(30)と、アイソレータユニット群(G)と、第2レンズ(60)と、複数の第2コア(C1乃至C4)を備える第2光ファイバ(70)と、を備え、これらが順方向においてこの順に所定の軸線(A)に沿って配置されて成る。前記第1光ファイバと前記第2光ファイバの少なくとも一方がマルチコア光ファイバである。
前記第1レンズは、前記第1光ファイバの前記第1コアから出射される任意の偏光状態にある光線(b1乃至b4)のそれぞれをコリメートし、
前記アイソレータユニット群は、一対の偏光分離素子(42,46、52,56)と、前記一対の偏光分離素子の間に設けられたファラデー回転子(44、54)と、を含むアイソレータユニット(40、50)が1個以上直列に配置されて成り、前記順方向に進行する前記光線のそれぞれを透過させる一方で、逆方向に進行する光線である戻り光(br1乃至br4)のそれぞれを偏光面が互いに直交する第1光線(br11乃至br41)と第2光線(br12乃至br42)とに分離した状態で透過させ、
前記第2レンズは、前記アイソレータユニット群を透過した前記光線のそれぞれが前記第2光ファイバの対応する前記第2コアに入射するように前記光線のそれぞれを収束させ、
前記第1光ファイバの端面の正面視において、前記複数の戻り光のそれぞれと前記複数の第1コアのそれぞれとの間の距離のうち最も短い距離を最小距離(dmin)と規定すると、
前記最小距離の値は、前記アイソレータユニット群の前記軸線周りにおける回転に伴い所定の上限値(dminu)と所定の下限値(dminl)との間で変動し、
前記アイソレータユニット群は、前記最小距離の値が、前記最小距離の変動幅に30%を乗じた値に前記下限値を加算した値から前記上限値までの範囲内の値となるような位置で固定されている。
【0007】
2つ目の発明に係るマルチコア光ファイバ用の光アイソレータ(10)の製造方法は、
複数の第1コア(C1乃至C4)を備え、その端面が斜研磨されている第1光ファイバ(20)と、前記第1コアから出射される任意の偏光状態にある光線(b1乃至b4)のそれぞれをコリメートするように構成された前記第1レンズ(30)と、を含む入力側コリメータ(Cin)を準備する工程と、
複数の第2コア(C1乃至C4)を備える第2光ファイバ(70)と、前記光線のそれぞれが前記第2光ファイバの対応する前記第2コアに入射するように前記光線のそれぞれを収束するように構成された前記第2レンズ(60)と、を含む出力側コリメータ(Cout)を準備する工程と、
一対の四角柱形状を呈する複屈折板(42,46、52,56)と、前記一対の複屈折板の間に設けられたファラデー回転子(44、54)と、を含むアイソレータユニット(40、50)が1個以上直列に配置されて成り、前記入力側コリメータから前記出力側コリメータに向かう方向である順方向に進行する前記光線のそれぞれとを透過させる一方で、逆方向に進行する光線である戻り光(br1乃至br4)のそれぞれを偏光面が互いに直交する第1光線(br11乃至br41)と第2光線(br12乃至br42)とに分離した状態で透過させるように構成されたアイソレータユニット群(G)を準備する工程と、
前記第1光ファイバと、前記第1レンズと、前記アイソレータユニット群と、前記第2レンズと、前記第2光ファイバと、が、前記順方向においてこの順に所定の軸線(A)に沿って配置されるように、前記入力側コリメータ、前記アイソレータユニット群、及び、前記出力側コリメータを配置する工程と、
前記第1光ファイバの斜研磨方向と、前記順方向において最も前段に位置している前記複屈折板の傾斜方向と、が成す特定角度が所定の特定角度範囲内に含まれるように、前記アイソレータユニット群を前記入力側コリメータ及び前記出力側コリメータに対して相対的に固定する工程と、
を含む。
この製造方法では、前記第1光ファイバと前記第2光ファイバの少なくとも一方がマルチコア光ファイバである。
前記第1光ファイバの端面の正面視において、前記複数の戻り光のそれぞれと前記複数の第1コアのそれぞれとの間の距離のうち最も短い距離を最小距離(dmin)と規定すると、
前記最小距離の値は、前記アイソレータユニット群の前記軸線周りにおける回転に伴い所定の上限値(dminu)と所定の下限値(dminl)との間で変動し、
前記特定角度範囲は、前記最小距離の変動幅に30%を乗じた値に前記下限値を加算した値から前記上限値までの範囲である特定距離範囲に対応する角度範囲である。
【0008】
本発明によれば、マルチコア光ファイバ用の光アイソレータにおいて、戻り光に起因したクロストークの増加を抑制しながら当該光アイソレータを小型化することができる。
【図面の簡単な説明】
【0009】
本発明の実施形態に係る光アイソレータの側面図であり、順方向における光路の一例を示す図である。
光アイソレータの平面図であり、順方向における光路の一例を示す図である。
光アイソレータの側面図であり、逆方向における光路の一例を示す図である。
光アイソレータの平面図であり、逆方向における光路の一例を示す図である。
入力側のマルチコア光ファイバの端面の正面図である。
出力側のマルチコア光ファイバの端面の正面図である。
図2の正面図に基準状態における戻り光の位置を重畳的に示した図である。
図2の正面図に、アイソレータユニット群を基準状態から軸線周りに回転角φだけ回転したときの戻り光の位置を重畳的に示した図である。
分離量sと、距離dmin及び回転角φと、の関係を規定したグラフである。
条件Aに従って、回転角φと、距離dmin及び逆方向最大クロストークXTrmaxの絶対値と、の関係を規定したグラフである。
条件Bに従って、回転角φと、距離dmin及び逆方向最大クロストークXTrmaxの絶対値と、の関係を規定したグラフである。
条件Cに従って、回転角φと、距離dmin及び逆方向最大クロストークXTrmaxの絶対値と、の関係を規定したグラフである。
条件Cに用いられるマルチコア光ファイバの正面図である。
順方向及び逆方向のクロストークの波長依存特性を示すグラフである。
【発明を実施するための形態】
【0010】
以下、図面を参照して本発明の実施形態に係る光アイソレータ10について説明する。光アイソレータ10は、偏光無依存型、即ち、入射光線の偏光状態に関わらず挿入損失が変化しないタイプの光アイソレータである。図1A及び図1Cは、光アイソレータ10の側面図であり、図1B及び図1Dは、光アイソレータ10の平面図である。図1A乃至図1Dに示すように、光アイソレータ10は、マルチコア光ファイバ20と、レンズ30と、アイソレータユニット群Gと、レンズ60と、マルチコア光ファイバ70と、を備える(以下、マルチコア光ファイバを「MCF」とも称する。)。これらの部材は、軸線Aに沿って上記の順に配置されている。光アイソレータ10には、直交座標系が設定されている。z軸は、MCF20からMCF70に向かう方向が正方向となるように軸線Aと平行に延びている。y軸は、z軸と直交しており、図1A及び図1Cにおいては紙面上方向が正方向となるように延びている。x軸は、y軸及びz軸と直交しており、図1B及び図1Dにおいては紙面上方向が正方向となるように延びている。
(【0011】以降は省略されています)
この特許をJ-PlatPat(特許庁公式サイト)で参照する
関連特許
湖北工業株式会社
光伝送用光受動部品
5か月前
個人
立体像表示装置
20日前
カンタツ株式会社
光学系
12日前
住友化学株式会社
偏光板
17日前
株式会社シグマ
結像光学系
6日前
住友化学株式会社
垂直偏光板
17日前
東レ株式会社
貼合体の製造方法
20日前
東レ株式会社
赤外線遮蔽構成体
20日前
日本精機株式会社
ミラーユニット
5日前
古河電気工業株式会社
融着機
12日前
日本電気株式会社
光モジュール
6日前
日本電気株式会社
光集積回路素子
24日前
個人
多方向視差効果のための微細穴加工
7日前
個人
眼鏡装着位置変更具および眼鏡
18日前
京セラ株式会社
光学系
4日前
三菱電機株式会社
レンズモジュール
17日前
住友化学株式会社
積層体
24日前
日東電工株式会社
調光フィルム
25日前
住友化学株式会社
偏光板
20日前
AGC株式会社
インフィニティミラー
13日前
住友化学株式会社
偏光板
20日前
住友化学株式会社
光学積層体
20日前
住友化学株式会社
偏光積層体
20日前
新光電気工業株式会社
光導波路部品
17日前
新光電気工業株式会社
光導波路部品
17日前
日本精機株式会社
ヘッドアップディスプレイ装置
25日前
キヤノン株式会社
レンズ装置および撮像装置
25日前
住友ベークライト株式会社
積層体の製造方法
25日前
株式会社タムロン
ズームレンズ及び撮像装置
4日前
Orbray株式会社
MEMS光スイッチの制御方法
25日前
スタンレー電気株式会社
透光性樹脂部材
4日前
富士通株式会社
波長変換装置および波長変換方法
10日前
古河電気工業株式会社
光モジュール、光接続構造
25日前
住友化学株式会社
偏光板及び画像表示装置
26日前
TDK株式会社
メタサーフェスレンズ
24日前
日東電工株式会社
積層光学部材及び光学装置
24日前
続きを見る
他の特許を見る