TOP
|
特許
|
意匠
|
商標
特許ウォッチ
Twitter
他の特許を見る
10個以上の画像は省略されています。
公開番号
2025035763
公報種別
公開特許公報(A)
公開日
2025-03-14
出願番号
2023143009
出願日
2023-09-04
発明の名称
制御装置
出願人
NGB株式会社
代理人
弁理士法人信栄事務所
主分類
G06Q
50/18 20120101AFI20250307BHJP(計算;計数)
要約
【課題】産業財産権の維持状況に関する指標の変化をユーザが簡単に把握できる制御装置を提供する。
【解決手段】制御装置は、ネットワークを介してユーザの端末と通信可能に接続されており、産業財産権の維持状況に関する指標を監視する。制御装置は、産業財産権の少なくとも維持状況が記録されたデータベースに基づき、監視対象の産業財産権群の維持状況に関する指標を算出する算出部と、少なくとも指標が所定の条件を満たさないときに、指標に関する情報を、ユーザの端末へ通知する通知部と、を備える。
【選択図】図1
特許請求の範囲
【請求項1】
ネットワークを介してユーザの端末と通信可能に接続された、産業財産権の維持状況に関する指標を監視する制御装置であって、
産業財産権の少なくとも維持状況が記録されたデータベースに基づき、監視対象の産業財産権群の維持状況に関する指標を算出する算出部と、
少なくとも前記指標が所定の条件を満たさないときに、前記指標に関する情報を、前記ユーザの端末へ通知する通知部と、
を備える、制御装置。
続きを表示(約 1,700 文字)
【請求項2】
前記維持状況に関する指標は、
対象期間に産業財産権を維持するために必要な所定の手続きの期限日が属する前記監視対象の産業財産権群のうち、前記所定の手続きにより実際に権利が維持された件数を示す維持件数、
前記対象期間に産業財産権を維持するために必要な所定の手続きの期限日が属する前記監視対象の産業財産権群の件数に対する前記維持件数の割合を示す維持率、
前記対象期間に産業財産権を維持するために必要な所定の手続きの期限日が属する前記監視対象の産業財産権群のうち前記所定の手続きが行われず権利が維持されなかった件数を示す放棄件数、および
前記対象期間に産業財産権を維持するために必要な所定の手続きの期限日が属する前記監視対象の産業財産権群の件数に対する前記放棄件数の割合を示す放棄率、
のうちの少なくとも1つである、請求項1に記載の制御装置。
【請求項3】
前記算出部は、前記指標を定期的に算出し、
前記通知部は、前記指標が所定の条件を満たすまたは満たさないにかかわらず、前記ユーザの端末へ前記指標に関する情報を、前記ユーザの端末へ通知する、請求項1または請求項2に記載の制御装置。
【請求項4】
前記監視対象の産業財産権群は、前記ユーザとは異なる出願人または権利者の産業財産権群である、請求項3に記載の制御装置。
【請求項5】
前記通知部は、前記ユーザの端末において、前記指標に関する情報をポップアップ表示させる、請求項3に記載の制御装置。
【請求項6】
前記制御装置は、
前記ユーザが保有する産業財産権群から、年金支払い期限日が所定期間に属する支払い要否を問い合わせる産業財産権群を抽出する抽出部を備え、
前記算出部は、前記抽出部により抽出された前記産業財産権に付随する属性情報と同一の属性情報を有する産業財産権群であって、年金支払い期限日が前記所定期間より前である産業財産権群の維持状況に関する指標を算出し、
の維持状況に関する指標を算出し、
前記通知部は、前記年金支払いを問い合わせる産業財産権とともに、前記指標に関する情報を、前記ユーザの端末へ、通知する、請求項1に記載の制御装置。
【請求項7】
前記通知部は、前記年金支払いを問い合わる産業財産権と前記指標に関する情報とともに、前記年金支払いを問い合わせる産業財産権の維持または放棄を判断するために参照されるコメントを通知する、請求項6に記載の制御装置。
【請求項8】
前記監視対象の産業財産権群は、第一出願人または第一権利者が保有する産業財産権群、および第二出願人または第二権利者が保有する産業財産権群であり、
前記算出部は、前記第一出願人または第一権利者が保有する産業財産権群の維持状況に関する第一指標と、前記第二出願人または第二権利者が保有する産業財産権群の維持状況に関する第二指標と、を算出し、
前記通知部は、少なくとも前記第一指標が第一所定の条件を満たさないまたは前記第二指標が第二所定の条件を満たさないときに、前記第一指標に関する情報および前記第二指標に関する情報を、前記ユーザの端末へ通知する、請求項1または請求項2に記載の制御装置。
【請求項9】
前記算出部は、
第一対象期間に産業財産権を維持するために必要な所定の手続き期限日が属する前記監視対象の産業財産権群の維持状況に関する第一指標と、前記第一対象期間とは異なる第二対象期間に産業財産権を維持するために必要な所定の手続き期限日が属する前記監視対象の産業財産権群の維持状況に関する第二指標と、を算出し、
前記通知部は、
少なくとも前記第一指標と前記第二指標との差分が前記所定の条件を満たさないときに、前記第一指標と前記第二指標との差分に関する情報を、前記ユーザの端末へ通知する、請求項1または請求項2に記載の制御装置。
【請求項10】
前記産業財産権を維持するために必要な所定の手続きの期限日は、年金支払い期限日である、請求項9に記載の制御装置。
(【請求項11】以降は省略されています)
発明の詳細な説明
【技術分野】
【0001】
本発明は、産業財産権の維持状況に関する指標を監視する制御装置に関する。
続きを表示(約 1,800 文字)
【背景技術】
【0002】
特許文献1は、産業財産権である特許権や実用新案権の価値を、特許公開公報、特許公報、公開実用新案公報または実用新案公報の内容から評価する装置を開示している。
【先行技術文献】
【特許文献】
【0003】
特開2010-9493号公報
【発明の概要】
【発明が解決しようとする課題】
【0004】
ところで、産業財産権を評価および分析することが試みられている。
本発明者らは、産業財産権の維持率や放棄率等の維持状況に関する指標は、自社の産業財産権の維持要否の判断の参考になること、他社の技術動向推定の参考になることを見出し、その指標、特に指標が変化したことをユーザが簡単に把握できるシステムを検討した。
【0005】
本発明の目的は、産業財産権の維持状況に関する指標の変化をユーザが簡単に把握できることである。
【課題を解決するための手段】
【0006】
本開示により提供される一態様例は、
ネットワークを介してユーザの端末と通信可能に接続された、産業財産権の維持状況に関する指標を監視する制御装置であって、
産業財産権の少なくとも維持状況が記録されたデータベースに基づき、監視対象の産業財産権群の維持状況に関する指標を算出する算出部と、
少なくとも前記指標が所定の条件を満たさないときに、前記指標に関する情報を、前記ユーザの端末へ通知する通知部と、
を備える。
【0007】
本開示により提供される一態様例は、
ネットワークを介してユーザの端末と通信可能に接続された、産業財産権の年金を管理する制御装置であって、
前記ユーザが保有する産業財産権群から、年金支払い期限日が所定期間に属する支払い要否を問い合わせる産業財産権群を抽出し、
抽出された前記産業財産権群に付随する属性情報と同一の属性情報を有する産業財産権群であって、年金支払い期限日が前記所定期間より前である産業財産権群の維持状況に関する指標を算出し、
年金支払い要否を問い合わせる産業財産権とともに、前記指標に関する情報を、前記ユーザの端末へ、通知する。
【発明の効果】
【0008】
本発明によれば、産業財産権の維持状況に関する指標の変化をユーザが簡単に把握できる。
【図面の簡単な説明】
【0009】
本発明の一実施形態に係る指標監視システムのブロック図を示している。
第一実施形態に係る制御装置により実行される指標監視処理の流れを例示している。
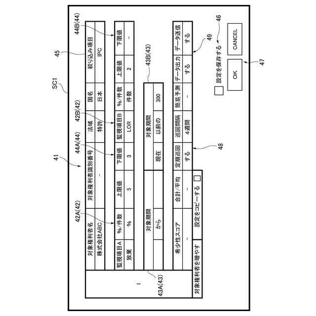
ユーザの端末装置に表示される入力画面の一例を示している。
ユーザにより所定の情報が入力された入力画面の一例を示している。
指標テーブルを含む出力画面の一例を示している。
ユーザにより所定の情報が入力された入力画面の別例を示している。
ポップアップ表示されたユーザの端末装置に表示される画面の一例を示している。
ユーザにより所定の情報が入力された入力画面の別例を示している。
図8の入力画面に入力された情報に基づいた指標テーブルを含む出力画面の一例を示している。
図8の入力画面に入力された情報に基づいた指標テーブルの別例を示している。
ユーザにより所定の情報が入力された入力画面の別例を示している。
図11に示す入力画面に入力された情報に基づいて算出された指標を示す指標テーブルを例示している。
維持案件リストの一例を示している。
放棄案件リストの一例を示している。
費用予測を含む指標テーブルの一例を示している。
希少性スコアテーブルの一例を示している。
第二実施形態に係る制御装置により実行される年金支払い問い合わせ処理の流れを例示している。
株式会社ABCの端末装置に表示される画面の一例を示している。
株式会社ABCの端末装置に表示される画面の別例を示している。
【発明を実施するための形態】
【0010】
添付の図面を参照しつつ、実施形態の例について以下詳細に説明する。
(【0011】以降は省略されています)
この特許をJ-PlatPat(特許庁公式サイト)で参照する
関連特許
他の特許を見る