TOP
|
特許
|
意匠
|
商標
特許ウォッチ
Twitter
他の特許を見る
10個以上の画像は省略されています。
公開番号
2025035508
公報種別
公開特許公報(A)
公開日
2025-03-13
出願番号
2023142597
出願日
2023-09-01
発明の名称
エリア分割された薄型デバイス及びその使用方法
出願人
株式会社太陽機械製作所
代理人
個人
,
個人
主分類
G01N
27/00 20060101AFI20250306BHJP(測定;試験)
要約
【課題】薄型デバイスを作動機器に設置する際にデバイスの接続部と作動機器の端子の位置ズレが生じた場合でも、使用可能端子を自動的に設定することで、利用者は位置ズレついて意識することなく薄型デバイスを作動させ使用することが可能となる薄型デバイス及びその使用方法を提供することを課題としている。
【解決手段】電気絶縁性材料からなる基材上に、導電性インキを用いて形成された導電性パターンの繰り返し単位毎に区画された複数個の作動エリアと、該作動エリアの各々と電気的にそれぞれ接続し、作動機器の接続端子と位置合わせされることで導電性パターンを作動機器に接続するための複数個の接続パッドとを備え、前記接続パッドは、作動機器の接続端子の複数個と位置合わせが可能である幅を有すると共に、前記複数個の作動エリアから選択された所定の2つ以上の作動エリアに対して導通可能である接続パッドを含むことを特徴とする構成になっている。
【選択図】図1
特許請求の範囲
【請求項1】
作動機器と接続して所定の働きを行う薄型デバイスであって、
該薄型デバイスは、
電気絶縁性材料からなる基材上に、
導電性インキを用いて印刷することにより形成された導電性パターンの繰り返し単位毎に区画された複数個の作動エリアと、
該作動エリアの各々と電気的にそれぞれ接続し、
作動機器の接続端子と位置合わせされることで導電性パターンを作動機器に接続するための複数個の接続パッドと
を備え、
前記接続パッドは、
作動機器の接続端子の複数個と位置合わせが可能である幅を有すると共に、
前記複数個の作動エリアから選択された所定の2つ以上の作動エリアに対して導通可能である接続パッドを含む
ことを特徴とする薄型デバイス。
続きを表示(約 930 文字)
【請求項2】
前記作動エリア及び前記接続パッドは、複数段に形成されている
ことを特徴とする請求項1に記載の薄型デバイス。
【請求項3】
請求項1又は2に記載の薄型デバイスの使用方法であって、
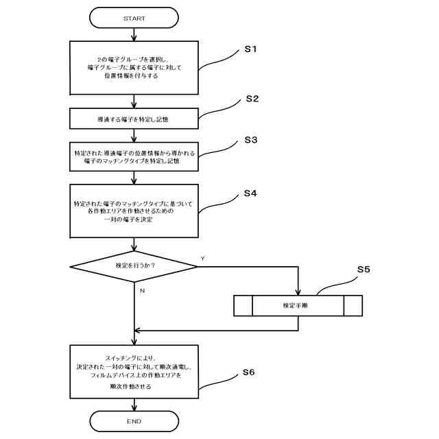
薄型デバイス上に形成された前記接続パットの幅内に位置合わせ可能である複数の接続端子で構成される端子グループを複数個備える作動機器を薄型デバイスと接続した後、
前記複数個の端子グループから選択された2の端子グループに対して、
それぞれの端子が端子グループ内のどの位置にあるかを特定する端子位置情報を付与する第1のステップと、
第1のステップで付与された端子位置情報に基づいて、第1のステップで選択された2の端子グループに属する端子について、導通する端子を特定し記憶する第2のステップと、
第2のステップで特定された導通する端子の位置情報から導かれる端子のマッチングタイプを特定し記憶する第3のステップと、
第3のステップで特定された端子のマッチングタイプに基づいて、薄型デバイス上のそれぞれの作動エリアを作動させるための一対の端子を決定する第4のステップと、
通電させる作動機器の端子を順次切り替えていくスイッチングを行うことで、第4のステップで決定された、それぞれの作動エリア作動させるための一対の端子に対して順次通電を行うことで、薄型デバイス上の対応する作動エリアを順次作動させる第6のステップを含む
ことを特徴とする薄型デバイスの使用方法。
【請求項4】
前記薄型デバイスが、長尺の基材上に前記複数個の作動エリアを印刷により形成した後に、所定の長尺方向長さで切断して作成された薄型デバイスであって、
前記第4のステップの後に、
前記作動機器の接続端子のうち、前記第4のステップで特定された端子のマッチングタイプに基づいて選択された接続端子のうち、作動機器の外方端に近い接続端子から順に通電を行って、薄型デバイスの外方端に隣接する作動エリアの導通を確認する第5のステップを含むことを特徴とする請求項3に記載の薄型デバイスの使用方法。
発明の詳細な説明
【技術分野】
【0001】
本発明はロール形状の基材(フィルム、紙等)に印刷技術を用いて製造される薄型デバイスに関し、特に、解像度を向上させるためにエリア分割された薄型デバイスについて、従来より単純な構成(電熱線パターン等)を可能とし、かつ、作動機器にセットする際に生じ易い位置ズレにより生じる問題を解消した薄型デバイス及びその使用方法に関する。
続きを表示(約 3,300 文字)
【背景技術】
【0002】
従来より、印刷技術を用いてロール形状の基材(フィルムや紙等の絶縁性素材)に電極やセンサを形成することで、温度や湿度、圧電等を感知する薄型デバイス、例えば基材がフィルムであればフィルムセンサ、フィルムヒーター、フィルムスピーカー、フィルム太陽電池、フィルムバッテリー等と呼ばれる様々な印刷技術を用いた薄型デバイスが製造されている。印刷技術による薄型デバイスの製造は、版のパターンを変えるだけで様々な任意のデバイス形状(電熱線パターン等)を製造できる利点がある。更に、これらの薄型デバイスは、エリアを分割して使用する技術と併用することで、各種センサであればその分解能を高めることができ、ヒーターやスピーカーであれば、デバイス内の特定領域のみを使い分けすることも可能となり、太陽電池やバッテリーであれば、消費電力の節約が可能になる等、利便性が高まる。
【0003】
出願人は、このようにエリア分けされた水分検知フィルムデバイス(薄型デバイス)及び、測定値を記憶された基準値と照合することで水分が侵入したエリア及び侵入水分量を特定する方法を提案している(特許文献1)。これは、例えばペット用のトレイに利用するペットシートとして電極と保水層を備えたフィルムデバイスを有する使い捨てシートを用意し、当該シートをペットトイレに設置(載置)することで、トイレ内のどのエリアにどれくらいの水分量が侵入したかを検知することできる。それにより、ペットシートの交換時期を知ることができるのみならず、ペットのトイレ事情を把握し健康管理に繋げることをも可能とするものである。このように、各種薄型デバイスは、当該薄型デバイスとの電気信号のやり取りを制御して、当該薄型デバイスをセンサ、ヒーター、スピーカー、太陽電池、バッテリー等として機能させるための作動機器と組み合わせて用いられることが多い。
【先行技術文献】
【特許文献】
【0004】
特開2022-110401号公報
【発明の概要】
【発明が解決しようとする課題】
【0005】
しかし、薄型デバイスをエリア分けして制御するには、各エリアに対応する作動機器の接点(端子、プローブ等)や回路が必要となるため、機器の構成や制御方法が複雑化し易い問題がある。また、薄型デバイスを作動機器に設置する際、設置位置が微妙にズレた場合、作動機器の接点(端子、プローブ等)と薄型デバイスの接点エリア(例えば接続パッド)との位置が合わず通電不良を起こすという問題があった。これは、ペットシートのように頻繁に交換して使用する場合や、薄型デバイスの基材が伸縮し易い材質であるときに、特に起き易い問題であった。また、印刷技術を用いた薄型デバイスの製造は、生産性の高いroll to roll方式で印刷されたロール状のフィルムを、使用に適した所定の長さにカットして製造されることが多い。この場合、カット環境の温度、湿度等の変動によりフィルムに微小な伸縮が生じることで、カット位置がズレてしまうことがあった。これは薄型デバイスが精細なパターンであるために精密なカット位置の調整が求められるような場合に特に問題となる。
【0006】
そこで、本発明はこのような問題点を鑑み、作動機器の1つの接点を、薄型デバイス上の複数の作動エリアで共有することができるパターンを有する薄型デバイスを提供し、更に、接点の位置ズレが生じた場合でも他の接点の代用が可能となるパターンを有する薄型デバイス、及びその使用方法を提供することを目的としている。
【課題を解決するための手段】
【0007】
上記課題を解決するため、本願発明の薄型デバイスは、作動機器と接続して所定の働きを行う薄型デバイスであって、電気絶縁性材料からなる基材上に、導電性インキを用いて印刷することにより形成された導電性パターンの繰り返し単位毎に区画された複数個の作動エリアと、該作動エリアの各々と電気的にそれぞれ接続し、作動機器の接続端子と位置合わせされることで導電性パターンを作動機器に接続するための複数個の接続パッドとを備え、前記接続パッドは、作動機器の接続端子の複数個と位置合わせが可能である幅を有すると共に、前記複数個の作動エリアから選択された所定の2つ以上の作動エリアに対して導通可能であるパッドを含むことを特徴とする。このような構成により、薄型デバイスの接点と作動機器の接点の位置合わせにズレが生じた場合でも、作動機器の他の接点を利用して薄型デバイスを作動させることができる。また、1の接続パッドで所定の2つ(若しくはそれ以上)の作動エリアを作動させることができるため、エリア分けされた薄型デバイス上のパターンを単純化させることができると共に、作動機器の構成や制御方法についても単純化することができる。
【0008】
また、本発明の薄型デバイスの他の形態は、作動エリア及び接続パッドは、それぞれ幅方向に複数段で形成されていることを特徴とする。このような構成によれば、デバイスの例えばセンサとしての解像度を上げることができ、またヒーターであれば所定のエリアのみを加熱する等の使い方が可能となり利便性を向上させることができると共に、薄型デバイス上のパターンを単純化させることができる利点がある。
【0009】
また、本発明の薄型デバイスの使用方法は、薄型デバイス上に形成された前記接続パットの幅内に位置合わせ可能である複数の接続端子で構成される端子グループを複数個備える作動機器を薄型デバイスと接続した後、前記複数個の端子グループから選択された2の端子グループに対して、それぞれの端子が端子グループ内のどの位置にあるかを特定する端子位置情報を付与する第1のステップと、
第1のステップで付与された端子位置情報に基づいて、第1のステップで選択された2の端子グループに属する端子について、導通する端子を特定し記憶する第2のステップと、
第2のステップで特定された導通する端子の位置情報から導かれる端子のマッチングタイプを特定し記憶する第3のステップと、
第3のステップで特定された端子のマッチングタイプに基づいて、薄型デバイス上のそれぞれの作動エリアを作動させるための一対の端子を決定する第4のステップと、
通電させる作動機器の端子を順次切り替えていくスイッチングを行うことで、第4のステップで決定された、それぞれの作動エリア作動させるための一対の端子に対して順次通電を行うことで、薄型デバイス上の対応する作動エリアを順次作動させる第6のステップを含むことを特徴とする。このような構成によれば、薄型デバイスを作動機器に設置する際に起こり得る端子の位置ズレが生じた場合でも、通電不良を起こすことなく使用できるため、利用者は薄型デバイス設置の際の位置ズレを気にする必要がなくなる。
【0010】
また、更に本発明の薄型デバイスの使用方法は、前記薄型デバイスが、長尺の基材上に前記複数個の作動エリアを印刷により形成した後に、所定の長尺方向長さで切断して作成された薄型デバイスであって、前記第4のステップの後に、前記作動機器の接続端子のうち、前記第4のステップで特定された端子のマッチングタイプに基づいて選択された接続端子のうち、作動機器の外方端に近い接続端子から順に通電を行って、薄型デバイスの外方端に隣接する作動エリアの導通を確認する第5のステップを含むことを特徴とする。このような構成によれば、薄型デバイスの作成時のカットの際の位置ズレにより使用不能となった作動エリアを素早く確定させることができると共に、その情報に基づいて薄型デバイスを作動させることができるため、カット端となる薄型デバイスの両端領域についても有効活用ができる。また、高度なカット精度が不要となるため、薄型デバイスの製造効率を向上させることができる。
【発明の効果】
(【0011】以降は省略されています)
この特許をJ-PlatPat(特許庁公式サイト)で参照する
関連特許
個人
採尿及び採便具
15日前
日本精機株式会社
検出装置
9日前
個人
アクセサリー型テスター
1か月前
個人
高精度同時多点測定装置
1か月前
個人
計量機能付き容器
4日前
株式会社ミツトヨ
測定器
21日前
甲神電機株式会社
電流検出装置
9日前
アズビル株式会社
電磁流量計
24日前
トヨタ自動車株式会社
監視装置
1か月前
大成建設株式会社
風洞実験装置
4日前
ダイキン工業株式会社
監視装置
1か月前
個人
計量具及び計量機能付き容器
4日前
ローム株式会社
半導体装置
29日前
ローム株式会社
半導体装置
29日前
日本信号株式会社
距離画像センサ
7日前
個人
システム、装置及び実験方法
24日前
日本特殊陶業株式会社
ガスセンサ
2日前
TDK株式会社
磁気センサ
1か月前
双庸電子株式会社
誤配線検査装置
10日前
愛知時計電機株式会社
ガスメータ
21日前
大和製衡株式会社
組合せ計量装置
18日前
個人
非接触による電磁パルスの測定方法
7日前
長崎県
形状計測方法
1か月前
大和製衡株式会社
組合せ計量装置
18日前
愛知電機株式会社
軸部材の外観検査装置
18日前
トヨタ自動車株式会社
測定システム
28日前
株式会社不二越
X線測定装置
7日前
ダイハツ工業株式会社
移動支援装置
1か月前
日本特殊陶業株式会社
センサ
1か月前
個人
液位検視及び品質監視システム
2日前
日本特殊陶業株式会社
センサ
1か月前
日本特殊陶業株式会社
センサ
1か月前
株式会社デンソー
電流センサ
29日前
日本特殊陶業株式会社
センサ
21日前
三恵技研工業株式会社
融雪レドーム
1か月前
中国電力株式会社
電柱管理システム
1か月前
続きを見る
他の特許を見る