TOP
|
特許
|
意匠
|
商標
特許ウォッチ
Twitter
他の特許を見る
公開番号
2025032638
公報種別
公開特許公報(A)
公開日
2025-03-12
出願番号
2023138034
出願日
2023-08-28
発明の名称
計算装置
出願人
株式会社東芝
代理人
弁理士法人iX
主分類
H10N
60/10 20230101AFI20250305BHJP()
要約
【課題】特性を向上可能な計算装置を提供する。
【解決手段】実施形態によれば、計算装置は、素子部と、第1導電部と、第2導電部と、第1結合導電部と、制御部と、を含む。素子部は、第1構造体、第2構造体及び第1結合構造体を含む。第1構造体は、第1キャビティ共振器と、第1他キャビティ共振器と、第1結合器と、を含む。第2構造体は、第2キャビティ共振器と、第2他キャビティ共振器と、第2結合器と、を含む。第1結合構造体は、第1構造体と第2構造体とを結合可能である。制御部は、第1導電部に交流成分を含む第1交流信号を供給可能である。制御部は、第2導電部に交流成分を含む第2交流信号を供給可能である。制御部は、第1結合導電部に第1直流パルス信号を供給可能である。
【選択図】図1
特許請求の範囲
【請求項1】
素子部と、
第1導電部と、
第2導電部と、
第1結合導電部と、
制御部と、
を備え、
前記素子部は、第1構造体、第2構造体及び第1結合構造体を含み、
前記第1構造体は、
第1共振周波数を有する第1キャビティ共振器と、
第1他共振周波数を有する第1他キャビティ共振器と、
前記第1キャビティ共振器と前記第1他キャビティ共振器とを結合可能な第1結合器と、
を含み、
前記第1他共振周波数は、前記第1共振周波数よりも低く、
前記第2構造体は、
第2共振周波数を有する第2キャビティ共振器と、
第2他共振周波数を有する第2他キャビティ共振器と、
前記第2キャビティ共振器と前記第2他キャビティ共振器とを結合可能な第2結合器と、
を含み、
前記第2他共振周波数は、前記第2共振周波数よりも低く、
前記第1結合構造体は、前記第1構造体と前記第2構造体とを結合可能であり、
前記制御部は、前記第1導電部に交流成分を含む第1交流信号を供給可能であり、
前記制御部は、前記第2導電部に交流成分を含む第2交流信号を供給可能であり、
前記第1交流信号に応じて前記第1導電部から生じる第1磁界は、前記第1結合器に印加され、
前記第2交流信号に応じて前記第2導電部から生じる第2磁界は、前記第2結合器に印加され、
前記制御部は、前記第1結合導電部に第1直流パルス信号を供給可能であり、
前記第1直流パルス信号に応じて前記第1結合導電部から生じる第1結合磁界は、前記第1結合構造体に印加される、計算装置。
続きを表示(約 2,400 文字)
【請求項2】
第1状態において、前記第1直流パルス信号が前記第1結合導電部に供給される前であり、
第2状態において、前記第1直流パルス信号が前記第1結合導電部に供給され、
前記第1状態における前記第1結合構造体の第1状態共振周波数と、前記第1他共振周波数と、の差は、前記第2状態における前記第1結合構造体の第2状態共振周波数と、前記第1他共振周波数と、の差よりも大きい、請求項1に記載の計算装置。
【請求項3】
前記第1結合構造体は、前記第1他キャビティ共振器及び前記第2キャビティ共振器と結合可能である、請求項1または2に記載の計算装置。
【請求項4】
前記第1結合器は、第1ジョセフソン接合と、前記第1ジョセフソン接合と並列に接続された第1他ジョセフソン接合と、を含み、
前記第2結合器は、第2ジョセフソン接合と、前記第2ジョセフソン接合と並列に接続された第2他ジョセフソン接合と、を含み、
前記第1結合構造体は、第1結合ジョセフソン接合と、前記第1結合ジョセフソン接合と並列に接続された第1結合他ジョセフソン接合と、を含む、請求項1に記載の計算装置。
【請求項5】
前記第1結合構造体は、第1結合ジョセフソン接合と、第1結合他ジョセフソン接合と、第1結合中間ジョセフソン接合と、を含み、
前記第1結合ジョセフソン接合の端部は、前記第1結合中間ジョセフソン接合の端部と接続され、
前記第1結合ジョセフソン接合の他端部は、前記第1結合他ジョセフソン接合の他端部と接続され、
前記第1結合他ジョセフソン接合の端部は、前記第1結合中間ジョセフソン接合の他端部と接続された、請求項1に記載の計算装置。
【請求項6】
前記第1結合器は、第1ジョセフソン接合と、第1他ジョセフソン接合と、第1中間ジョセフソン接合と、を含み、
前記第1ジョセフソン接合の端部は、前記第1中間ジョセフソン接合の端部と接続され、
前記第1ジョセフソン接合の他端部は、前記第1他ジョセフソン接合の他端部と接続され、
前記第1他ジョセフソン接合の端部は、前記第1中間ジョセフソン接合の他端部と接続された、請求項5に記載の計算装置。
【請求項7】
前記第2結合器は、第2ジョセフソン接合と、第2他ジョセフソン接合と、第2中間ジョセフソン接合と、を含み、
前記第2ジョセフソン接合の端部は、前記第2中間ジョセフソン接合の端部と接続され、
前記第2ジョセフソン接合の他端部は、前記第2他ジョセフソン接合の他端部と接続され、
前記第2他ジョセフソン接合の端部は、前記第2中間ジョセフソン接合の他端部と接続された、請求項6に記載の計算装置。
【請求項8】
素子部を備え、
前記素子部は、第1構造体、第2構造体及び第1結合構造体を含み、
前記第1構造体は、
第1共振周波数を有する第1キャビティ共振器と、
第1他共振周波数を有する第1他キャビティ共振器と、
前記第1キャビティ共振器と前記第1他キャビティ共振器とを結合可能な第1結合器と、
を含み、
前記第1他共振周波数は、前記第1共振周波数よりも低く、
前記第2構造体は、
第2共振周波数を有する第2キャビティ共振器と、
第2他共振周波数を有する第2他キャビティ共振器と、
前記第2キャビティ共振器と前記第2他キャビティ共振器とを結合可能な第2結合器と、
を含み、
前記第2他共振周波数は、前記第2共振周波数よりも低く、
前記第1結合構造体は、前記第1構造体と前記第2構造体とを結合可能である、計算装置。
【請求項9】
前記第1結合構造体は、第1結合ジョセフソン接合と、第1結合他ジョセフソン接合と、第1結合中間ジョセフソン接合と、を含み、
前記第1結合ジョセフソン接合の端部は、前記第1結合中間ジョセフソン接合の端部と接続され、
前記第1結合ジョセフソン接合の他端部は、前記第1結合他ジョセフソン接合の他端部と接続され、
前記第1結合他ジョセフソン接合の端部は、前記第1結合中間ジョセフソン接合の他端部と接続された、請求項8に記載の計算装置。
【請求項10】
前記第1結合構造体は、第1結合部分、第1結合他部分、第1結合対向部分及び第1結合対向他部分を含み、
前記第1結合対向部分は、前記第1結合ジョセフソン接合の一端、及び、前記第1結合中間ジョセフソン接合の一端と電気的に接続され、
前記第1結合対向他部分は、前記第1結合他ジョセフソン接合の一端、及び、前記第1結合中間ジョセフソン接合の他端と電気的に接続され、
前記第1結合部分は、前記第1結合ジョセフソン接合の他端、及び、前記第1結合他ジョセフソン接合の他端と電気的に接続され、
前記第1結合他部分は、前記第1結合ジョセフソン接合の他端、及び、前記第1結合他ジョセフソン接合の他端と電気的に接続され、
前記第1結合部分は、前記第1他キャビティ共振器の第1他キャビティ共振器外囲器部材と電気的に接続され、
前記第1結合他部分は、前記第2キャビティ共振器の第2キャビティ共振器外囲器部材と電気的に接続され、
前記第1結合対向部分は、前記第1他キャビティ共振器の第1他キャビティ共振器内側部材と容量的に結合され、
前記第1結合対向他部分は、前記第2キャビティ共振器の第2キャビティ共振器内側部材と容量的に結合される、請求項5または9に記載の計算装置。
発明の詳細な説明
【技術分野】
【0001】
本発明の実施形態は、計算装置に関する。
続きを表示(約 2,000 文字)
【背景技術】
【0002】
例えば、複数の非線形素子を含む電子回路が計算装置に用いられる。電子回路及び計算装置において、特性の向上が望まれる。
【先行技術文献】
【非特許文献】
【0003】
J. D. Teoh et al., arXiv: 2212.12077 (2022)
H. Goto, Physical Review Applied 18, 034038 (2022)
【発明の概要】
【発明が解決しようとする課題】
【0004】
本発明の実施形態は、特性を向上可能な計算装置を提供する。
【課題を解決するための手段】
【0005】
本発明の実施形態によれば、計算装置は、素子部と、第1導電部と、第2導電部と、第1結合導電部と、制御部と、を含む。前記素子部は、第1構造体、第2構造体及び第1結合構造体を含む。前記第1構造体は、第1共振周波数を有する第1キャビティ共振器と、第1他共振周波数を有する第1他キャビティ共振器と、前記第1キャビティ共振器と前記第1他キャビティ共振器とを結合可能な第1結合器と、を含む。前記第1他共振周波数は、前記第1共振周波数よりも低い。前記第2構造体は、第2共振周波数を有する第2キャビティ共振器と、第2他共振周波数を有する第2他キャビティ共振器と、前記第2キャビティ共振器と前記第2他キャビティ共振器とを結合可能な第2結合器と、を含む。前記第2他共振周波数は、前記第2共振周波数よりも低い。前記第1結合構造体は、前記第1構造体と前記第2構造体とを結合可能である。前記制御部は、前記第1導電部に交流成分を含む第1交流信号を供給可能である。前記制御部は、前記第2導電部に交流成分を含む第2交流信号を供給可能である。前記第1交流信号に応じて前記第1導電部から生じる第1磁界は、前記第1結合器に印加される。前記第2交流信号に応じて前記第2導電部から生じる第2磁界は、前記第2結合器に印加される。前記制御部は、前記第1結合導電部に第1直流パルス信号を供給可能である。前記第1直流パルス信号に応じて前記第1結合導電部から生じる第1結合磁界は、前記第1結合構造体に印加される。
【図面の簡単な説明】
【0006】
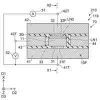
図1は、第1実施形態に係る計算装置を例示する模式的平面図である。
図2は、第1実施形態に係る計算装置の一部を例示する模式的斜視図である。
図3は、第1実施形態に係る計算装置を例示する模式的平面図である。
図4は、第1実施形態に係る計算装置を例示する模式的平面図である。
図5は、第2実施形態に係る計算装置を例示する模式的平面図である。
【発明を実施するための形態】
【0007】
以下に、本発明の実施形態について図面を参照しつつ説明する。
図面は模式的または概念的なものであり、各部分の厚さと幅との関係、部分間の大きさの比率などは、必ずしも現実のものと同一とは限らない。同じ部分を表す場合であっても、図面により互いの寸法や比率が異なって表される場合もある。
本願明細書と各図において、既出の図に関して前述したものと同様の要素には同一の符号を付して詳細な説明は適宜省略する。
【0008】
(第1実施形態)
図1は、第1実施形態に係る計算装置を例示する模式的平面図である。
図2は、第1実施形態に係る計算装置の一部を例示する模式的斜視図である。
図1に示すように、実施形態に係る計算装置110は、素子部10Eを含む。この例では、計算装置110は、第1導電部41、第2導電部42、第1結合導電部61及び制御部70をさらに含む。
【0009】
素子部10Eは、第1構造体11、第2構造体12及び第1結合構造体21を含む。第1構造体11は、第1共振周波数を有する第1キャビティ共振器11Hと、第1他共振周波数を有する第1他キャビティ共振器11Lと、第1結合器11Cと、を含む。第1結合器11Cは、第1キャビティ共振器11Hと第1他キャビティ共振器11Lとを結合可能である。第1他共振周波数は、第1共振周波数よりも低い。第1構造体11は、2つのキャビティ共振器を含む、共振器ペアである。
【0010】
第2構造体12は、第2共振周波数を有する第2キャビティ共振器12Hと、第2他共振周波数を有する第2他キャビティ共振器12Lと、第2結合器12Cと、を含む。第2結合器12Cは、第2キャビティ共振器12Hと第2他キャビティ共振器12Lとを結合可能である。第2他共振周波数は、第2共振周波数よりも低い。第2構造体12は、2つのキャビティ共振器を含む、別の共振器ペアである。
(【0011】以降は省略されています)
この特許をJ-PlatPat(特許庁公式サイト)で参照する
関連特許
株式会社東芝
半導体装置
今日
株式会社東芝
台車搬送装置
11日前
株式会社東芝
超電導コイル
今日
株式会社東芝
磁気ディスク装置
11日前
株式会社東芝
光量子乱数生成器
7日前
株式会社東芝
真空ダクト及び加速器
今日
株式会社東芝
熱輸送装置及び蓄電池装置
5日前
株式会社東芝
半導体装置、及び製造方法
今日
株式会社東芝
方法および磁気ディスク装置
11日前
株式会社東芝
光学素子及び面発光型レーザ
11日前
株式会社東芝
ICモジュール及びICカード
5日前
株式会社東芝
超電導コイル及びその製造方法
7日前
株式会社東芝
磁気ヘッド、及び、磁気記録装置
今日
株式会社東芝
作業支援システム及び作業支援方法
11日前
株式会社東芝
制御サーバ、および、充電制御方法
4日前
株式会社東芝
ロボット、発光装置、及び教示方法
11日前
株式会社東芝
コンデンサ及びコンデンサの製造方法
11日前
株式会社東芝
異常判定システムおよび異常判定方法
今日
株式会社東芝
通信装置、通信方法およびプログラム
6日前
株式会社東芝
ICカード及びICカードの製造方法
6日前
株式会社東芝
監視盤、駅務システム、および駅務方法
7日前
株式会社東芝
半導体装置および半導体装置の製造方法
今日
株式会社東芝
ケーブル端子台および結線情報管理装置
6日前
東芝ライテック株式会社
制御システム
5日前
東芝ライテック株式会社
制御システム
4日前
株式会社東芝
材料寿命序列判定方法およびプログラム
4日前
株式会社東芝
通信装置、通信方法、および、プログラム
11日前
株式会社東芝
ガス検出装置及びガス検出装置の制御方法
11日前
株式会社東芝
超電導コイルの製造方法および超電導コイル
今日
株式会社東芝
秘密分散保管方法及び秘密分散保管システム
6日前
株式会社東芝
情報処理装置、情報処理方法およびプログラム
11日前
株式会社東芝
秘密分散保管システムおよび秘密分散保管方法
6日前
株式会社東芝
ワイヤボンディング装置、及び動作方法、及び制御方法
11日前
株式会社東芝
データ処理プログラム、データ処理装置、及びデータ処理方法
今日
株式会社東芝
ケーブル保護装置、ケーブル保護方法および粒子線治療システム
今日
株式会社東芝
部分放電診断装置、部分放電診断方法、及び部分放電診断システム
6日前
続きを見る
他の特許を見る