TOP
|
特許
|
意匠
|
商標
特許ウォッチ
Twitter
他の特許を見る
公開番号
2025032477
公報種別
公開特許公報(A)
公開日
2025-03-12
出願番号
2023137757
出願日
2023-08-28
発明の名称
振動低減地盤構造およびその構築方法
出願人
大和ハウス工業株式会社
代理人
個人
主分類
E02D
27/12 20060101AFI20250305BHJP(水工;基礎;土砂の移送)
要約
【課題】地盤振動を遮断するための防振材を用いることなく振動を低減でき、防振材が廃棄されることによる環境負荷の増大を回避できる振動低減地盤構造およびその構築方法を提供する。
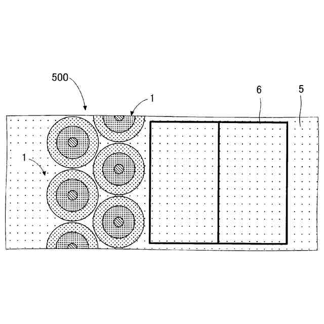
【解決手段】振動低減地盤構造500は、摩擦杭部材10と反射層部11,12とにより構築されている。反射層部11,12は、改良対象とする地盤5に埋め込まれた管部材11P,12Pと、管部材11P,12P内に存在し、当該管部材11P,12Pに入力する振動を反射により減衰させる特性を地盤5の土を利用して具備させた特性変化土11S,12Sとからなる。摩擦杭部材10は、特性変化土11Sを通って入力する振動を反射により減衰させる特性を具備する。
【選択図】図1
特許請求の範囲
【請求項1】
改良対象とする地盤に埋め込まれた管部材と、この管部材内に存在し、当該管部材に入力する振動を反射により減衰させる特性を上記地盤の土を利用して具備させた特性変化土と、を有する反射層部が構築されたことを特徴とする振動低減地盤構造。
続きを表示(約 960 文字)
【請求項2】
請求項1に記載の振動低減地盤構造において、上記特性変化土内に、当該特性変化土を通って入力する振動を反射により減衰させる特性を具備する摩擦杭部材を有することを特徴とする振動低減地盤構造。
【請求項3】
請求項2に記載の振動低減地盤構造において、上記特性変化土の摩擦抵抗力は、上記地盤の土の摩擦抵抗力よりも高いことを特徴とする振動低減地盤構造。
【請求項4】
請求項1~請求項3のいずれか1項に記載の振動低減地盤構造において、上記反射層部の周囲に、他の管部材および当該他の管部材に入力する振動を反射により減衰させる特性を上記地盤の土を利用して具備させた他の特性変化土からなる他の反射層部を、1層または複数層有することを特徴とする振動低減地盤構造。
【請求項5】
請求項1~請求項3のいずれか1項に記載の振動低減地盤構造を構築する方法であって、上記特性変化土を、その変化前の上記管部材内の上記地盤の土に対して転圧処理を施すことにより得ることを特徴とする振動低減地盤構造の構築方法。
【請求項6】
請求項5に記載の振動低減地盤構造の構築方法において、上記変化前の上記地盤の土に、当該土よりも密度が高い礫を混合して上記転圧処理を施すことを特徴とする振動低減地盤構造の構築方法。
【請求項7】
請求項1~請求項3のいずれか1項に記載の振動低減地盤構造を構築する方法であって、上記特性変化土を、その変化前の上記地盤の土に、生分解性プラスチックを混入させることによって得ることを特徴とする振動低減地盤構造の構築方法。
【請求項8】
請求項2または請求項3に記載の振動低減地盤構造を構築する方法であって、上記管部材を上記地盤の土に先に埋め込み、上記管部材内の上記地盤の土に、上記摩擦杭部材を打ち込むことを特徴とする振動低減地盤構造の構築方法。
【請求項9】
請求項2または請求項3に記載の振動低減地盤構造を構築する方法であって、上記摩擦杭部材を上記地盤の土に先に埋め込み、上記摩擦杭部材を中心に当該摩擦杭部材を囲うように、上記管部材を上記地盤の土に埋め込むことを特徴とする振動低減地盤構造の構築方法。
発明の詳細な説明
【技術分野】
【0001】
この発明は、地盤による振動の伝わりを低減できる振動低減地盤構造およびその構築方法に関する。
続きを表示(約 1,400 文字)
【背景技術】
【0002】
特許文献1には、円形断面の既製杭を用いる建築物の基礎杭において、基礎杭本体の上部に一定の間隔を保って同心円状に鋼管を配置し、上記基礎杭本体と鋼管との隙間またはその一部に地盤振動を遮断するための防振材を取り付けてなり、上記鋼管は、該鋼管に偏土圧が作用したとき変形して、上記防振材の一部に防振性能を著しく低下させる程度の圧縮量を発生させないに十分な剛性を有する地盤振動遮断機能を備えた基礎杭が開示されている。
【先行技術文献】
【特許文献】
【0003】
特開平5-280046号
【発明の概要】
【発明が解決しようとする課題】
【0004】
しかしながら、上記従来の地盤構造では、上記基礎杭本体と鋼管との隙間またはその一部に地盤振動を遮断するための防振材が必要であり、また、このような地盤をさらに改良するような場合には、上記防振材が廃棄物となって環境負荷を大きくするおそれがある。
【0005】
この発明は、上記の事情に鑑み、地盤振動を遮断するための防振材を用いることなく振動を低減でき、防振材が廃棄されることによる環境負荷の増大を回避できる振動低減地盤構造およびその構築方法を提供することを課題とする。
【課題を解決するための手段】
【0006】
この発明に係る振動低減地盤構造は、上記課題を解決するために、改良対象とする地盤に埋め込まれた管部材と、この管部材内に存在し、当該管部材に入力する振動を反射により減衰させる特性を上記地盤の土を利用して具備させた特性変化土と、を有する反射層部が構築されたことを特徴とする。
【0007】
上記の構成であれば、上記地盤から上記特性変化土に入力する振動を、当該特性変化土によって反射し、上記地盤による振動の伝わりを低減することができる。上記特性変化土は、上記管部材によって上記地盤の土と明確に区切られるので、振動の反射が得やすくなる。そして、振動を遮断するための防振材を用いる必要が無いので環境負荷の増大を回避でき、上記地盤の土を利用するので、廃土もほとんど生じない。
【0008】
上記特性変化土内に、当該特性変化土を通って入力する振動を反射により減衰させる特性を具備する摩擦杭部材を有してもよい。これによれば、摩擦杭部材による建物支持と振動低減の両方を兼ねる地盤に改良できる。また、上記管部材内の上記特性変化土から上記摩擦杭部材に入力する振動の減衰によって当該地盤上の建物への振動の影響をさらに低減することができる。
【0009】
上記特性変化土の摩擦抵抗力は、上記地盤の土の摩擦抵抗力よりも高くされていてもよい。これによれば、上記特性変化土内に位置する摩擦杭部材による建物支持力の向上を図ることができる。
【0010】
上記反射層部の周囲に、他の管部材および当該他の管部材に入力する振動を反射により減衰させる特性を上記地盤の土を利用して具備させた他の特性変化土からなる他の反射層部を、1層または複数層有してもよい。これによれば、上記反射層部が多重に形成されるので、上記地盤による振動の伝わりをさらに低減することができる。
(【0011】以降は省略されています)
この特許をJ-PlatPat(特許庁公式サイト)で参照する
関連特許
FKS株式会社
擁壁
27日前
個人
建物の不同沈下の修正方法
3日前
鈴健興業株式会社
敷板部材
23日前
株式会社奥村組
ケーソン工法
1か月前
株式会社クボタ
作業車
25日前
株式会社クボタ
作業車
25日前
株式会社ネクステリア
平板基礎
23日前
個人
擁壁用ブロックおよび擁壁
24日前
千代田工営株式会社
回転貫入杭
10日前
株式会社大林組
建物の構造
24日前
株式会社奥村組
ケーソン刃口金物
1か月前
株式会社熊谷組
密度計測方法
25日前
株式会社熊谷組
山留壁用親杭
16日前
株式会社熊谷組
地盤改良方法
19日前
ヤンマーホールディングス株式会社
作業機械
9日前
日立建機株式会社
建設機械
17日前
日立建機株式会社
作業機械
10日前
日立建機株式会社
作業車両
12日前
日立建機株式会社
作業機械
27日前
日立建機株式会社
作業機械
16日前
日立建機株式会社
作業機械
17日前
日立建機株式会社
作業機械
16日前
日立建機株式会社
建設機械
17日前
ヤマト発動機株式会社
浮遊型消波装置
27日前
日立建機株式会社
建設機械
23日前
日立建機株式会社
作業機械
16日前
日本車輌製造株式会社
建設機械
12日前
ヤンマーホールディングス株式会社
作業機械
9日前
ライト工業株式会社
鉄筋保持用治具
17日前
株式会社三誠
建物の免震構造
3日前
カナデビア株式会社
サクション基礎
17日前
鹿島建設株式会社
接続方法および接続構造
12日前
株式会社次世代一次産業実践所
登山道の施工装置
4日前
JFEスチール株式会社
鋼管矢板の継手構造
17日前
株式会社竹内製作所
作業用車両
16日前
株式会社竹内製作所
作業用車両
16日前
続きを見る
他の特許を見る