TOP
|
特許
|
意匠
|
商標
特許ウォッチ
Twitter
他の特許を見る
公開番号
2025018875
公報種別
公開特許公報(A)
公開日
2025-02-06
出願番号
2023196695
出願日
2023-11-20
発明の名称
樹脂組成物およびその製造方法
出願人
南亞塑膠工業股分有限公司
,
NAN YA PLASTICS CORPORATION
代理人
個人
主分類
C08L
67/00 20060101AFI20250130BHJP(有機高分子化合物;その製造または化学的加工;それに基づく組成物)
要約
【目的】樹脂組成物およびその製造方法を提供する。
【解決手段】樹脂組成物は、その総重量に対し、35wt%~55wt%のポリエステル、0.1wt%~1.0wt%の酸化防止剤、7.5wt%~17.5wt%の難燃剤、25wt%~32wt%の充填補強材、および充填補強材の添加量の5wt%~15wt%に相当する相溶化剤を含む。
【選択図】図1
特許請求の範囲
【請求項1】
樹脂組成物であって、前記樹脂組成物の総重量に対し、
35wt%~55wt%のポリエステルと、
0.1wt%~1.0wt%の酸化防止剤と、
7.5wt%~17.5wt%の難燃剤と、
25wt%~32wt%の充填補強材と、
前記充填補強材の添加量の5wt%~15wt%に相当する相溶化剤と、
を含む樹脂組成物。
続きを表示(約 680 文字)
【請求項2】
UL94プラスチック可燃性基準V0レベル以上を有する請求項1に記載の樹脂組成物。
【請求項3】
前記ポリエステルが、0.55dL/g~0.76dL/gの固有粘度を有するポリエチレンテレフタレートを含む請求項1に記載の樹脂組成物。
【請求項4】
1wt%~5wt%の核剤さらに含む請求項1に記載の樹脂組成物。
【請求項5】
前記核剤が、無機核剤および有機核剤を含む請求項4に記載の樹脂組成物。
【請求項6】
0.05wt%~1wt%の流動助剤をさらに含む請求項1に記載の樹脂組成物。
【請求項7】
1.5wt%~5wt%の難燃助剤をさらに含む請求項1に記載の樹脂組成物。
【請求項8】
前記難燃剤の重量が、前記難燃助剤の重量の3倍~7倍である請求項7に記載の樹脂組成物。
【請求項9】
少なくとも溶融混練改質によって形成され、
押出機を提供することと、
35wt%~55wt%のポリエステル、0.1wt%~1.0wt%の酸化防止剤、7.5wt%~17.5wt%の難燃剤、25wt%~32wt%の充填補強材、および前記充填補強材の添加量の5wt%~15wt%に相当する相溶化剤を前記押出機に供給して、対応する溶融混練改質を行い、樹脂組成物を形成することと、
を含む樹脂組成物の製造方法。
【請求項10】
前記溶融混練改質が、前記押出機を介して加熱することを含む請求項9に記載の樹脂組成物の製造方法。
発明の詳細な説明
【技術分野】
【0001】
本発明は、樹脂組成物およびその製造方法に関するものであり、特に、難燃性ポリエステル樹脂組成物およびその製造方法に関するものである。
続きを表示(約 1,400 文字)
【背景技術】
【0002】
ポリエステルは、市場や日常生活で広く使用されている。対応するポリエステル材料を特別な、または広範な使用環境(例えば、潜在的な高温環境および/または潜在的な高ストレス環境)に適応できるようにするために、いかにして組成物を選択し、調製するかが、研究の話題となっている。
【発明の概要】
【発明が解決しようとする課題】
【0003】
上記の技術課題を解決するために使用することのできる樹脂組成物およびその製造方法を提供する。この樹脂組成物は、少なくとも難燃性であってもよい。
【課題を解決するための手段】
【0004】
本発明の樹脂組成物は、その総重量に対し、35重量%~55重量%のポリエステル、0.1重量%~1.0重量%の酸化防止剤、7.5重量%~17.5重量%の難燃剤、25%~32重量%の充填補強材、および充填補強材の添加量の5重量%~15重量%に相当する相溶化剤を含む。
【0005】
本発明の樹脂組成物の製造方法は、少なくとも混練押出法によって形成され、以下の操作を含む。二軸混練押出機を提供する。35重量%~55重量%のポリエステル、0.1重量%~1.0重量%の酸化防止剤、7.5重量%~17.5重量%の難燃剤、25%~32重量%の充填補強材、および充填補強材の添加量の5重量%~15重量%に相当する相溶化剤を二軸押出機に供給して溶融混練改質を行い、樹脂組成物を形成する。
【発明の効果】
【0006】
以上のように、少なくとも上述した樹脂組成物の組成およびその対応比率により、樹脂組成物は、少なくとも難燃性であり、良好な加工性を有することができる。
【図面の簡単な説明】
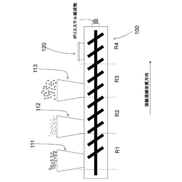
【0007】
本発明の1つの実施形態に係る樹脂組成物の製造方法の部分概略フローチャートである。
本発明の1つの実施形態に係る樹脂組成物の製造装置の部分概略図である。
【発明を実施するための形態】
【0008】
以下の詳細な説明では、限定ではなく説明の目的で、本発明の様々な原理を完全に理解するための具体的な詳細を示す例示的実施形態を開示する。しかしながら、この開示により、本発明は、ここで開示される具体的な詳細から逸脱した他の実施形態で実践できることが、当該技術分野の熟練者には明らかであるだろう。さらに、本発明の様々な原理の記載を不明瞭にしないために、周知の装置、方法、および材料の説明は、省略され得る。
【0009】
範囲は、本明細書において、「約」1つの特定の値から「約」別の特定の値までとして表現することができるため、1つの特定の値から、および/または別の特定の値までとして直接表現してもよい。範囲を表現するとき、別の実施形態は、1つの特定の値から、および/または別の特定の値までを含む。同様に、値を概略値として表現するとき、「約」という先行詞を使用して、特定の値が別の実施形態を形成することが理解される。さらに、各範囲の終点が他の終点と明示的に関連付けられているか、無関係であることが理解される。
【0010】
本発明において、非限定的な用語(例えば、~てもよい、できる、例えば、または他の類似する用語)は、任意的な、または選択的な実施、含有、添加、または存在を指す。
(【0011】以降は省略されています)
この特許をJ-PlatPat(特許庁公式サイト)で参照する
関連特許
株式会社カネカ
断熱材
5日前
東ソー株式会社
ペレット
28日前
ユニチカ株式会社
透明シート
2か月前
ユニチカ株式会社
透明シート
1か月前
株式会社コバヤシ
成形体
1か月前
東レ株式会社
熱硬化性樹脂組成物
2か月前
丸住製紙株式会社
変性パルプ
1か月前
東レ株式会社
ポリエステルフィルム
1か月前
住友精化株式会社
吸水剤の製造方法
1か月前
東レ株式会社
引抜成形品の製造方法
2か月前
東レ株式会社
ポリエステルフィルム
26日前
東ソー株式会社
プラスチゾル組成物
5日前
東ソー株式会社
ゴム用接着性改質剤
29日前
東レ株式会社
ポリオレフィン微多孔膜
3か月前
東レ株式会社
ポリプロピレンフィルム
1か月前
東ソー株式会社
エチレン系重合用触媒
8日前
横浜ゴム株式会社
重荷重タイヤ
1か月前
東ソー株式会社
樹脂組成物および蓋材
2か月前
東ソー株式会社
樹脂組成物および蓋材
2か月前
日本特殊陶業株式会社
樹脂成形体
1か月前
アイカ工業株式会社
光硬化性樹脂組成物
1か月前
株式会社コバヤシ
光硬化性組成物
3か月前
UBE株式会社
衝撃吸収材
1か月前
株式会社スリーボンド
硬化性樹脂組成物
1か月前
株式会社カネカ
硬化性組成物
2か月前
三洋化成工業株式会社
熱成形用樹脂組成物
1か月前
株式会社カネカ
硬化性組成物
1か月前
住友ベークライト株式会社
ポリマー
29日前
住友化学株式会社
樹脂組成物
1か月前
ノリタケ株式会社
担体構造体
1か月前
住友ベークライト株式会社
ポリマー
29日前
株式会社カネカ
シーリング材
1か月前
東ソー株式会社
温度応答性ビーズの製造方法
1か月前
ユニチカ株式会社
ポリアミド系樹脂フィルム
1か月前
株式会社村田製作所
樹脂組成物
3か月前
アキレス株式会社
燻蒸用生分解性樹脂シート
3か月前
続きを見る
他の特許を見る