TOP
|
特許
|
意匠
|
商標
意匠ウォッチ
Twitter
他の意匠を見る
発行日
2025-12-11
公報種別
意匠公報(S)
登録番号
1814646
登録日
2025-12-03
意匠に係る物品
包装用袋
意匠分類
F4
-420(包装紙、包装用容器等)
出願番号
2025013314
出願日
2025-07-03
意匠権者
東京アート株式会社
代理人
弁理士法人エピファニー特許事務所
意匠に係る物品の説明
本物品は、飲料用カップ等の収容物を包装して運搬するための包装用袋であり、薄い樹脂製シートにより形成されるものである。
意匠の説明
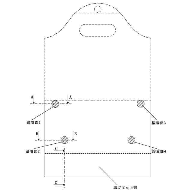
実線で表した部分が、部分意匠として意匠登録を受けようとする部分である。一点鎖線は、部分意匠として意匠登録を受けようとする部分とその他の部分との境界のみを示す線である。背面図は、正面図と対称に表れる。左側面図は、右側面図と対称に表れる。添付図面中、「参考正面図」は、「正面図」に各部の名称及び断面A-A、B-B、C-Cの位置を示したものである。断面A-Aは、参考正面図中の溶着部1の断面構造を説明するものであり、「参考正面図のA-A断面の端面拡大図」に構造が示されている。なお、溶着部3の構造は、「参考正面図のA-A断面の端面拡大図」と同方向から見た断面において、「参考正面図のA-A断面の端面拡大図」と対称に表れる。断面B-Bは、参考正面図中の溶着部2の断面構造を説明するものであり、「参考正面図のB-B断面の端面拡大図」に構造が示されている。なお、溶着部4の構造は、「参考正面図のB-B断面の端面拡大図」と同方向から見た断面において、「参考正面図のB-B断面の端面拡大図」と対称に表れる。溶着部1~4は、正面側及び背面側のシートが円形の領域で互いに溶着されており、正面図において左右方向の端縁から隔離した位置に配置されている。溶着部2及び4は、溶着部1及び3よりも内側に配置されている。断面C-Cは、参考正面図中の底ガゼット部の断面構造を説明するものであり、「参考正面図のC-C断面の端面拡大図」に構造が示されている。底ガゼット部は、正面側のシート及び背面側のシートの内側にシートが折り込まれるように形成されている。なお、断面A-A、B-B、C-Cの各端面拡大図は、各部寸法を誇張して表現している。「参考正面図」の左右方向の両端縁は、溶着部であり、正面側のシート及び背面側のシートが互いに溶着されている。また、底ガゼット部が形成されている部分は、底ガゼット部の左右方向の両端縁も、正面側のシート及び背面側のシートともに溶着されている。本物品は、使用状態の参考図に図示するとおり、飲料用カップ等の収容物を底部のガゼット部を拡張した状態で収納して包装する包装用袋であり、溶着部1~4によって収容部の側面を保持する。また、溶着部1~4と「参考正面図」の左右方向の両端縁との間にも細長い物を差し込める領域が形成される。
この意匠をJ-PlatPat(特許庁公式サイト)で参照する
関連意匠
他の意匠を見る