TOP
|
特許
|
意匠
|
商標
意匠ウォッチ
Twitter
他の意匠を見る
発行日
2025-12-09
公報種別
意匠公報(S)
登録番号
1814378
登録日
2025-12-01
意匠に係る物品
建築用パネル
意匠分類
L6
-100(建築用内外装材)
出願番号
2025003992
出願日
2025-02-28
意匠権者
株式会社竣栄工業
代理人
個人
,
個人
,
個人
,
個人
,
個人
,
個人
,
個人
意匠に係る物品の説明
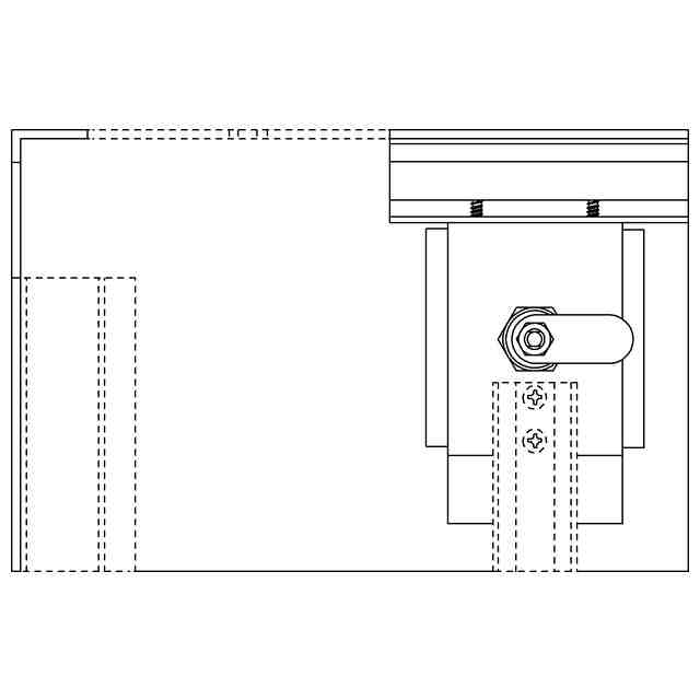
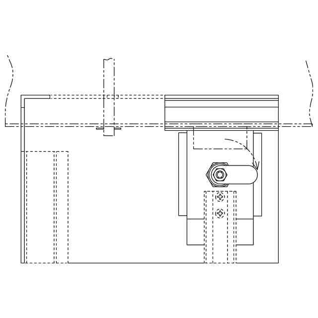
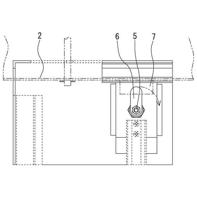
本物品は、建造物の天井面や壁面等を構成する建築用パネルである。この建築用パネルは、左右のレール2に沿って設置され、「パネルの開閉状態を表す参考図」、「パネル閉状態のヒンジ部を表す参考図」及び「パネル開状態のヒンジ部を表す参考図」に示すように、パネル1を長孔4内のシャフト3を中心に回動させることで開閉が可能である。パネル1の背面側には、パネルの閉状態を保持するためのロック機構が設置される。このロック機構には軸5を中心に回転する係止部材6が設けられる。「ロック状態を表す参考図」は、係止部材6が突出し受け部7に係合してパネル1が閉状態に保持される状態を示す。「ロック解除状態を表す参考図」は、係止部材6をロック機構内に収納して係合状態を解除し、パネル1を開くことができる状態を示す。係止部材6は「キーによる開閉操作を表す参考図」に示すように、軸5に差し込まれたキー8の操作により回転する。
意匠の説明
実線で表した部分が、部分意匠として意匠登録を受けようとする部分である。一点鎖線は、部分意匠として意匠登録を受けようとする部分とその他の部分との境界のみを示す線である。底面図は平面図と対称のため省略する。
この意匠をJ-PlatPat(特許庁公式サイト)で参照する
関連意匠
株式会社竣栄工業
建築用パネル
1日前
株式会社竣栄工業
建築用パネル
7か月前
株式会社竣栄工業
建築用パネルの補強具
9か月前
伊山瓦協業組合
瓦
3か月前
ケイミュー株式会社
壁板
21日前
ケイミュー株式会社
壁板
6か月前
天龍木材株式会社
壁板
6か月前
積水化学工業株式会社
床材
13日前
ケイミュー株式会社
壁板
5か月前
ケイミュー株式会社
壁板
5か月前
ケイミュー株式会社
壁板
5か月前
ケイミュー株式会社
壁板
5か月前
ケイミュー株式会社
壁板
5か月前
ケイミュー株式会社
壁板
5か月前
ケイミュー株式会社
壁板
5か月前
ケイミュー株式会社
壁板
5か月前
ケイミュー株式会社
壁板
6か月前
ケイミュー株式会社
壁板
2か月前
ケイミュー株式会社
壁板
6か月前
積水化学工業株式会社
床材
3か月前
田渕石材株式会社
板材
10か月前
ケイミュー株式会社
棟包
3か月前
有限会社大村スチール
壁板
5か月前
積水化学工業株式会社
床材
3か月前
三菱鉛筆株式会社
装飾板
3か月前
アイジー工業株式会社
壁板材
5か月前
三菱鉛筆株式会社
装飾板
3か月前
アイジー工業株式会社
壁板材
26日前
アイジー工業株式会社
壁板材
26日前
株式会社サンゲツ
タイル
11か月前
株式会社サンゲツ
タイル
11か月前
YKK AP株式会社
屋根材
8か月前
株式会社サンゲツ
タイル
7か月前
株式会社サンゲツ
タイル
11か月前
YKK AP株式会社
屋根材
8か月前
株式会社サンゲツ
タイル
7か月前
続きを見る
他の意匠を見る